TOP
|
特許
|
意匠
|
商標
特許ウォッチ
Twitter
他の特許を見る
10個以上の画像は省略されています。
公開番号
2025162896
公報種別
公開特許公報(A)
公開日
2025-10-28
出願番号
2024066395
出願日
2024-04-16
発明の名称
ガスタービンエンジン
出願人
川崎重工業株式会社
代理人
個人
,
個人
主分類
F02C
7/14 20060101AFI20251021BHJP(燃焼機関;熱ガスまたは燃焼生成物を利用する機関設備)
要約
【課題】ガスタービンエンジンの姿勢の変化に対応して、被冷却流体に対する冷却性能の低下を軽減できる。
【解決手段】ガスタービンエンジン100は、回転軸Xを囲むケーシング6と、作動流体を封入し、液相の作動流体の少なくとも一部を気体に変化させる蒸発部310,320と、気相の作動流体を液体に変化させる凝縮部313,323と、を含む第1ヒートパイプ31及び第2ヒートパイプ32と、被冷却流体が流入し、第1ヒートパイプ31の蒸発部310に被冷却流体を熱的に接触させる第1熱交換器41と、被冷却流体が流入し、第2ヒートパイプ32の蒸発部320に被冷却流体を熱的に接触させる第2熱交換器42と、を備え、第1ヒートパイプ31及び第2ヒートパイプ32は、ケーシング6に設けられ、回転軸Xを中心とした周方向の異なる位置に配置されている。
【選択図】図2
特許請求の範囲
【請求項1】
回転軸を囲むケーシングと、
作動流体を封入し、液相の前記作動流体の少なくとも一部を気体に変化させる蒸発部と、気相の前記作動流体を液体に変化させる凝縮部と、を含む第1ヒートパイプ及び第2ヒートパイプと、
被冷却流体が流入し、前記第1ヒートパイプの前記蒸発部に前記被冷却流体を熱的に接触させる第1熱交換器と、
被冷却流体が流入し、前記第2ヒートパイプの前記蒸発部に前記被冷却流体を熱的に接触させる第2熱交換器と、を備え、
前記第1ヒートパイプ及び前記第2ヒートパイプは、前記ケーシングに設けられ、前記回転軸を中心とした周方向の異なる位置に配置されているガスタービンエンジン。
続きを表示(約 1,000 文字)
【請求項2】
請求項1に記載のガスタービンエンジンにおいて、
前記第1ヒートパイプ及び前記第2ヒートパイプは、前記ケーシングの外周面に配置されているガスタービンエンジン。
【請求項3】
請求項1に記載のガスタービンエンジンにおいて、
前記第1ヒートパイプ及び前記第2ヒートパイプは、前記ケーシングに一体化されているガスタービンエンジン。
【請求項4】
請求項2又は3に記載のガスタービンエンジンにおいて、
前記第1ヒートパイプ及び前記第2ヒートパイプは、前記ケーシングに沿って湾曲した偏平形状であるガスタービンエンジン。
【請求項5】
請求項3に記載のガスタービンエンジンにおいて、
前記ケーシングは、円筒状の壁部を含み、
前記第1ヒートパイプ及び前記第2ヒートパイプは、前記壁部の内部に埋め込まれているガスタービンエンジン。
【請求項6】
請求項1に記載のガスタービンエンジンにおいて、
前記第1熱交換器及び前記第2熱交換器は、前記周方向において前記第1ヒートパイプと前記第2ヒートパイプとの間に位置するガスタービンエンジン。
【請求項7】
請求項1に記載のガスタービンエンジンにおいて、
前記第1熱交換器は、前記第1ヒートパイプよりも前記回転軸を中心とした径方向の内側に位置するガスタービンエンジン。
【請求項8】
請求項1に記載のガスタービンエンジンにおいて、
前記第1ヒートパイプが前記第2ヒートパイプよりも重力方向の上方に位置するように前記ガスタービンエンジンを置いたとき、前記第1熱交換器及び前記第2熱交換器は、前記第1ヒートパイプよりも低く且つ前記第2ヒートパイプよりも高い位置にあるガスタービンエンジン。
【請求項9】
請求項1に記載のガスタービンエンジンにおいて、
前記第1ヒートパイプ及び前記第2ヒートパイプを含む複数のヒートパイプを備え、
前記複数のヒートパイプは、前記周方向において、前記回転軸を中心とした中心角度が等間隔となるように配置されているガスタービンエンジン。
【請求項10】
請求項1に記載のガスタービンエンジンにおいて、
前記第1ヒートパイプの前記蒸発部及び前記第2ヒートパイプの前記蒸発部は、それぞれ、前記回転軸に沿って並んで配置された第1蒸発部及び第2蒸発部を含むガスタービンエンジン。
発明の詳細な説明
【技術分野】
【0001】
ここに開示された技術は、ガスタービンエンジンに関する。
続きを表示(約 1,800 文字)
【背景技術】
【0002】
従来より、航空機等の動力源として用いられるガスタービンエンジンが知られている。例えば、特許文献1に開示されたガスタービンエンジンは、ガスタービンエンジンの部品に供給されるオイルを冷却する冷却装置を備えている。
【先行技術文献】
【特許文献】
【0003】
特開2018-189091号公報
【発明の概要】
【発明が解決しようとする課題】
【0004】
ところで、前述のようなガスタービンエンジンでは、冷却装置は、熱交換器を含む。熱交換器は、流入したオイル等の被冷却流体を冷媒と熱的に接触させて被冷却流体を冷却する。冷媒は、例えば、蒸発器及び凝縮器を含む冷媒回路を循環する。冷媒は、蒸発器により液相から気相に変化し、凝縮器により気相から液相に変化する。つまり、熱交換器は、被冷却流体を蒸発器に熱的に接触させて被冷却流体の熱を冷媒に与えて被冷却流体を冷却する。
【0005】
ここで、ガスタービンエンジンを航空機に搭載する場合、飛行中の航空機の姿勢は変化するため、ガスタービンエンジンの姿勢も変化する。ガスタービンエンジンの姿勢によっては、液相の冷媒は、重力の影響を受けて蒸発器に流入し難くなる虞がある。このとき、被冷却流体は、蒸発器において冷媒と熱交換され難くなって、被冷却流体に対する冷却性能が低下する。
【0006】
ここに開示された技術は、かかる点に鑑みてなされたものであり、その目的とするところは、ガスタービンエンジンの姿勢の変化に対応して、被冷却流体に対する冷却性能の低下を軽減することにある。
【課題を解決するための手段】
【0007】
ここに開示されたガスタービンエンジンは、回転軸を囲むケーシングと、作動流体を封入し、液相の前記作動流体の少なくとも一部を気体に変化させる蒸発部と、気相の前記作動流体を液体に変化させる凝縮部と、を含む第1ヒートパイプ及び第2ヒートパイプと、被冷却流体が流入し、前記第1ヒートパイプの前記蒸発部に前記被冷却流体を熱的に接触させる第1熱交換器と、被冷却流体が流入し、前記第2ヒートパイプの前記蒸発部に前記被冷却流体を熱的に接触させる第2熱交換器と、を備え、前記第1ヒートパイプ及び前記第2ヒートパイプは、前記ケーシングに設けられ、前記回転軸を中心とした周方向の異なる位置に配置されている。
【発明の効果】
【0008】
前記ガスタービンエンジンによれば、ガスタービンエンジンの姿勢の変化に対応して、被冷却流体に対する冷却性能の低下を軽減できる。
【図面の簡単な説明】
【0009】
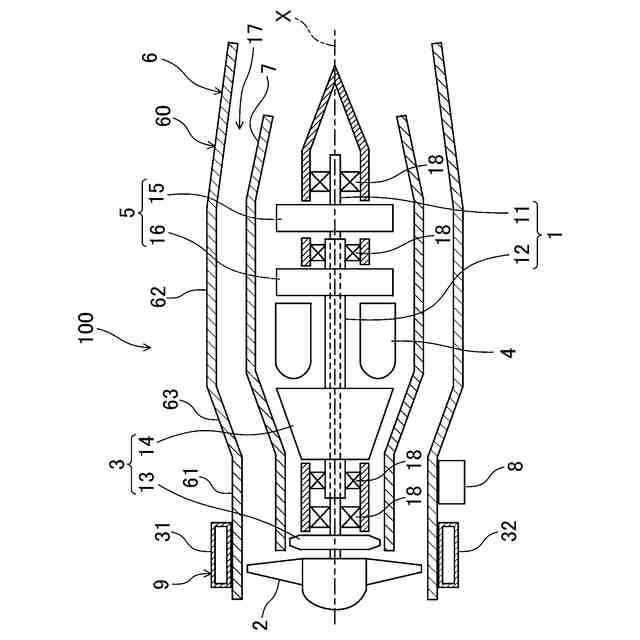
図1は、実施形態に係るガスタービンエンジンを示す概略断面図である。
図2は、ガスタービンエンジンの前方から見た正面図である。
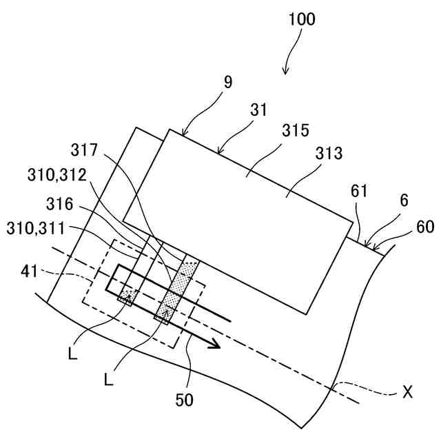
図3は、ガスタービンエンジンの側方から見た側面図である。
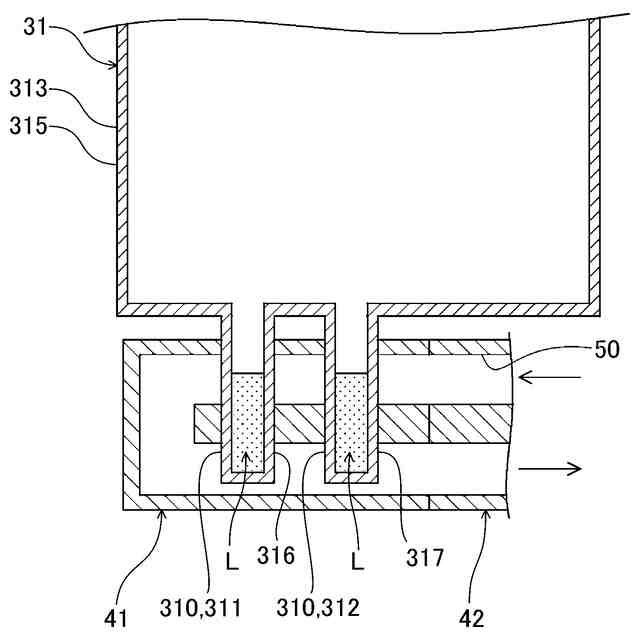
図4は、図2のIV-IV線の断面図である。
図5は、航空機の上下姿勢が通常の姿勢であるときのエンジンの状態を示す概略側面図である。
図6は、航空機の上下姿勢が上下逆転の姿勢であるときのエンジンの状態を示す概略側面図である。
図7は、航空機の傾斜姿勢が通常の姿勢であるときのエンジンの状態を示す概略側面図である。
図8は、航空機の傾斜姿勢が水平面に対して傾斜している姿勢であるときのエンジンの状態を示す概略側面図である。
図9は、変形例1に係るガスタービンエンジンの側方から見た側面図である。
図10は、変形例2に係るガスタービンエンジンの前方から見た正面図である。
図11は、図10のXI-XI線の断面図である。
図12は、変形例2に係るガスタービンエンジンの側方から見た側面図である。
図13は、被冷却流体の流路を示す概略図である。
【発明を実施するための形態】
【0010】
以下、例示的な実施形態を図面に基づいて詳細に説明する。図1は、実施形態に係るガスタービンエンジン100を示す概略断面図である。以下、ガスタービンエンジン100を単にエンジン100とも称する。エンジン100は、航空機用の2軸式のターボファンエンジンである。但し、エンジン100の形式及び用途は特に限定されない。
(【0011】以降は省略されています)
この特許をJ-PlatPat(特許庁公式サイト)で参照する
関連特許
川崎重工業株式会社
寝台
6日前
川崎重工業株式会社
圧縮機
4日前
川崎重工業株式会社
圧縮機
4日前
川崎重工業株式会社
液化空気保護装置
11日前
川崎重工業株式会社
基板搬送システム
4日前
川崎重工業株式会社
ロボットシステム
4日前
川崎重工業株式会社
寝台及び寝台セット
4日前
川崎重工業株式会社
多段ラジアルタービン
1か月前
川崎重工業株式会社
カーボンリサイクルシステム
5日前
川崎重工業株式会社
情報処理装置および情報提供方法
13日前
横浜ゴム株式会社
多層空洞音響材
1か月前
川崎重工業株式会社
可変静翼の制御装置および制御方法
4日前
川崎重工業株式会社
船舶用の寝台及び船舶用の寝台セット
4日前
川崎重工業株式会社
情報処理装置および情報処理装置の制御方法
11日前
川崎重工業株式会社
多段遠心圧縮機のケーシング、及び、多段遠心圧縮機
19日前
川崎重工業株式会社
二酸化炭素排出システム及び方法、並びに水中航走体
1か月前
川崎重工業株式会社
ロボット
1か月前
川崎重工業株式会社
ロボットシステム、ロボット制御方法及びロボット制御プログラム
今日
川崎重工業株式会社
モータ制御システム、ロボットシステム、および、モータ制御方法
13日前
川崎重工業株式会社
ロボットシステム
4日前
川崎重工業株式会社
ヘリウムリーク試験用治具およびそれを用いたヘリウムリーク試験方法
4日前
川崎重工業株式会社
ロボット移動システム、ロボット移動方法及びロボット移動プログラム
12日前
川崎重工業株式会社
ハンドのアクセス方法、ロボットシステム及びロボット制御プログラム
今日
富士通株式会社
情報処理プログラム、情報処理方法、および情報処理装置
6日前
川崎重工業株式会社
搬送システム及び判定方法
6日前
横浜ゴム株式会社
水中音響材の被取り付け面への取り付け構造および水中音響材
1か月前
川崎重工業株式会社
基板搬送システム及び基板搬送方法
4日前
川崎重工業株式会社
基板搬送システム及び基板搬送方法
4日前
株式会社Eサーモジェンテック
熱電発電システムの製造方法
1か月前
川崎重工業株式会社
手術支援ロボットシステムおよび手術支援ロボットの制御方法
4日前
川崎重工業株式会社
手術支援システム、手術支援システムの制御方法およびプログラム
25日前
横浜ゴム株式会社
水中音響材の被取り付け面への取り付け構造および水中構造体の被取り付け面を水中音響材で覆う構造ならびに水中音響材
1か月前
個人
擬似オイル発電装置
25日前
個人
ガバナー
12日前
スズキ株式会社
車両の制御装置
1か月前
ダイハツ工業株式会社
発電装置
20日前
続きを見る
他の特許を見る