TOP
|
特許
|
意匠
|
商標
特許ウォッチ
Twitter
他の特許を見る
公開番号
2025171690
公報種別
公開特許公報(A)
公開日
2025-11-20
出願番号
2024077281
出願日
2024-05-10
発明の名称
多段遠心圧縮機のケーシング、及び、多段遠心圧縮機
出願人
川崎重工業株式会社
代理人
弁理士法人有古特許事務所
主分類
F04D
29/44 20060101AFI20251113BHJP(液体用容積形機械;液体または圧縮性流体用ポンプ)
要約
【課題】多段遠心圧縮機のケーシングを鋳造により形成する場合において、作業負担の増大を防止しつつ、目的形状の流路をケーシング内部に形成可能にする。
【解決手段】
回転軸と、回転軸上に配置されて回転軸の軸線回りに回転駆動される複数のインペラとを含むロータを収容する多段遠心圧縮機のケーシングであって、ロータ収容空間を含み且つ一体的な鋳造体であるケーシング本体と、ケーシング本体に着脱自在に取り付けられるケーシング片と、ロータ収容空間に配置され且つインペラから回転軸の径方向外方に向けて流体を流通させるディフューザを通過した流体を、ロータの軸線回りに流通させるボリュートとを備える。ボリュートの流路が、ケーシング本体とケーシング片とにより画定されている。
【選択図】図1
特許請求の範囲
【請求項1】
回転軸と、前記回転軸上に配置されて前記回転軸の軸線回りに回転駆動される複数のインペラと、を含むロータを収容する多段遠心圧縮機のケーシングであって、
ロータ収容空間を含み且つ一体的な鋳造体であるケーシング本体と、
前記ケーシング本体に着脱自在に取り付けられるケーシング片と、
前記ロータ収容空間に配置され且つ前記インペラから前記回転軸の径方向外方に向けて流体を流通させるディフューザを通過した前記流体を、前記ロータの前記軸線回りに流通させるボリュートと、を備え、
前記ボリュートの流路が、前記ケーシング本体と前記ケーシング片とにより画定されている、多段遠心圧縮機のケーシング。
続きを表示(約 650 文字)
【請求項2】
前記ボリュートの前記ディフューザと接続される接続領域における流路が、前記ケーシング本体と前記ケーシング片とにより画定されている、請求項1に記載の多段遠心圧縮機のケーシング。
【請求項3】
前記ケーシング本体に前記ケーシング片が取り付けられた状態において、前記接続領域の最大流路断面積は、前記ボリュートの最大流路断面積よりも小さい、請求項2に記載の多段遠心圧縮機のケーシング。
【請求項4】
前記ケーシング本体は、前記ロータ収容空間の形状を画定する内壁を含み、
前記ケーシング片は、前記内壁に着脱自在に取り付けられている、請求項1に記載の多段遠心圧縮機のケーシング。
【請求項5】
回転軸と、前記回転軸上に配置されて前記回転軸の軸線回りに回転駆動される複数のインペラと、を含むロータと、
前記ロータ収容空間に配置され且つ前記インペラから前記回転軸の径方向外方に向けて流通させるディフューザと、
請求項1に記載のケーシングと、を備える、多段遠心圧縮機。
【請求項6】
前記ロータ収容空間に収容されて、前記複数のインペラの間に前記流体を流通させるダイヤフラムを更に備え、
前記ケーシング本体は、前記ロータ収容空間の形状を画定する内壁を含み、
前記ケーシング片は、前記ケーシング本体と前記ダイヤフラムとの前記回転軸の径方向の間で前記内壁に取り付けられている、請求項5に記載の多段遠心圧縮機。
発明の詳細な説明
【技術分野】
【0001】
本開示は、多段遠心圧縮機のケーシング、及び、多段遠心圧縮機に関する。
続きを表示(約 2,000 文字)
【背景技術】
【0002】
特許文献1に開示されるように、ケーシングと、ケーシング内に設けられた回転軸と、回転軸に固定された羽根車とを有する多段遠心圧縮機が知られている。特許文献1には、主流と注入流とを分離する仕切壁が、鋳造等によりケーシングと一体的に構成されることが記載されている。
【先行技術文献】
【特許文献】
【0003】
特開平9-144698号公報
【発明の概要】
【発明が解決しようとする課題】
【0004】
多段遠心圧縮機のケーシングを鋳造により製造する場合、例えば、鋳出したケーシングの内部に外部から工具を差し入れて、ケーシングの内部の流路が加工される。しかしながら、例えば、鋳造により一体的に形成されたケーシングの流路の狭い開口に、外部から工具を差し入れて、目的位置で流路を加工することが困難な場合がある。これにより、当該加工を行う際の作業負担が増大する。この問題に対し、例えばケーシングの流路の開口を予め広げようとする場合、目的形状とは異なる形状の流路がケーシングに形成されるおそれがある。
【0005】
そこで本開示は、多段遠心圧縮機のケーシングを鋳造により形成する場合において、作業負担の増大を防止しつつ、目的形状の流路をケーシング内部に形成可能にすることを目的としている。
【課題を解決するための手段】
【0006】
本開示の一態様は、回転軸と、前記回転軸上に配置されて前記回転軸の軸線回りに回転駆動される複数のインペラと、を含むロータを収容する多段遠心圧縮機のケーシングであって、ロータ収容空間を含み且つ一体的な鋳造体であるケーシング本体と、前記ケーシング本体に着脱自在に取り付けられるケーシング片と、前記ロータ収容空間に配置され且つ前記インペラから前記回転軸の径方向外方に向けて流体を流通させるディフューザを通過した前記流体を、前記ロータの前記軸線回りに流通させるボリュートと、を備え、前記ボリュートの流路が、前記ケーシング本体と前記ケーシング片とにより画定されている。
【発明の効果】
【0007】
本開示の一態様によれば、多段遠心圧縮機のケーシングを鋳造により形成する場合において、作業負担の増大を防止しつつ、目的形状の流路をケーシング内部に形成できる。
【図面の簡単な説明】
【0008】
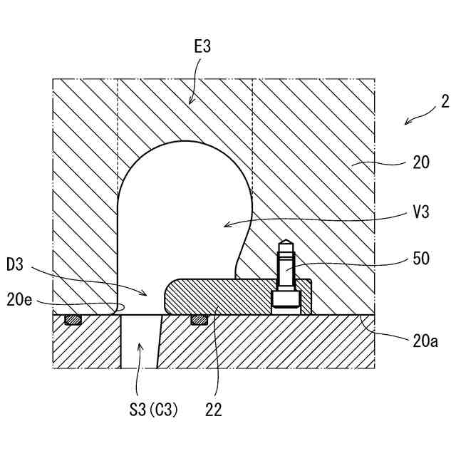
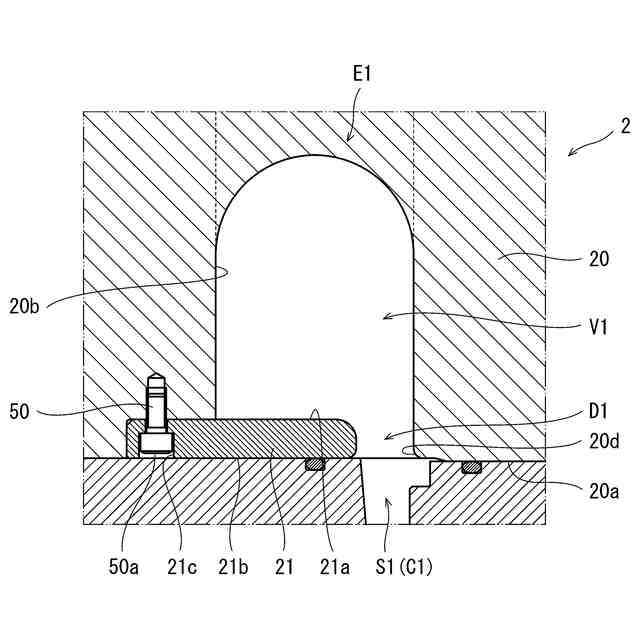
図1は、実施形態に係る遠心圧縮機の部分断面図である。
図2は、図1の回転軸の径方向から見たケーシングの第1ボリュートとその周辺の構成を示す拡大断面図である。
図3は、図1の回転軸の径方向から見たケーシングの第2ボリュートとその周辺の構成を示す拡大断面図である。
図4は、図1の回転軸の径方向から見たケーシングの第3ボリュートとその周辺の構成を示す拡大断面図である。
図5は、図1の回転軸の軸方向から見た遠心圧縮機の第1ボリュートとその周辺の構成を示す部分断面図である。
図6は、変形例に係るケーシング片を示す、回転軸の径方向から見たケーシングの拡大断面図である。
【発明を実施するための形態】
【0009】
以下、図面を参照して実施形態を説明する。以下に記載する「軸線方向」とは、ロータ3の回転軸Pの軸線X方向を指し、「径方向」とは、当該回転軸Pの径方向を指す。また、以下に記載する「ボリュート」は、「スクロール」とも称する。
(実施形態)
図1は、第1実施形態に係る遠心圧縮機1の部分断面図である。図1では、回転軸Pの径方向から見た遠心圧縮機1の断面を示す。本実施形態の遠心圧縮機1は、一例として一軸多段遠心圧縮機である。本実施形態の遠心圧縮機1は、外部から供給される流体を、遠心力により圧縮して排出した後、所定のノズルに供給する。遠心圧縮機1に供給される流体は、一例として気体である。当該気体としては、例えば水素含有ガスが挙げられる。遠心圧縮機1に供給される流体の種類は、限定されない。
【0010】
後述するように、遠心圧縮機1は、第1~第6インペラI1~I6を通過した流体を圧縮して、第1~第6インペラI1~I6から回転軸Pの径方向外方に向けて流通させる第1~第3ディフューザC1~C3と、第1~第3ディフューザC1~C3を通過した流体を、ロータ3の軸線回りに流通させる第1~第3ボリュートV1~V3とを備える。ケーシング2に形成された流体の流路の一部である第1~第3ボリュートV1~V3の流路は、ケーシング本体20とケーシング片21~23とにより画定されている。言い換えると、第1~第3ボリュートV1~V3の流路形状は、ケーシング本体20とケーシング片21~23との表面形状により設定されている。
(【0011】以降は省略されています)
この特許をJ-PlatPat(特許庁公式サイト)で参照する
関連特許
川崎重工業株式会社
ハンド
1か月前
川崎重工業株式会社
断熱配管
1か月前
川崎重工業株式会社
水中構造体
22日前
川崎重工業株式会社
監視システム
1か月前
川崎重工業株式会社
塗装システム
1か月前
川崎重工業株式会社
配管の支持構造
1か月前
川崎重工業株式会社
遠心式ターボ機械
21日前
川崎重工業株式会社
ロボットシステム
1か月前
川崎重工業株式会社
ロボットシステム
1か月前
川崎重工業株式会社
ワーク搬送ロボット
1か月前
川崎重工業株式会社
多段遠心ターボ機械
27日前
川崎重工業株式会社
バーナおよび燃焼器
22日前
川崎重工業株式会社
廃棄物処理システム
1か月前
川崎重工業株式会社
ダイクッション装置
21日前
川崎重工業株式会社
多段ラジアルタービン
13日前
川崎重工業株式会社
ガスタービンエンジン
23日前
川崎重工業株式会社
航空機の電気機械システム
23日前
川崎重工業株式会社
支援システムおよび支援方法
1か月前
株式会社キッツ
逆流防止弁
1か月前
川崎重工業株式会社
クローズドインペラの製造方法
24日前
川崎重工業株式会社
経路作成方法及び経路作成装置
1か月前
川崎重工業株式会社
付加製造方法及び付加製造装置
21日前
川崎重工業株式会社
付加製造方法及び付加製造装置
21日前
川崎重工業株式会社
アンモニア回収システム及び方法
1か月前
川崎重工業株式会社
熱交換器の製造方法及び熱交換器
21日前
横浜ゴム株式会社
多層空洞音響材
13日前
川崎重工業株式会社
多段遠心圧縮機および圧縮機システム
21日前
川崎重工業株式会社
手術支援システムおよび手術支援方法
1か月前
川崎重工業株式会社
ロボットハンドおよびロボットシステム
1か月前
川崎重工業株式会社
手術ロボットシステムおよびその制御方法
1か月前
川崎重工業株式会社
手術ロボットシステムおよびその制御方法
1か月前
川崎重工業株式会社
手術ロボットシステムおよびその制御方法
1か月前
川崎重工業株式会社
手術ロボットシステムおよびその制御方法
1か月前
川崎重工業株式会社
廃棄物処理システムおよび廃棄物用振動装置
23日前
川崎重工業株式会社
ワーク搬送ロボットおよびロボット制御方法
1か月前
川崎重工業株式会社
船舶の推進システム、制御プログラムおよび制御方法
1か月前
続きを見る
他の特許を見る