TOP
|
特許
|
意匠
|
商標
特許ウォッチ
Twitter
他の特許を見る
10個以上の画像は省略されています。
公開番号
2025154958
公報種別
公開特許公報(A)
公開日
2025-10-10
出願番号
2024058270
出願日
2024-03-29
発明の名称
ワーク搬送ロボットおよびロボット制御方法
出願人
川崎重工業株式会社
代理人
個人
,
個人
主分類
B25J
15/08 20060101AFI20251002BHJP(手工具;可搬型動力工具;手工具用の柄;作業場設備;マニプレータ)
要約
【課題】複数の位置を検出する場合にもロボットアーム部に取り付けられる構成が大型化することを抑制可能なワーク搬送ロボットおよびロボット制御方法を提供する。
【解決手段】この基板搬送ロボット100は、ロボットアーム部と、ロボットアーム部に取り付けられ、基板300を保持するハンド50と、ロボットアーム部に取り付けられ、検出対象の位置を検出するセンサ部70と、センサ部70と一体的に配置され、センサ部70の向きおよび位置の少なくとも一方を変更する方向転換機構80と、を備える。
【選択図】図3
特許請求の範囲
【請求項1】
ロボットアーム部と、
前記ロボットアーム部に取り付けられ、ワークを保持するワーク保持ハンドと、
前記ロボットアーム部に取り付けられ、前記ワークが載置されるワーク載置部を含む検出対象の位置を検出するセンサ部と、
前記センサ部と一体的に配置され、前記センサ部の向きおよび位置の少なくとも一方を変更するセンサ移動機構と、を備える、ワーク搬送ロボット。
続きを表示(約 1,800 文字)
【請求項2】
前記センサ部は、検出光を照射するとともに前記検出光を受光することによって、前記検出対象の位置を検出する、請求項1に記載のワーク搬送ロボット。
【請求項3】
前記センサ部は、前記検出対象における検出面の3次元的な位置を検出するために、前記センサ移動機構により向きおよび位置の少なくとも一方が変更されながら、前記検出対象の前記検出面における互いに異なる3つの位置に対して前記検出光を照射する、請求項2に記載のワーク搬送ロボット。
【請求項4】
前記ワーク保持ハンドに配置され、前記センサ部から照射された前記検出光を前記検出対象に向かって反射するとともに、前記検出対象から反射された前記検出光を前記センサ部に向かって反射するミラー部をさらに備え、
前記センサ移動機構は、前記ミラー部に向かう第1の方向と前記検出対象に向かう第2の方向とに前記センサ部の向きを変更する、請求項2または3に記載のワーク搬送ロボット。
【請求項5】
前記センサ部は、前記ワークを前記ワーク載置部に載置する場合と、前記ワークを前記ワーク載置部から取り出す場合との少なくとも一方において、前記センサ移動機構により向きおよび位置の少なくとも一方が変更されながら、前記検出対象の位置を検出する、請求項1~3のいずれか1項に記載のワーク搬送ロボット。
【請求項6】
前記ロボットアーム部が載置される自走式台車と、
前記ワーク保持ハンド、前記ロボットアーム部、および、前記自走式台車の動作を制御する制御部と、をさらに備え、
前記制御部は、
前記ワークに対して処理を行う処理装置まで前記自走式台車を移動させ、
前記センサ移動機構により前記センサ部の向きおよび位置の少なくとも一方を変更し、
前記センサ部からの検出結果に基づいて、前記処理装置の前記ワーク載置部に前記ワークを載置することと、前記処理装置の前記ワーク載置部に載置された前記ワークを取り出すこととの少なくとも一方を行うように、前記ワーク保持ハンドおよび前記ロボットアーム部の動作を制御する、請求項5に記載のワーク搬送ロボット。
【請求項7】
前記センサ部は、前記ワークに対して処理を行う処理装置により処理が行われる前の前記ワークを、前記ワークの供給位置から移動させる場合において、前記センサ移動機構により向きおよび位置の少なくとも一方が変更されながら、前記供給位置に配置された前記ワークの位置を検出する、請求項1~3のいずれか1項に記載のワーク搬送ロボット。
【請求項8】
前記センサ部は、前記ワークに対して処理を行う処理装置により処理が行われた後の前記ワークを、前記ワークの排出位置に移動させる場合において、前記センサ移動機構により向きおよび位置の少なくとも一方が変更されながら、前記ワークが載置される前記排出位置を含む前記検出対象の位置を検出する、請求項1~3のいずれか1項に記載のワーク搬送ロボット。
【請求項9】
前記ワーク保持ハンドが交換可能に取り付けられるツール取り付け部をさらに備え、
前記ロボットアーム部は、前記ツール取り付け部を介して前記ワーク保持ハンドが取り付けられ、
前記センサ部および前記センサ移動機構は、前記ツール取り付け部を介して前記ロボットアーム部に取り付けられている、請求項1~3のいずれか1項に記載のワーク搬送ロボット。
【請求項10】
前記ワークに対して処理を行うための処理部材を収納する処理部材カートリッジを保持するカートリッジ保持ハンドをさらに備え、
前記ツール取り付け部は、前記ワーク保持ハンド、および、前記カートリッジ保持ハンドのいずれかが交換可能に取り付けられ、
前記ロボットアーム部は、前記ツール取り付け部を介して前記カートリッジ保持ハンドおよび前記ワーク保持ハンドのいずれかが取り付けられ、
前記センサ部は、前記ワークに対して処理を行う処理装置において前記処理部材カートリッジが載置されるカートリッジ載置部を含む前記検出対象の位置を検出する、請求項9に記載のワーク搬送ロボット。
(【請求項11】以降は省略されています)
発明の詳細な説明
【技術分野】
【0001】
この開示は、ワーク搬送ロボットおよびロボット制御方法に関する。
続きを表示(約 1,600 文字)
【背景技術】
【0002】
従来、ワーク搬送ロボットが開示されている。特許文献1には、工業用ロボットが開示されている。工業用ロボットは、ワーク保持装置を備えている。ワーク保持装置は、ワークとなるガラス基板を保持する。
【先行技術文献】
【特許文献】
【0003】
特開平5-154431号公報
【発明の概要】
【発明が解決しようとする課題】
【0004】
ここで、上記特許文献1に記載の工業用ロボットのように、ワークとなる基板を保持することによってワークを搬送する場合には、ロボットアーム部と、ロボットアーム部に取り付けられたワーク保持ハンドとを動作させることによって、ワークを搬送する。その場合に、ワークが載置されるワーク載置部を含む検出対象を検出するためのセンサ部を、ワーク保持ハンドと共にロボットアーム部に取り付けることが考えられる。しかしながら、検出対象における複数の位置を検出する場合には、複数のセンサ部を取り付けることに起因して、ロボットアーム部に取り付けられる構成が大型化する。
【0005】
この開示は、上記のような課題を解決するためになされたものであり、この開示の1つの目的は、複数の位置を検出する場合にもロボットアーム部に取り付けられる構成が大型化することを抑制可能なワーク搬送ロボットおよびロボット制御方法を提供することである。
【課題を解決するための手段】
【0006】
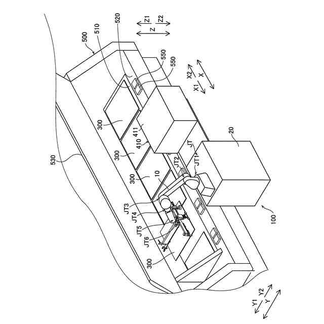
この開示の第1の局面によるワーク搬送ロボットは、ロボットアーム部と、ロボットアーム部に取り付けられ、ワークを保持するワーク保持ハンドと、ロボットアーム部に取り付けられ、ワークが載置されるワーク載置部を含む検出対象の位置を検出するセンサ部と、センサ部と一体的に配置され、センサ部の向きおよび位置の少なくとも一方を変更するセンサ移動機構と、を備える。
【0007】
この開示の第1の局面によるワーク搬送ロボットは、上記のように、センサ部と一体的に配置され、センサ部の向きおよび位置の少なくとも一方を変更するセンサ移動機構を備える。これにより、センサ移動機構によってセンサ部の向きおよび位置の少なくとも一方を変更することによって、複数のセンサ部を配置することなく、検出対象における複数の位置を検出できる。その結果、複数の位置を検出する場合にもロボットアーム部に取り付けられる構成が大型化することを抑制できる。
【0008】
この開示の第2の局面によるロボット制御方法は、センサ部と一体的にロボットアーム部に取り付けられたセンサ移動機構により、センサ部の向きおよび位置の少なくとも一方を変更することと、ワークが載置されるワーク載置部を含む検出対象の位置をセンサ部により検出することと、検出された検出対象の位置に基づいて、ロボットアーム部を動作させることと、を備える。
【0009】
この開示の第2の局面によるロボット制御方法は、上記のように、センサ部と一体的にロボットアーム部に取り付けられたセンサ移動機構により、センサ部の向きおよび位置の少なくとも一方を変更する。これにより、センサ移動機構によってセンサ部の向きおよび位置の少なくとも一方を変更することによって、複数のセンサ部を配置することなく、検出対象における複数の位置を検出できる。その結果、複数の位置を検出する場合にもロボットアーム部に取り付けられる構成が大型化することを抑制可能なロボット制御方法を提供できる。
【発明の効果】
【0010】
本開示によれば、複数の位置を検出する場合にもロボットアーム部に取り付けられる構成が大型化することを抑制できる。
【図面の簡単な説明】
(【0011】以降は省略されています)
この特許をJ-PlatPat(特許庁公式サイト)で参照する
関連特許
川崎重工業株式会社
水中構造体
28日前
川崎重工業株式会社
遠心式ターボ機械
27日前
川崎重工業株式会社
バーナおよび燃焼器
28日前
川崎重工業株式会社
多段遠心ターボ機械
1か月前
川崎重工業株式会社
ダイクッション装置
27日前
川崎重工業株式会社
ガスタービンエンジン
29日前
川崎重工業株式会社
多段ラジアルタービン
19日前
川崎重工業株式会社
航空機の電気機械システム
29日前
川崎重工業株式会社
クローズドインペラの製造方法
1か月前
川崎重工業株式会社
付加製造方法及び付加製造装置
27日前
川崎重工業株式会社
付加製造方法及び付加製造装置
27日前
川崎重工業株式会社
情報処理装置および情報提供方法
今日
川崎重工業株式会社
熱交換器の製造方法及び熱交換器
27日前
横浜ゴム株式会社
多層空洞音響材
19日前
川崎重工業株式会社
多段遠心圧縮機および圧縮機システム
27日前
川崎重工業株式会社
廃棄物処理システムおよび廃棄物用振動装置
29日前
川崎重工業株式会社
多段遠心圧縮機のケーシング、及び、多段遠心圧縮機
6日前
川崎重工業株式会社
基板搬送ロボットおよび基板搬送ロボットの制御方法
27日前
川崎重工業株式会社
二酸化炭素排出システム及び方法、並びに水中航走体
22日前
川崎重工業株式会社
レーダ反射断面積切換装置及びレーダ反射断面積切換方法
27日前
川崎重工業株式会社
ロボット
21日前
川崎重工業株式会社
モータ制御システム、ロボットシステム、および、モータ制御方法
今日
川崎重工業株式会社
学習済モデルの構築方法
26日前
川崎重工業株式会社
水素航空機の燃料供給システム
1か月前
横浜ゴム株式会社
水中音響材の被取り付け面への取り付け構造および水中音響材
19日前
株式会社Eサーモジェンテック
熱電発電システムの製造方法
19日前
川崎重工業株式会社
手術支援システム、手術支援システムの制御方法およびプログラム
12日前
横浜ゴム株式会社
水中音響材の被取り付け面への取り付け構造および水中構造体の被取り付け面を水中音響材で覆う構造ならびに水中音響材
19日前
個人
フラワーホッチキス。
1か月前
個人
手持ち挟持具
21日前
川崎重工業株式会社
ロボット
1か月前
株式会社不二越
ロボット
1か月前
株式会社竹中工務店
補助セット
1か月前
トヨタ自動車株式会社
学習装置
6日前
川崎重工業株式会社
ハンド
1か月前
株式会社マキタ
ハンマドリル
1か月前
続きを見る
他の特許を見る