TOP
|
特許
|
意匠
|
商標
特許ウォッチ
Twitter
他の特許を見る
公開番号
2025167113
公報種別
公開特許公報(A)
公開日
2025-11-07
出願番号
2024071432
出願日
2024-04-25
発明の名称
水中音響材の被取り付け面への取り付け構造および水中音響材
出願人
横浜ゴム株式会社
,
川崎重工業株式会社
代理人
個人
主分類
B63G
8/39 20060101AFI20251030BHJP(船舶またはその他の水上浮揚構造物;関連艤装品)
要約
【課題】音響性能の向上を図りつつ取り付け作業の効率化を図る上で有利な水中音響材の被取り付け面への取り付け構造および水中音響材を提供する。
【解決手段】被取り付け面12に第1水中音響材14Aと第2水中音響材14Bとが縦横において交互に並べられることで、各傾斜面部26の傾斜面1410が接続する表面1404の一辺に対向する一辺に向けて各傾斜面部26が弾性変形し、第2水中音響材14Bの表面1404において溝部24が閉塞され、隣り合う第1水中音響材14Aの表面1404の4辺と第2水中音響材14Bの表面1404の4辺どうしが密着する。
【選択図】図2
特許請求の範囲
【請求項1】
弾性材料からなる板状を呈し、その厚さ方向の両面のうちの一方の面である矩形の裏面が、水中構造体の被取り付け面に取り付けられ縦横に並べられて配置される水中音響材の被取り付け面への取り付け構造であって、
前記水中音響材の前記裏面と反対に位置する矩形の表面から前記厚さ方向の少なくとも中間部分までを前記表面の一辺と平行する仮想線で前記厚さ方向に切断した断面形状は、前記水中音響材の表面を下底とし前記切断した箇所を上底とした台形状を呈し、
前記水中音響材は、前記厚さ方向の前記中間部分を前記表面と平行する仮想面で切断した形状である矩形の切断面の4辺と、前記表面の4辺とを接続する4つの傾斜面とを備え、
前記表面の各辺に接続する前記傾斜面を有する前記水中音響材の部分である4つの傾斜面部が設けられ、
前記各傾斜面部の前記傾斜面が接続する前記表面の一辺に対向する一辺に向けての前記各傾斜面部の弾性変形を許容する溝部が前記表面に形成され、
前記水中音響材は、前記被取り付け面に縦横に並べられ、前記傾斜面どうしが密着することで前記傾斜面部が弾性変形し前記水中音響材の前記表面において前記溝部が閉塞されると共に、隣り合う前記水中音響材の前記表面の4辺どうしが密着する、
ことを特徴とする水中音響材の被取り付け面への取り付け構造。
続きを表示(約 2,500 文字)
【請求項2】
前記水中音響材の前記表面から前記裏面までを前記水中音響材を前記表面の一辺と平行する仮想線で前記厚さ方向に切断した断面形状は、前記水中音響材の表面を下底とし前記裏面を上底とした台形状を呈し、
前記水中音響材は、前記裏面の4辺と、前記表面の4辺とを接続する4つの傾斜面とを備えている、
ことを特徴とする請求項1記載の水中音響材の被取り付け面への取り付け構造。
【請求項3】
前記水中音響材の前記表面から前記厚さ方向の中間部分までを前記表面の一辺と平行する仮想線で前記厚さ方向に切断した断面形状は、前記水中音響材の表面を下底とし前記切断した箇所を上底とした台形状を呈する音響材上部として形成され、
前記中間部分から前記裏面までは、前記音響材上部の下端の矩形と同一形状の均一な水平断面で前記中間部分から前記裏面まで延在する矩形柱状の音響材下部として形成されている、
ことを特徴とする請求項1記載の水中音響材の被取り付け面への取り付け構造。
【請求項4】
弾性材料からなる板状を呈し、その厚さ方向の両面のうちの一方の面である矩形の裏面が、水中構造体の被取り付け面に取り付けられ縦横に並べられて配置される水中音響材の被取り付け面への取り付け構造であって、
前記矩形の前記裏面と、前記裏面と反対に位置する前記裏面と同一形状の矩形の表面と、それら裏面の4辺と表面の4辺を接続する4つの側面を有する第1水中音響材を複数設け、
前記矩形の前記裏面と、前記裏面と反対に位置する前記裏面よりも大きい矩形の表面とを有し、前記表面から少なくとも前記厚さ方向の中間部分までを前記表面の一辺と平行する仮想線で前記厚さ方向に切断した断面形状が、前記表面を下底とし前記切断した箇所を上底とした台形状を呈する第2水中音響材を複数設け、
前記第2水中音響材は、前記厚さ方向の前記中間部分を前記表面と平行する仮想面で切断した形状である矩形の切断面の4辺と、前記表面の4辺とを接続する4つの傾斜面とを備え、
前記表面の各辺に接続する前記傾斜面を有する前記水中音響材の部分である4つの傾斜面部が設けられ、
前記各傾斜面部の前記傾斜面が接続する前記表面の一辺に対向する一辺に向けての前記各傾斜面部の弾性変形を許容とする溝部が前記表面に形成され、
前記被取り付け面に前記第1水中音響材と前記第2水中音響材とが縦横において交互に並べられ、前記第1水中音響材の側面と隣り合う前記第2水中音響材の傾斜面とが密着することで前記傾斜面部が弾性変形し前記第2水中音響材の前記表面において前記溝部が閉塞されると共に、隣り合う前記第1水中音響材と前記第2水中音響材の前記表面の4辺どうしが密着する、
ことを特徴とする水中音響材の被取り付け面への取り付け構造。
【請求項5】
前記第2水中音響材の前記表面から前記裏面までを前記表面の一辺と平行する仮想線で前記厚さ方向に切断した断面形状は、前記第2水中音響材の表面を下底とし前記裏面を上底とした台形状を呈し、
前記第2水中音響材は、前記裏面の4辺と、前記表面の4辺とを接続する4つの傾斜面とを備えている、
ことを特徴とする請求項4記載の水中音響材の被取り付け面への取り付け構造。
【請求項6】
前記第2水中音響材の前記表面から前記厚さ方向の中間部分までを前記表面の一辺と平行する仮想線で前記厚さ方向に切断した断面形状は、前記水中音響材の表面を下底とし前記切断した箇所を上底とした台形状を呈する音響材上部として形成され、
前記中間部分から前記裏面までは、前記音響材上部の下端の矩形と同一形状の均一な水平断面で前記中間部分から前記裏面まで延在する矩形柱状の音響材下部として形成されている、
ことを特徴とする請求項4記載の水中音響材の被取り付け面への取り付け構造。
【請求項7】
前記溝部は、前記表面の4辺の近傍箇所でそれぞれ前記4辺に平行しそれら4辺の全長にわたって延在形成されている、
ことを特徴とする請求項1~6の何れか1項記載の水中音響材の被取り付け面への取り付け構造。
【請求項8】
前記溝部は、前記表面の2本の対角線に沿って延在形成されている、
ことを特徴とする請求項1~6の何れか1項記載の水中音響材の被取り付け面への取り付け構造。
【請求項9】
前記溝部は、前記表面に開口する開口部と、前記開口部に接続されて互いに対向する一対の溝面を有し、前記一対の溝面の間隔は前記表面から離れるにつれて次第に小さくなって交差するくさび状を呈する、
ことを特徴とする請求項1~6の何れか1項記載の水中音響材の被取り付け面への取り付け構造。
【請求項10】
弾性材料からなる板状を呈し、その厚さ方向の両面のうちの一方の面が、水中構造体の被取り付け面に取り付けられる矩形の裏面で、この裏面と反対に位置する面が矩形の表面とされた水中音響材であって、
前記水中音響材の前記表面から前記厚さ方向の少なくとも中間部分までを前記表面の一辺と平行する仮想線で前記厚さ方向に切断した断面形状は、前記水中音響材の表面を下底とし前記切断した箇所を上底とした台形状を呈し、
前記水中音響材は、前記厚さ方向の前記中間部分を前記表面と平行する仮想面で切断した形状である矩形の切断面の4辺と、前記表面の4辺とを接続する4つの傾斜面とを備え、
前記表面の各辺に接続する前記傾斜面を有する前記水中音響材の部分である4つの傾斜面部が設けられ、
前記各傾斜面部の前記傾斜面が接続する前記表面の一辺に対向する一辺に向けての前記各傾斜面部の弾性変形を許容する溝部が前記表面に形成されている、
ことを特徴とする水中音響材。
(【請求項11】以降は省略されています)
発明の詳細な説明
【技術分野】
【0001】
本発明は、水中音響材の被取り付け面への取り付け構造および水中音響材に関する。
続きを表示(約 5,700 文字)
【背景技術】
【0002】
船舶の船体などの水中構造体に取り付けることで、遮音、吸音、あるいは、振動抑制を図るに足る音響性能を有する水中音響材が提供されている(特許文献1参照)。
このような水中音響材として、弾性材料からなり均一の厚さの矩形板状を呈するものが知られている。
そして、複数の水中音響材が縦横に並べられ、それら厚さ方向の両面のうちの一方の面である裏面が、水中構造体の被取り付け面に重ね合わされて取り付けられる。
水中音響材の取り付けに際しては、隣り合う水中音響材の4辺の間に生じる隙間にゴム材料やシリコン材料からなる目地材を充填して閉塞する必要がある。
【先行技術文献】
【特許文献】
【0003】
特開2006-227702号公報
【発明の概要】
【発明が解決しようとする課題】
【0004】
上記従来技術では、目地材は水中音響材のような音響性能を有していないため、目地材の面積に相当する分だけ音響性能が低下することが懸念される。
また、水中音響材の取り付け作業に際して目地材を充填する作業が必要となることから、水中音響材の取り付け作業の効率化を図る上で不利となっている。
本発明は前記事情に鑑み案出されたものであって、本発明の目的は、音響性能の向上を図りつつ取り付け作業の効率化を図る上で有利な水中音響材の被取り付け面への取り付け構造および水中音響材を提供することにある。
【課題を解決するための手段】
【0005】
上記目的を達成するために本発明の一実施の形態は、弾性材料からなる板状を呈し、その厚さ方向の両面のうちの一方の面である矩形の裏面が、水中構造体の被取り付け面に取り付けられ縦横に並べられて配置される水中音響材の被取り付け面への取り付け構造であって、前記水中音響材の前記裏面と反対に位置する矩形の表面から前記厚さ方向の少なくとも中間部分までを前記表面の一辺と平行する仮想線で前記厚さ方向に切断した断面形状は、前記水中音響材の表面を下底とし前記切断した箇所を上底とした台形状を呈し、前記水中音響材は、前記厚さ方向の前記中間部分を前記表面と平行する仮想面で切断した形状である矩形の切断面の4辺と、前記表面の4辺とを接続する4つの傾斜面とを備え、前記表面の各辺に接続する前記傾斜面を有する前記水中音響材の部分である4つの傾斜面部が設けられ、前記各傾斜面部の前記傾斜面が接続する前記表面の一辺に対向する一辺に向けての前記各傾斜面部の弾性変形を許容する溝部が前記表面に形成され、前記水中音響材は、前記被取り付け面に縦横に並べられ、前記傾斜面どうしが密着することで前記傾斜面部が弾性変形し前記水中音響材の前記表面において前記溝部が閉塞されると共に、隣り合う前記水中音響材の前記表面の4辺どうしが密着することを特徴とする。
また、本発明の一実施の形態は、前記水中音響材の前記表面から前記裏面までを前記水中音響材を前記表面の一辺と平行する仮想線で前記厚さ方向に切断した断面形状は、前記水中音響材の表面を下底とし前記裏面を上底とした台形状を呈し、前記水中音響材は、前記裏面の4辺と、前記表面の4辺とを接続する4つの傾斜面とを備えていることを特徴とする。
また、本発明の一実施の形態は、前記水中音響材の前記表面から前記厚さ方向の中間部分までを前記表面の一辺と平行する仮想線で前記厚さ方向に切断した断面形状は、前記水中音響材の表面を下底とし前記切断した箇所を上底とした台形状を呈する音響材上部として形成され、前記中間部分から前記裏面までは、前記音響材上部の下端の矩形と同一形状の均一な水平断面で前記中間部分から前記裏面まで延在する矩形柱状の音響材下部として形成されていることを特徴とする。
また、本発明の一実施の形態は、弾性材料からなる板状を呈し、その厚さ方向の両面のうちの一方の面である矩形の裏面が、水中構造体の被取り付け面に取り付けられ縦横に並べられて配置される水中音響材の被取り付け面への取り付け構造であって、前記矩形の前記裏面と、前記裏面と反対に位置する前記裏面と同一形状の矩形の表面と、それら裏面の4辺と表面の4辺を接続する4つの側面を有する第1水中音響材を複数設け、前記矩形の前記裏面と、前記裏面と反対に位置する前記裏面よりも大きい矩形の表面とを有し、前記表面から少なくとも前記厚さ方向の中間部分までを前記表面の一辺と平行する仮想線で前記厚さ方向に切断した断面形状が、前記表面を下底とし前記切断した箇所を上底とした台形状を呈する第2水中音響材を複数設け、前記第2水中音響材は、前記厚さ方向の前記中間部分を前記表面と平行する仮想面で切断した形状である矩形の切断面の4辺と、前記表面の4辺とを接続する4つの傾斜面とを備え、前記表面の各辺に接続する前記傾斜面を有する前記水中音響材の部分である4つの傾斜面部が設けられ、前記各傾斜面部の前記傾斜面が接続する前記表面の一辺に対向する一辺に向けての前記各傾斜面部の弾性変形を許容とする溝部が前記表面に形成され、前記被取り付け面に前記第1水中音響材と前記第2水中音響材とが縦横において交互に並べられ、前記第1水中音響材の側面と隣り合う前記第2水中音響材の傾斜面とが密着することで前記傾斜面部が弾性変形し前記第2水中音響材の前記表面において前記溝部が閉塞されると共に、隣り合う前記第1水中音響材と前記第2水中音響材の前記表面の4辺どうしが密着することを特徴とする。
また、本発明の一実施の形態は、前記第2水中音響材の前記表面から前記裏面までを前記表面の一辺と平行する仮想線で前記厚さ方向に切断した断面形状は、前記第2水中音響材の表面を下底とし前記裏面を上底とした台形状を呈し、前記第2水中音響材は、前記裏面の4辺と、前記表面の4辺とを接続する4つの傾斜面とを備えていることを特徴とする。
また、本発明の一実施の形態は、前記第2水中音響材の前記表面から前記厚さ方向の中間部分までを前記表面の一辺と平行する仮想線で前記厚さ方向に切断した断面形状は、前記水中音響材の表面を下底とし前記切断した箇所を上底とした台形状を呈する音響材上部として形成され、前記中間部分から前記裏面までは、前記音響材上部の下端の矩形と同一形状の均一な水平断面で前記中間部分から前記裏面まで延在する矩形柱状の音響材下部として形成されていることを特徴とする。
また、本発明の一実施の形態は、前記溝部は、前記表面の4辺の近傍箇所でそれぞれ前記4辺に平行しそれら4辺の全長にわたって延在形成されていることを特徴とする。
また、本発明の一実施の形態は、前記溝部は、前記表面の2本の対角線に沿って延在形成されていることを特徴とする。
また、本発明の一実施の形態は、前記溝部は、前記表面に開口する開口部と、前記開口部に接続されて互いに対向する一対の溝面を有し、前記一対の溝面の間隔は前記表面から離れるにつれて次第に小さくなって交差するくさび状を呈することを特徴とする。
また、本発明の一実施の形態は、弾性材料からなる板状を呈し、その厚さ方向の両面のうちの一方の面が、水中構造体の被取り付け面に取り付けられる矩形の裏面で、この裏面と反対に位置する面が矩形の表面とされた水中音響材であって、前記水中音響材の前記表面から前記厚さ方向の少なくとも中間部分までを前記表面の一辺と平行する仮想線で前記厚さ方向に切断した断面形状は、前記水中音響材の表面を下底とし前記切断した箇所を上底とした台形状を呈し、前記水中音響材は、前記厚さ方向の前記中間部分を前記表面と平行する仮想面で切断した形状である矩形の切断面の4辺と、前記表面の4辺とを接続する4つの傾斜面とを備え、前記表面の各辺に接続する前記傾斜面を有する前記水中音響材の部分である4つの傾斜面部が設けられ、前記各傾斜面部の前記傾斜面が接続する前記表面の一辺に対向する一辺に向けての前記各傾斜面部の弾性変形を許容する溝部が前記表面に形成されていることを特徴とする。
また、本発明の一実施の形態は、前記水中音響材の前記表面から前記裏面までを前記水中音響材を前記表面の一辺と平行する仮想線で前記厚さ方向に切断した断面形状は、前記水中音響材の表面を下底とし前記裏面を上底とした台形状を呈し、前記水中音響材は、前記裏面の4辺と、前記表面の4辺とを接続する4つの傾斜面とを備えていることを特徴とする。
また、本発明の一実施の形態は、前記水中音響材の前記表面から前記厚さ方向の中間部分までを前記表面の一辺と平行する仮想線で前記厚さ方向に切断した断面形状は、前記水中音響材の表面を下底とし前記切断した箇所を上底とした台形状を呈する音響材上部として形成され、前記中間部分から前記裏面までは、前記音響材上部の下端の矩形と同一形状の均一な水平断面で前記中間部分から前記裏面まで延在する矩形柱状の音響材下部として形成されていることを特徴とする。
【発明の効果】
【0006】
本発明の一実施の形態の水中音響材の被取り付け面への取り付け構造および水中音響材によれば、水中音響材が縦横に並べて被取り付け面に取り付けられることで、隣り合う水中音響材に各傾斜面部の傾斜面が押圧され、各傾斜面部の傾斜面が接続する表面の一辺に対向する一辺に向けて各傾斜面部が弾性変形し、水中音響材の表面において溝部が閉塞され、隣り合う水中音響材の表面の4辺と水中音響材の表面の4辺どうしが密着するので、従来必要であった隙間への目地材の充填作業が不要となる。
そのため、従来に比較して目地材の面積に相当する分だけ音響性能が低下することがなく、目地材を用いる場合に比べ音響性能を向上させる上で有利となる。
また、水中音響材の取り付け作業に際して目地材を充填する作業が不要となることから、水中音響材の取り付け作業の効率化を図る上で有利となる。
【図面の簡単な説明】
【0007】
(A)は第1の実施の形態に係る第2水中音響材を表面側から見た平面図、(B)は(A)のB-B線断面図である。
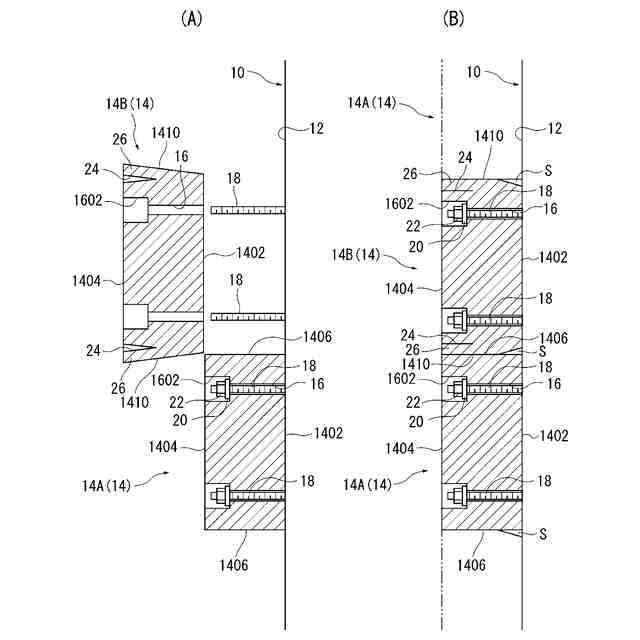
(A)は第1の実施の形態に係る第1水中音響材、第2水中音響材の被取り付け面への取り付け作業を説明する断面図、(B)は水中音響材の被取り付け面への取り付け後の状態を示す断面図である。
(A)は第2の実施の形態に係る第2水中音響材の被取り付け面への取り付け作業を説明する断面図、(B)は水中音響材の被取り付け面への取り付け後の状態を示す断面図である。
(A)は第3の実施の形態に係る第1水中音響材、第2水中音響材の被取り付け面への取り付け作業を説明する断面図、(B)は水中音響材の被取り付け面への取り付け後の状態を示す断面図である。
(A)は第4の実施の形態に係る第2水中音響材の被取り付け面への取り付け作業を説明する断面図、(B)は水中音響材の被取り付け面への取り付け後の状態を示す断面図である。
(A)は第5の実施の形態に係る第2水中音響材を表面側から見た平面図、(B)は(A)のB-B線断面図である。
【発明を実施するための形態】
【0008】
(第1の実施の形態)
図1、図2を参照して、第1の実施の形態に係る水中音響材の被取り付け面への取り付け構造について説明する。
図2(B)に示すように、複数の水中音響材14が取り付けられる船体などの水中構造体10の被取り付け面12は、平面または凹状の曲面または凸状の曲面で構成されている。
水中構造体10の被取り付け面12は、複数の水中音響材14により覆われる。
【0009】
図1(B)に示すように、水中音響材14は、弾性材料からなる板状を呈し、その厚さ方向の両面のうちの一方の面である矩形の裏面1402が、被取り付け面12に取り付けられ縦横に並べられて配置されている。
弾性材料としては、ゴムやウレタンなど従来公知のさまざまな弾性材料が使用可能である。
本実施の形態では、水中音響材14として、互いに形状が異なる複数の第1水中音響材14Aと複数の第2水中音響材14Bとが用いられている。
【0010】
第1水中音響材14Aは、矩形の裏面1402と、裏面1402と反対に位置する裏面1402と同一形状の矩形の表面1404とを有し、表面1404から裏面1402まで均一断面で厚さ方向に延在しており、それら裏面1402の4辺と表面1404の4辺を接続する4つの側面1406を有している。
そして、第1水中音響材14Aの表面1404の4つの角部の近傍には、表面1404から裏面1402に貫通する取り付け孔16がそれぞれ設けられている。
取り付け孔16の表面1404側には座ぐり孔1602が形成されている。
被取り付け面12から突設されたスタッドボルト18が取り付け孔16に挿通され、座ぐり孔1602においてスタッドボルト18の先端にワッシャ20を介してナット22が締結されることで水中音響材14が被取り付け面12に取り付けられる。
この際、ナット22とスタッドボルト18の先端とは水中音響材14の表面1404よりも低い箇所に位置しており、座ぐり孔1602には不図示のゴム製のキャップが装着されることで座ぐり孔1602が閉塞され、キャップの表面は水中音響材14の表面1404と同一面上に位置している。
(【0011】以降は省略されています)
この特許をJ-PlatPat(特許庁公式サイト)で参照する
関連特許
個人
水上遊具
6か月前
個人
洋上研究所
4か月前
個人
津波防災ウエア
3か月前
個人
船用横揺防止具
10か月前
個人
補助機構
8か月前
個人
コンパクトシティ船
8か月前
個人
上下振動翼推進人力艇
2日前
個人
渦流動力推進構造
8か月前
個人
セールのバテンガイド装置
5か月前
石田造船株式会社
内航船
1か月前
炎重工株式会社
浮標
11か月前
炎重工株式会社
浮標
11か月前
個人
水質浄化・集熱昇温システム
5か月前
住友重機械工業株式会社
船舶
5か月前
株式会社フルトン
水中捕捉装置
9か月前
個人
船舶
11か月前
個人
スクリュープロペラ
8か月前
株式会社ラフティ
サーフボード
5か月前
オーケー工業株式会社
係留フック
9か月前
個人
回転式による流体流出防止タンカー
8か月前
ペアリ株式会社
海の環境改善装置
1か月前
スズキ株式会社
船外機
7か月前
株式会社アカデミー出版
船舶
4か月前
スズキ株式会社
船外機
8か月前
スズキ株式会社
船外機
8か月前
スズキ株式会社
船外機
7か月前
ヤマハ発動機株式会社
船外機
11か月前
朝日電装株式会社
船外機用照明装置
4か月前
株式会社ユピテル
システム及びプログラム等
8か月前
炎重工株式会社
自律航行浮遊体
11か月前
ナブテスコ株式会社
主機制御システム
2か月前
藤倉コンポジット株式会社
架台
11か月前
スズキ株式会社
船舶推進機
6か月前
株式会社大林組
浮体式構造物の設置方法
9か月前
スズキ株式会社
船舶推進機
6か月前
ヤマハ発動機株式会社
船舶推進機
1か月前
続きを見る
他の特許を見る