TOP
|
特許
|
意匠
|
商標
特許ウォッチ
Twitter
他の特許を見る
公開番号
2025168560
公報種別
公開特許公報(A)
公開日
2025-11-07
出願番号
2025148264,2023501979
出願日
2025-09-08,2021-02-26
発明の名称
熱電発電システムの製造方法
出願人
株式会社Eサーモジェンテック
,
川崎重工業株式会社
,
川重冷熱工業株式会社
代理人
弁理士法人前田特許事務所
主分類
H02N
11/00 20060101AFI20251030BHJP(電力の発電,変換,配電)
要約
【課題】熱電発電の効率のよい熱電発電システムを提供する。
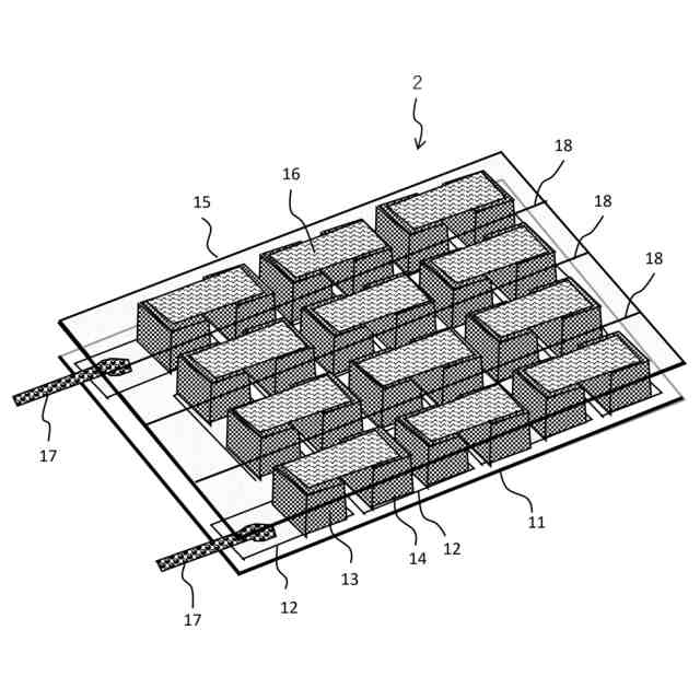
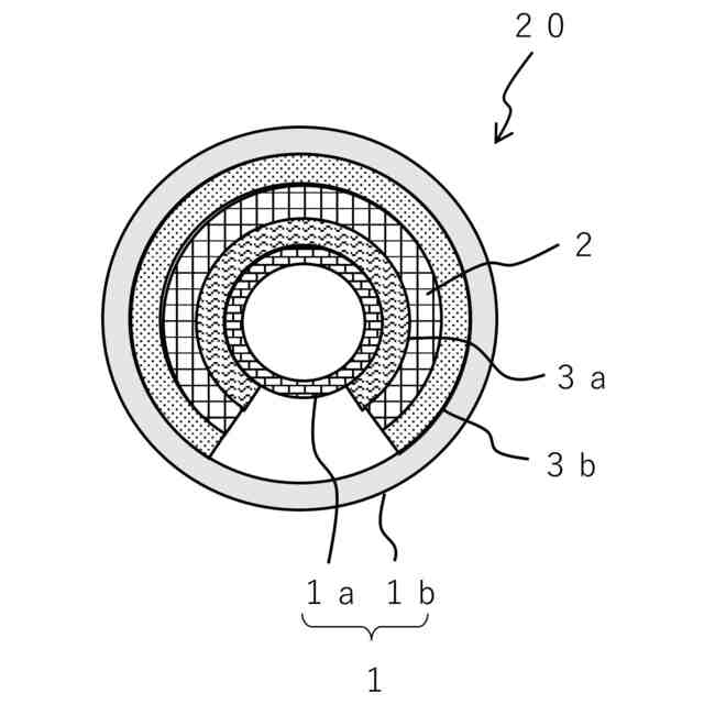
【解決手段】内管1a及び外管1bからなる二重管の間に熱電発電モジュール2を備えた熱電発電システムの製造方法であって、熱電発電モジュールは、フレキシブルな基板11上にP型熱電素子13及びN型熱電素子14が交互に配列して実装されており、基板には、P型熱電素子及びN型熱電素子が直列接続された方向に沿って複数のスリット18が形成されており、熱電発電モジュールを、スリットを内管の軸方向に合わせて内管に巻き付ける工程と、内管を熱電発電モジュールが巻き付けられた状態で外管に挿入し、内管内に圧力をかけて内管を半径方向に拡張させて、内管、熱電発電モジュール、及び外管を密着させる工程と、を備える。
【選択図】図1
特許請求の範囲
【請求項1】
内管及び外管からなる二重管の間に熱電発電モジュールを備えた熱電発電システムの製造方法であって、
前記熱電発電モジュールは、フレキシブルな基板上にP型熱電素子及びN型熱電素子が交互に配列して実装されており、
前記基板には、前記P型熱電素子及びN型熱電素子が直列接続された方向に沿って、複数のスリットが形成されており、
前記熱電発電モジュールを、前記スリットを前記内管の軸方向に合わせて、前記内管に巻き付ける工程と、
前記内管を、前記熱電発電モジュールが巻き付けられた状態で、前記外管に挿入し、前記内管内に圧力をかけて前記内管を半径方向に拡張させて、前記内管、前記熱電発電モジュール、及び前記外管を密着させる工程と
を備えた熱電発電システムの製造方法。
続きを表示(約 130 文字)
【請求項2】
前記内管を前記外管に挿入する工程において、前記内管と前記熱電発電モジュールとの間、及び前記外管と前記熱電発電モジュールの間に、弾性シートを巻き付けた状態で、前記内管を前記外管に挿入する、請求項1に記載の熱電発電システムの製造方法。
発明の詳細な説明
【技術分野】
【0001】
本発明は、二重管で構成された熱交換器を備えた熱電発電システムの製造方法に関する。
続きを表示(約 1,500 文字)
【背景技術】
【0002】
現代の産業社会において、工場、発電所、製鉄所、自動車や、ビル、照明、船舶などを中心に、全一次エネルギー供給量の60%以上の膨大な廃熱が地球環境に排出されており、その廃熱の75%以上が、250℃以下の排水や排気と推定されている。
【0003】
これらの廃熱は、一般的に排熱パイプを通じて輸送される。パイプ内を流れる高温ガス等の熱を、パイプ外に流れる冷水等で熱交換する熱交換器、または、その反対に、排熱ガス中に設置された集熱管で集められた排熱を、集熱管の中に設けられたパイプ内に流れる冷水等で熱交換する熱交換器では、高温ガスの冷却はできるが、冷水等に熱交換された熱の再活用が難しく、省エネ化の課題になっている。
【0004】
特許文献1には、図7に示すように、高温ガスあるいは熱水100A等が流れる排水パイプ100の外側と、冷却水120Aが流れる冷却水パイプ120の内側との間に、フレキシブル構造の熱電発電モジュール110を装着し、その両側で生じる温度差を利用して発電する熱電発電機能付きチューブ型熱交換器が開示されている。
【先行技術文献】
【特許文献】
【0005】
特開2009-267316号公報
【発明の概要】
【発明が解決しようとする課題】
【0006】
特許文献1に開示された熱交換器では、直接、熱電発電モジュールを水冷するため、熱電発電モジュールに、防水シート等を装着するなどの防水手段を設ける必要がある。しかしながら、防水シート等は樹脂で構成されており、このような防水手段を設けると、熱ロスが発生するため、熱電発電モジュール110の発電効率が低下するという課題があった。
【0007】
また、ボイラ等の排熱ガス中に、二重管で構成された熱交換器を設置する場合、ボイラのシステムに悪影響を与えないように、熱交換器は、耐圧力性に優れ、かつ漏洩のない高信頼なことが必要であるが、従来、熱交換器に対して、このような高信頼性については考慮されていなかった。
【0008】
本発明は、かかる点に鑑みてなされたもので、その主な目的は、熱電発電の効率が高く、信頼性の高い熱電発電システムの製造方法を提供することにある。
【課題を解決するための手段】
【0009】
本発明に係る熱電発電システムの製造方法は、内管及び外管からなる二重管の間に熱電発電モジュールを備えた熱電発電システムの製造方法であって、熱電発電モジュールは、フレキシブルな基板上にP型熱電素子及びN型熱電素子が交互に配列して実装されており、基板には、P型熱電素子及びN型熱電素子が直列接続された方向に沿って複数のスリットが形成されており、熱電発電モジュールを、スリットを内管の軸方向に合わせて内管に巻き付ける工程と、内管を熱電発電モジュールが巻き付けられた状態で外管に挿入する工程と、内管内に圧力をかけて内管を半径方向に拡張させて、内管、熱電発電モジュール、及び外管を密着させる工程と、を備えることを特徴とする。
【発明の効果】
【0010】
本発明によれば、内管、熱電発電モジュール、及び外管が密着した状態で装着されているため、熱電発電モジュールと、内管及び/又は外管との間の熱伝達ロスを小さくすることができる。これにより、熱電発電モジュールにおける温度差を大きく確保できるため、熱電発電の効率を高めることができる。
(【0011】以降は省略されています)
この特許をJ-PlatPat(特許庁公式サイト)で参照する
関連特許
個人
高圧電気機器の開閉器
11日前
個人
電気を重力で発電装置
24日前
キヤノン電子株式会社
モータ
23日前
キヤノン電子株式会社
モータ
1か月前
コーセル株式会社
電源装置
1か月前
日星電気株式会社
ケーブル組立体
1か月前
トヨタ自動車株式会社
モータ
23日前
株式会社アイドゥス企画
減反モータ
11日前
株式会社デンソー
回転機
1か月前
株式会社デンソー
端子台
4日前
個人
二次電池繰返パルス放電器用印刷基板
1か月前
株式会社kaisei
発電システム
1か月前
株式会社デンソー
電力変換装置
1か月前
株式会社ミツバ
回転電機
1か月前
ローム株式会社
半導体集積回路
2日前
株式会社デンソー
電力変換装置
1か月前
トヨタ自動車株式会社
固定子の加熱装置
1か月前
株式会社TMEIC
制御装置
3日前
株式会社日立製作所
回転電機
2日前
矢崎総業株式会社
給電装置
3日前
株式会社ダイヘン
インバータ装置
1か月前
株式会社デンソー
非接触受電装置
1か月前
矢崎総業株式会社
電源回路
10日前
大和ハウス工業株式会社
敷設用機器
3日前
矢崎総業株式会社
ワイヤーハーネス
1か月前
トヨタ自動車株式会社
ステータの製造装置
24日前
ローム株式会社
モータドライバ回路
18日前
個人
非対称鏡像力を有する4層PWB電荷搬送体
18日前
山洋電気株式会社
モータ
1か月前
日産自動車株式会社
ロータシャフト
18日前
日産自動車株式会社
ロータシャフト
18日前
京商株式会社
模型用非接触電力供給システム
11日前
株式会社アイシン
電力変換装置
23日前
トヨタ自動車株式会社
可変界磁ロータ
26日前
株式会社TMEIC
電力変換装置
1か月前
株式会社TMEIC
電力変換装置
3日前
続きを見る
他の特許を見る