TOP
|
特許
|
意匠
|
商標
特許ウォッチ
Twitter
他の特許を見る
公開番号
2025158325
公報種別
公開特許公報(A)
公開日
2025-10-17
出願番号
2024060754
出願日
2024-04-04
発明の名称
回転電機
出願人
株式会社ミツバ
代理人
個人
,
個人
,
個人
主分類
H02K
21/14 20060101AFI20251009BHJP(電力の発電,変換,配電)
要約
【課題】ロータの挙動を安定させつつ、確実にモータ性能の低下を抑制できる回転電機を提供する。
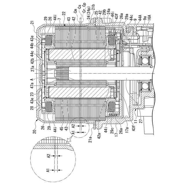
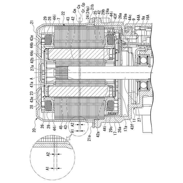
【解決手段】ステータ22と、ステータ22に対して回転自在に設けられたロータ23と、を備える。ステータ22は、ステータコア24と、ステータコア24に巻回されたコイル26と、を有する。ロータ23は、第1軸受16Aに片持ち支持され、回転軸線A回りに回転するロータシャフト27と、ロータシャフト27の第1軸受16Aとは反対側の端部27a寄りに固定されたロータコア42と、ロータコア42の周面に設けられたマグネット43と、有する。ステータコア24の回転軸線A方向の中心Csは、マグネット43の回転軸線A方向の中心Cmよりも第1軸受16A側に位置している。
【選択図】図3
特許請求の範囲
【請求項1】
ステータと、
前記ステータに対して回転自在に設けられたロータと、
を備え、
前記ステータは、
ステータコアと、
前記ステータコアに巻回されたコイルと、
を有し、
前記ロータは、
軸受に片持ち支持され、回転軸線回りに回転するロータシャフトと、
前記ロータシャフトの前記軸受とは反対側の先端寄りに固定されたロータコアと、
前記ロータコアの周面に設けられたマグネットと、
を有し、
前記ステータコアの前記回転軸線方向の中心は、前記マグネットの前記回転軸線方向の中心よりも前記軸受側に位置している、
ことを特徴とする回転電機。
続きを表示(約 1,600 文字)
【請求項2】
前記ステータコアは、
筒状のバックヨーク部と、
前記バックヨーク部の周面から径方向に突出され、前記コイルが巻回される複数のティース部と、
を有し、
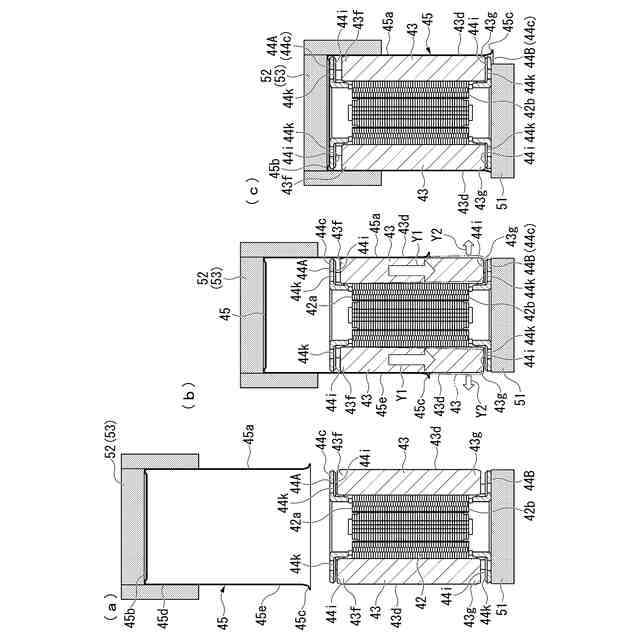
前記ステータコアにおける前記回転軸線方向の両端面のうち一方の端面には、所定の前記ティース部の間に引き回された前記コイルの渡り線部が配置されており、
前記マグネットにおける前記回転軸線方向の両端面は、前記ステータコアにおける前記回転軸線方向の両端面から突出しており、
前記ステータコアの前記一方の端面からの前記マグネットの突出長さは、前記ステータコアにおける前記回転軸線方向の両端面のうち他方の端面からの前記マグネットの突出長さよりも短い、
ことを特徴とする請求項1に記載の回転電機。
【請求項3】
前記ステータコアの前記回転軸線方向の中心は、前記マグネットの前記回転軸線方向の中心と前記ロータコアの前記回転軸線方向の中心との間に位置している、
ことを特徴とする請求項1又は請求項2に記載の回転電機。
【請求項4】
前記ロータコアは、
円筒状に形成されたコア本体部と、
前記コア本体部の外周面から径方向の外側に突出するように形成された複数の突極と、
を有し、
前記複数の突極は、前記回転軸線方向に沿って延びるとともに周方向に所定の間隔をあけて配置されており、
前記マグネットは、周方向で隣り合う2つの前記突極の間にそれぞれ配置されており、
前記マグネットの前記回転軸線方向の中心に対する前記突極の前記回転軸線方向の中心のずれ量は、前記ステータコアの前記回転軸線方向の中心に対する前記突極の前記回転軸線方向の中心のずれ量よりも大きい、
ことを特徴とする請求項3に記載の回転電機。
【請求項5】
前記ロータコアは、
円筒状に形成されたコア本体部と、
前記コア本体部の外周面から径方向の外側に突出するように形成された複数の突極と、
を有し、
前記複数の突極は、前記回転軸線方向に沿って延びるとともに周方向に所定の間隔をあけて配置されており、
前記マグネットは、周方向で隣り合う2つの前記突極の間にそれぞれ配置されており、
前記ロータコアにおける前記回転軸線方向の両端面に設けられ、前記マグネットにおける前記回転軸線方向の移動を規制するとともに周方向の移動を規制する2つのホルダを備え、
各前記ホルダは、
前記コア本体部の前記両端面に配置されるとともに、前記マグネットにおける径方向の内側の側面に配置される環状部と、
前記環状部の外周面から径方向の外側に突出され、周方向で隣り合う2つの前記マグネットの間に配置される複数の脚部と、
前記環状部及び前記脚部における前記ロータコアとは反対側に一体に連結された端板部と、
を有し、
前記2つの前記ホルダにおける前記端板部の間の長さをL1とし、
前記マグネットの前記回転軸線方向の長さをL2とし、
前記ステータコアの前記回転軸線方向の中心に対する前記突極の前記回転軸線方向の中心のずれ量をL3としたとき、
前記長さL1、前記長さL2,及び前記ずれ量L3は、
L1-L2>L3
を満たす、
ことを特徴とする請求項1又は請求項2に記載の回転電機。
【請求項6】
前記ロータコアにおける前記回転軸線方向の一方から取り付けられ、前記ロータコア、前記マグネット、及び前記ホルダを覆うマグネットカバーを備え、
各前記ホルダは、各前記脚部における周方向の両側面に形成され、前記マグネットにおける周方向の両側面に当接する突起部を有する、
ことを特徴とする請求項5に記載の回転電機。
発明の詳細な説明
【技術分野】
【0001】
本発明は、回転電機に関するものである。
続きを表示(約 1,900 文字)
【背景技術】
【0002】
回転電機として、例えば電動モータや発電機などが挙げられる。電動モータの中には、ステータと、ステータに対して回転自在に設けられたロータと、を備えたものがある。ステータは、ステータコアと、ステータコアに巻回されたコイルと、を備える。ロータは、ロータシャフトと、ロータシャフトに固定されたロータコアと、ロータコアに設けられたマグネットと、を備える。マグネットは、周方向に磁極が順番となるように設けられている。このような構成のもと、コイルに電流を供給すると、ステータコアに鎖交磁束が形成される。この鎖交磁束とマグネットの間で磁気的な吸引力や反発力が生じ、ロータが継続して回転される。
【0003】
ところで、モータシャフトにおける回転軸線方向の一方にマグネットが寄ってしまうと、ロータの重心がロータシャフトの回転軸線方向の中心から離れてしまう。このため、わずかな振れで大きな動的アンバランスになり、ロータの挙動が不安定になってしまう。
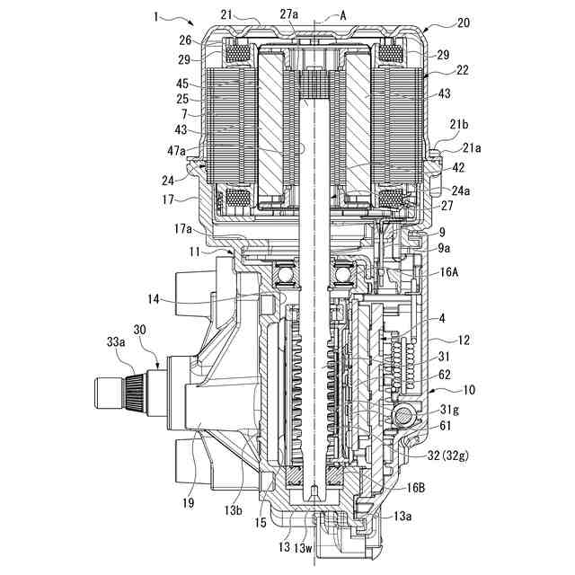
ここで、電動モータと減速機とが一体となったいわゆる減速機付きモータでは、ロータシャフトを減速機に設けられた軸受によって片持ち支持する構造とすることにより、減速機付きモータの小型化を図る場合がある。このような場合、動的アンバランスを考慮して軸受側にロータを寄せると、ステータの回転軸線の中心に対してマグネットの回転軸線の中心がずれてしまう。このため、マグネットの有効磁束が効果的にロータの回転トルクに寄与されず、モータ特性が低下してしまう可能性があった。
【0004】
そこで、ロータの動的アンバランスを改善することでロータの挙動を安定させつつ、モータ特性の低下を抑制するための技術が提案されている(例えば、特許文献1参照)。
このものにおいて、マグネットにおける回転軸線方向の両端面の位置は、ステータコアにおける回転軸線方向の両端面と同一平面上又はこの両端面よりも回転軸線方向の外側に位置している。ロータコアの軸受とは反対側の端面の位置は、マグネットの軸受とは反対側の端面の位置よりも軸受側に位置している。ロータコアにおける軸受側の端面の位置は、マグネットにおける軸受側の端面の位置よりも軸受側に位置している。
【先行技術文献】
【特許文献】
【0005】
特開2021-35187号公報
【発明の概要】
【発明が解決しようとする課題】
【0006】
しかしながら、上述の従来技術にあっては、マグネット及びロータコアの両者がステータコアから回転軸線方向に離間してしまうので、モータ性能の改善の余地があった。
【0007】
そこで、本発明は、ロータの挙動を安定させつつ、確実にモータ性能の低下を抑制できる回転電機を提供する。
【課題を解決するための手段】
【0008】
上記の課題を解決するために、本発明の第1態様では、回転電機は、ステータと、前記ステータに対して回転自在に設けられたロータと、を備え、前記ステータは、ステータコアと、前記ステータコアに巻回されたコイルと、を有し、前記ロータは、軸受に片持ち支持され、回転軸線回りに回転するロータシャフトと、前記ロータシャフトの前記軸受とは反対側の先端寄りに固定されたロータコアと、前記ロータコアの周面に設けられたマグネットと、を有し、前記ステータコアの前記回転軸線方向の中心は、前記マグネットの前記回転軸線方向の中心よりも前記軸受側に位置している。
【0009】
このように構成することで、ロータ全体に対し、軸受方向に磁気吸引による推力を発生させることができる。このため、ロータの挙動を安定させつつ、確実にモータ性能の低下を抑制できる。
【0010】
本発明の第2態様では、第1態様の回転電機において、前記ステータコアは、筒状のバックヨーク部と、前記バックヨーク部の周面から径方向に突出され、前記コイルが巻回される複数のティース部と、を有し、前記ステータコアにおける前記回転軸線方向の両端面のうち一方の端面には、所定の前記ティース部の間に引き回された前記コイルの渡り線部が配置されており、前記マグネットにおける前記回転軸線方向の両端面は、前記ステータコアにおける前記回転軸線方向の両端面から突出しており、前記ステータコアの前記一方の端面からの前記マグネットの突出長さは、前記ステータコアにおける前記回転軸線方向の両端面のうち他方の端面からの前記マグネットの突出長さよりも短くてもよい。
(【0011】以降は省略されています)
この特許をJ-PlatPat(特許庁公式サイト)で参照する
関連特許
株式会社ミツバ
モータ
1か月前
株式会社ミツバ
回転電機
8日前
株式会社ミツバ
回転電機
15日前
株式会社ミツバ
巻線装置
29日前
株式会社ミツバ
モータ装置
3日前
株式会社ミツバ
ワイパ装置
22日前
株式会社ミツバ
ワイパ装置
22日前
株式会社ミツバ
モータ装置
1か月前
株式会社ミツバ
モータ装置
16日前
株式会社ミツバ
ワイパブレード
24日前
株式会社ミツバ
非容積型ポンプ
1か月前
株式会社ミツバ
ワイパブレード
24日前
株式会社ミツバ
ワイパブレード
24日前
株式会社ミツバ
モータ制御装置
22日前
株式会社ミツバ
モータ制御装置
22日前
株式会社ミツバ
ブラシレスモータ
17日前
株式会社ミツバ
モータ及びファン装置
16日前
株式会社ミツバ
巻線装置、及び、巻線方法
29日前
株式会社ミツバ
巻線装置、及び、巻線方法
29日前
株式会社ミツバ
モータシステム及び電動車両
16日前
株式会社ミツバ
モータ装置およびロータの製造方法
16日前
株式会社ミツバ
モータ装置、ワイパー装置、及びモータ制御方法
16日前
株式会社ミツバ
モータ装置、ワイパー装置、及びモータ制御方法
11日前
株式会社ミツバ
鞍乗型電動車両の制御システム、及び鞍乗型電動車両の制御方法
1か月前
個人
単極モータ
11日前
株式会社アイシン
ロータ
15日前
株式会社アイシン
ロータ
11日前
西部電機株式会社
充電装置
18日前
西部電機株式会社
充電装置
18日前
日星電気株式会社
ケーブル組立体
3日前
日本精機株式会社
サージ保護回路
18日前
トヨタ自動車株式会社
回転子
22日前
トヨタ自動車株式会社
固定子
16日前
トヨタ自動車株式会社
製造装置
16日前
株式会社デンソー
回転機
9日前
個人
連続ガウス加速器形磁力増幅装置
18日前
続きを見る
他の特許を見る