TOP
|
特許
|
意匠
|
商標
特許ウォッチ
Twitter
他の特許を見る
10個以上の画像は省略されています。
公開番号
2025171487
公報種別
公開特許公報(A)
公開日
2025-11-20
出願番号
2024076893
出願日
2024-05-10
発明の名称
ウォーム
出願人
株式会社ミツバ
代理人
弁理士法人筒井国際特許事務所
主分類
F16H
1/16 20060101AFI20251113BHJP(機械要素または単位;機械または装置の効果的機能を生じ維持するための一般的手段)
要約
【課題】製造工程を簡素化しつつ回転バランスを良好にすることが可能なウォームを提供する。
【解決手段】第1テーパ部35bに、歯底部74の一端部を形成する切削開始部71を設け、第2テーパ部35cに、歯底部74の他端部を形成する切削終了部72を設け、歯底部74は、切削開始部71からウォーム35の周方向一側(反時計回り方向)に向けて螺旋状に進むように延び、切削終了部72の位置が、切削開始部71の位置に対し、ウォーム35の回転中心(回転軸34の回転中心Cに等しい)を中心として、ウォーム35の周方向他側(時計回り方向)の90度未満の角度範囲(38度の位置)に配置されている。
【選択図】図6
特許請求の範囲
【請求項1】
ギヤが噛み合わされるウォームであって、
本体部と、
前記本体部の軸方向一側に接続され、前記本体部から離れるに連れて先細り形状となった第1テーパ部と、
前記本体部の軸方向他側に接続され、前記本体部から離れるに連れて先細り形状となった第2テーパ部と、
前記第1テーパ部,前記本体部および前記第2テーパ部の外周部に螺旋状に設けられ、歯先部および歯底部を備えた螺旋状歯と、
前記第1テーパ部に設けられ、前記歯底部の一端部を形成する第1歯底端部と、
前記第2テーパ部に設けられ、前記歯底部の他端部を形成する第2歯底端部と、
を有し、
前記歯底部は、前記第1歯底端部から前記ウォームの周方向一側に向けて螺旋状に進むように延び、前記第2歯底端部の位置が、前記第1歯底端部の位置に対し、前記ウォームの回転中心を中心として、前記ウォームの周方向他側の90度未満の角度範囲に配置されている、
ウォーム。
続きを表示(約 280 文字)
【請求項2】
前記角度範囲が、37度ないし40度の範囲である、
請求項1に記載のウォーム。
【請求項3】
請求項1または請求項2に記載のウォームにおいて、
前記ウォームの軸方向における前記第1テーパ部の前記本体部側とは反対側に、前記本体部よりも小径の第1小径部が設けられ、
前記ウォームの軸方向における前記第2テーパ部の前記本体部側とは反対側に、前記本体部よりも小径の第2小径部が設けられている、
ウォーム。
【請求項4】
前記ウォームは、切削加工品である、
請求項3に記載のウォーム。
発明の詳細な説明
【技術分野】
【0001】
本発明は、ギヤが噛み合わされるウォームに関する。
続きを表示(約 1,700 文字)
【背景技術】
【0002】
例えば、特許文献1には、回転バランスが良好なウォームを得るために、ウォームの長さと、歯のリード角と、ウォームの軸方向両端に設ける面取り角と、を調整することが記載されている。
【先行技術文献】
【特許文献】
【0003】
特開2020-169721号公報
【発明の概要】
【発明が解決しようとする課題】
【0004】
しかしながら、特許文献1に記載された技術では、所定のウォームの長さに対して、歯のリード角とウォームの軸方向両端に設ける面取り角からなる2つの調整要素を決定する必要があり、ウォームの製造工程の複雑化を招いていた。
【0005】
本発明の目的は、製造工程を簡素化しつつ回転バランスを良好にすることが可能なウォームを提供することにある。
【課題を解決するための手段】
【0006】
ウォームの一態様では、ギヤが噛み合わされるウォームであって、本体部と、前記本体部の軸方向一側に接続され、前記本体部から離れるに連れて先細り形状となった第1テーパ部と、前記本体部の軸方向他側に接続され、前記本体部から離れるに連れて先細り形状となった第2テーパ部と、前記第1テーパ部,前記本体部および前記第2テーパ部の外周部に螺旋状に設けられ、歯先部および歯底部を備えた螺旋状歯と、前記第1テーパ部に設けられ、前記歯底部の一端部を形成する第1歯底端部と、前記第2テーパ部に設けられ、前記歯底部の他端部を形成する第2歯底端部と、を有し、前記歯底部は、前記第1歯底端部から前記ウォームの周方向一側に向けて螺旋状に進むように延び、前記第2歯底端部の位置が、前記第1歯底端部の位置に対し、前記ウォームの回転中心を中心として、前記ウォームの周方向他側の90度未満の角度範囲に配置されている。
【発明の効果】
【0007】
本発明によれば、製造工程を簡素化しつつ回転バランスを良好にすることが可能なウォームを実現できる。
【図面の簡単な説明】
【0008】
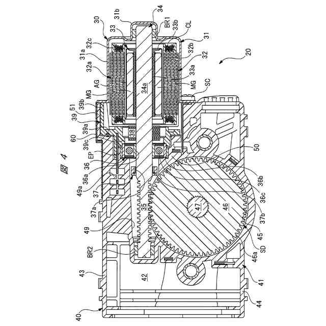
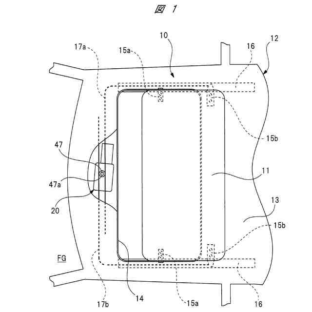
車両のルーフに設置されたサンルーフ装置の概要図である。
サンルーフモータを出力ギヤ側から見た斜視図である。
サンルーフモータをカバー部材側から見た斜視図である。
サンルーフモータの回転軸の軸方向に沿う断面図である。
ロータをウォーム側から見た斜視図である。
図5のウォームの部分を拡大した斜視図である。
回転軸単体を軸方向と直交する方向から見た図である。
図6のAR矢視図である。
切削終了部の位置と回転軸のバランス量との関係を30度刻みで示したグラフである。
切削終了部の位置と回転軸のバランス量との関係を5度刻みで示したグラフである。
切削終了部の位置と回転軸のバランス量との関係を1度刻みで示したグラフである。
切削終了部の位置とスタティック値との関係を示すグラフである。
切削終了部の位置を時計回り方向に35度ずらした場合の回転軸のバランス量を示す表(n=32)である。
切削終了部の位置を時計回り方向に38度ずらした場合の回転軸のバランス量を示す表(n=30)である。
【発明を実施するための形態】
【0009】
以下、本発明の一実施の形態について、図面を用いて詳細に説明する。
【0010】
図1は車両のルーフに設置されたサンルーフ装置の概要図を、図2はサンルーフモータを出力ギヤ側から見た斜視図を、図3はサンルーフモータをカバー部材側から見た斜視図を、図4はサンルーフモータの回転軸の軸方向に沿う断面図を、図5はロータをウォーム側から見た斜視図を、図6は図5のウォームの部分を拡大した斜視図を、図7は回転軸単体を軸方向と直交する方向から見た図を、図8は図6のAR矢視図をそれぞれ示している。
(【0011】以降は省略されています)
この特許をJ-PlatPat(特許庁公式サイト)で参照する
関連特許
株式会社ミツバ
ウォーム
3日前
株式会社ミツバ
回転電機
1か月前
株式会社ミツバ
回転電機
1か月前
株式会社ミツバ
モータ装置
1か月前
株式会社ミツバ
モータ装置
1か月前
株式会社ミツバ
ブラシレスモータ
1か月前
株式会社ミツバ
モータ及びファン装置
1か月前
株式会社ミツバ
モータシステム及び電動車両
1か月前
株式会社ミツバ
モータ装置およびロータの製造方法
1か月前
株式会社ミツバ
モータ装置、ワイパー装置、及びモータ制御方法
1か月前
株式会社ミツバ
モータ装置、ワイパー装置、及びモータ制御方法
1か月前
個人
留め具
1か月前
個人
鍋虫ねじ
2か月前
個人
紛体用仕切弁
2か月前
個人
回転伝達機構
3か月前
個人
ホース保持具
7か月前
個人
差動歯車用歯形
5か月前
個人
トーションバー
7か月前
個人
給排気装置
1か月前
個人
ジョイント
2か月前
個人
ボルトナットセット
8か月前
株式会社不二工機
電磁弁
6か月前
個人
地震の揺れ回避装置
4か月前
株式会社不二工機
電磁弁
4か月前
個人
ナット
2か月前
個人
ナット
18日前
個人
吐出量監視装置
2か月前
個人
ゲート弁バルブ
3日前
兼工業株式会社
バルブ
19日前
カヤバ株式会社
緩衝器
4か月前
株式会社三協丸筒
枠体
8か月前
カヤバ株式会社
緩衝器
1か月前
カヤバ株式会社
ダンパ
5か月前
カヤバ株式会社
緩衝器
4か月前
柿沼金属精機株式会社
分岐管
3か月前
カヤバ株式会社
ダンパ
5か月前
続きを見る
他の特許を見る