TOP
|
特許
|
意匠
|
商標
特許ウォッチ
Twitter
他の特許を見る
公開番号
2025148898
公報種別
公開特許公報(A)
公開日
2025-10-08
出願番号
2024049238
出願日
2024-03-26
発明の名称
ブラシレスモータ
出願人
株式会社ミツバ
代理人
個人
主分類
H02K
3/04 20060101AFI20251001BHJP(電力の発電,変換,配電)
要約
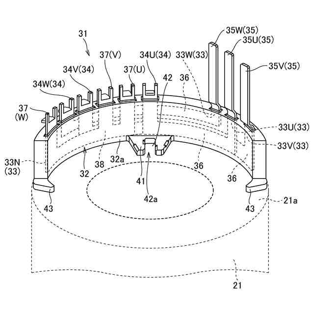
【課題】ターミナルユニットを備えたブラシレスモータにおいて、モータの小型化を図りつつ組み付け性を改善し、結線部の絶縁不良やモータの組み付け不良を低減させる。
【解決手段】ブラシレスモータ1は、ターミナルユニット31がステータコア21の一端側、巻線コイル25の径方向外側に配置されている。巻線コイル25の端部は、径方向外側に向かって曲げられ、ステータコア21の外周方向に延伸しており、コイル側ターミナル34や中性点ターミナル37と接続されている。その際、巻線コイル25のうち、その端部が巻線コイル層の最内周側に位置するコイル25xも、径方向外側に向かって曲げられ外周方向に延伸している。巻線コイル25とコイル側ターミナル34等との結線部39は、巻線コイル25の径方向外側に配されている。
【選択図】図2
特許請求の範囲
【請求項1】
巻線コイルを備えたステータコアを有するステータと、前記ステータの径方向内側に配置されたロータと、前記巻線コイルと電気的に接続される金属製のターミナル部材を備えた給電用のターミナルユニット、とを有するブラシレスモータであって、
前記ターミナルユニットは、前記ステータコアの一端側に設けられると共に、前記巻線コイルの径方向外側に配置され、
前記巻線コイルの端部は径方向外側に向かって曲げられ、前記ステータコアの外周方向に延伸し前記ターミナル部材と接続されることを特徴とするブラシレスモータ。
続きを表示(約 570 文字)
【請求項2】
巻線コイルを備えたステータコアを有するステータと、前記ステータの径方向内側に配置されたロータと、前記ステータを収容するハウジングと、前記巻線コイルと電気的に接続される金属製のターミナル部材を備えた給電用のターミナルユニット、とを有するブラシレスモータであって、
前記ブラシレスモータは、前記ハウジングの一端部内側に設けられ、前記巻線コイルの軸方向端部の径方向外側に形成されたターミナルユニット収容部を有し、
前記ターミナルユニットは前記ターミナルユニット収容部に配置され、
前記巻線コイルの端部は径方向外側に向かって曲げられ、前記ターミナルユニット収容部方向に延伸し前記ターミナル部材と接続されることを特徴とするブラシレスモータ。
【請求項3】
請求項1又は2記載のブラシレスモータにおいて、
前記巻線コイルのうち、その端部が巻線コイル層の最内周側に位置するものは、最内周位置から径方向外側に向かって曲げられ外周方向に延伸されることを特徴とするブラシレスモータ。
【請求項4】
請求項1又は2記載のブラシレスモータにおいて、
前記巻線コイルと前記ターミナル部材との結線部が前記巻線コイルの径方向外側に配されることを特徴とするブラシレスモータ。
発明の詳細な説明
【技術分野】
【0001】
本発明は、給電用のターミナルユニットを備えたブラシレスモータに関し、特に、モータ内におけるターミナルユニットの配置構造に関する。
続きを表示(約 2,200 文字)
【背景技術】
【0002】
従来より、ブラシレスモータ(電動モータ)では、巻線コイルへの給電手段として、銅やアルミニウム等の導電金属製のターミナル部材(バスバー)を備えたターミナルユニットが広く用いられている(例えば、特許文献1の端末モジュールや特許文献2の端末結線基板等)。これらの文献に見られるように、ターミナルユニットは一般に巻線コイルの軸方向側に隣接して取り付けられ、巻線コイルと電気的に接続されて使用される。ターミナルユニット内には、モータ各相用と中性点用のバスバーが配設されており、各バスバーには、電源供給用、各相接続用、中性点用の各ターミナル(接続用端子)が設けられ巻線コイルと接続される。
【先行技術文献】
【特許文献】
【0003】
特許第5810869号公報
特開2022-49171号公報
【発明の概要】
【発明が解決しようとする課題】
【0004】
しかしながら、このようなターミナルユニットは、前述のように、巻線コイルの軸方向側に隣接配置されるため、ターミナルユニットの分だけモータの軸方向長が長くなり、モータが大型化してしまうという課題があった。また、従来のターミナルユニットでは、巻線コイルとバスバーを接続するため、巻線コイルの端部を軸方向(ターミナルユニット側)に引き出す必要がある。このため、引き出したコイルが径方向内側に傾くと、後工程でステータ内にロータを組み付ける際、ロータとコイル端部が干渉し、ロータの組み付けが困難になってしまうおそれがある。特に、シンクロナスリラクタンスモータは、マグネットを使用しないためロータ・ステータ間のエアギャップが狭く設定されており、ロータ挿入時にコイルが干渉するおそれがさらに高くなる、という問題があった。
【0005】
さらに、従来のターミナルユニットは、巻線コイルとバスバーとの結線部が巻線コイルの軸方向側に配置されるため、モータ端面を塞ぐ金属製のベアリングホルダと結線部が近くなり、ショートするリスクが生じるという問題もあった。結線部は、ベアリングホルダを取り付ける際にホルダの裏側となるため目視できないこともあり、ベアリングホルダと結線部との距離がわかりにくく、接触していてもそれを認識できない可能性がある。
【0006】
これに対し、ベアリングホルダの厚さを薄くすれば、モータ全長を変えることなく、結線部とベアリングホルダの間の距離を大きくすることができる。しかしながら、ベアリングホルダは、隣接して設けられるコントローラ(ECU)の放熱部材としての機能をも有しており、ベアリングホルダを薄くすると熱容量が低下し、放熱性が損なわれてしまう。一方、放熱性を確保しつつ絶縁性を担保しようとすると、ベアリングホルダの厚さを維持しつつ結線部とベアリングホルダとの間の距離を取る必要があり、モータ体格が大きくなる。つまり、結線部の絶縁性とベアリングホルダの放熱性は、モータ体格の観点からするとトレードオフの関係があり、それらを効果的に解決する方策が求められていた。
【0007】
加えて、従来のターミナルユニットの場合、ターミナルユニットを装着するに際し、回り止めのため、ターミナルユニットに突起を設けると共に、コイルのインシュレーション部品側にこの突起と嵌合する切り欠き部を設ける必要がある。また、コイルの端部を軸方向に引き出すため、インシュレーション部品にはさらに、コイル端部を軸方向に案内するガイド溝を設ける必要がある。このため、これらの部位を形成する分、インシュレーション部品の形状が複雑化し、加工コストが増大するという問題もあった。
【0008】
本発明の目的は、ターミナルユニットを備えたブラシレスモータにおいて、モータの小型化を図りつつ組み付け性を改善し、結線部の絶縁性も含め、モータの組み付け不良を低減させることにある。
【課題を解決するための手段】
【0009】
本発明のブラシレスモータは、巻線コイルを備えたステータコアを有するステータと、前記ステータの径方向内側に配置されたロータと、前記巻線コイルと電気的に接続される金属製のターミナル部材を備えた給電用のターミナルユニット、とを有するブラシレスモータであって、前記ターミナルユニットは、前記ステータコアの一端側に設けられると共に、前記巻線コイルの径方向外側に配置され、前記巻線コイルの端部は径方向外側に向かって曲げられ、前記ステータコアの外周方向に延伸し前記ターミナル部材と接続されることを特徴とする。
【0010】
本発明にあっては、ターミナルユニットを、ステータコア一端側の巻線コイル径方向外側に配置する。そして、巻線コイルの端部を径方向外側に向かって曲げると共にステータコアの外周方向に延伸させてターミナル部材と接続する。その結果、本発明によるブラシレスモータは、従来のモータに比して、モータの軸方向寸法がターミナルユニットの厚さの分削減される。また、ターミナル部材と接続されるコイルが径方向外側に向かって屈曲しており、軸方向に延伸したコイルがないため、後工程にてロータを挿入する際、軸方向に延伸したコイルが内側に倒れロータと干渉してしまうことがなく、組み付け性の向上や組み付け不良の防止が図られる。
(【0011】以降は省略されています)
この特許をJ-PlatPat(特許庁公式サイト)で参照する
関連特許
株式会社ミツバ
ウォーム
3日前
株式会社ミツバ
回転電機
1か月前
株式会社ミツバ
モータ装置
1か月前
株式会社ミツバ
モータ装置、ワイパー装置、及びモータ制御方法
1か月前
個人
電気を重力で発電装置
17日前
個人
高圧電気機器の開閉器
4日前
キヤノン電子株式会社
モータ
24日前
キヤノン電子株式会社
モータ
16日前
コーセル株式会社
電源装置
25日前
トヨタ自動車株式会社
モータ
16日前
株式会社アイドゥス企画
減反モータ
4日前
矢崎総業株式会社
電源回路
3日前
トヨタ自動車株式会社
ステータの製造装置
17日前
日産自動車株式会社
ロータシャフト
11日前
日産自動車株式会社
ロータシャフト
11日前
ローム株式会社
モータドライバ回路
11日前
個人
非対称鏡像力を有する4層PWB電荷搬送体
11日前
トヨタ自動車株式会社
可変界磁ロータ
19日前
株式会社マキタ
電動作業機
24日前
個人
電線盗難防止方法及び電線盗難防止装置
24日前
京商株式会社
模型用非接触電力供給システム
4日前
株式会社明治ゴム化成
ワイヤレス給電用部品
26日前
トヨタ紡織株式会社
ロータの製造装置
25日前
株式会社アイシン
電力変換装置
16日前
株式会社豊田自動織機
電力供給システム
16日前
大阪瓦斯株式会社
充放電中継装置
17日前
本田技研工業株式会社
回転電機用ロータ
4日前
ルネサスエレクトロニクス株式会社
半導体装置
16日前
大阪瓦斯株式会社
充放電中継装置
17日前
ニデック株式会社
回転電機
16日前
トヨタ自動車株式会社
車両照合システム
24日前
豊田合成株式会社
車両用非接触充電装置
16日前
個人
電動自動車用同期電動機の変速方法と駆動制御装置
18日前
株式会社豊田中央研究所
分散電源システム
11日前
株式会社京三製作所
パルス電源装置
3日前
株式会社京三製作所
パルス電源装置
3日前
続きを見る
他の特許を見る