TOP
|
特許
|
意匠
|
商標
特許ウォッチ
Twitter
他の特許を見る
10個以上の画像は省略されています。
公開番号
2025152078
公報種別
公開特許公報(A)
公開日
2025-10-09
出願番号
2024053808
出願日
2024-03-28
発明の名称
モータ装置
出願人
株式会社ミツバ
代理人
弁理士法人筒井国際特許事務所
主分類
F16H
57/021 20120101AFI20251002BHJP(機械要素または単位;機械または装置の効果的機能を生じ維持するための一般的手段)
要約
【課題】回転軸から遊星歯車減速機に対して駆動力をスムーズに伝える。
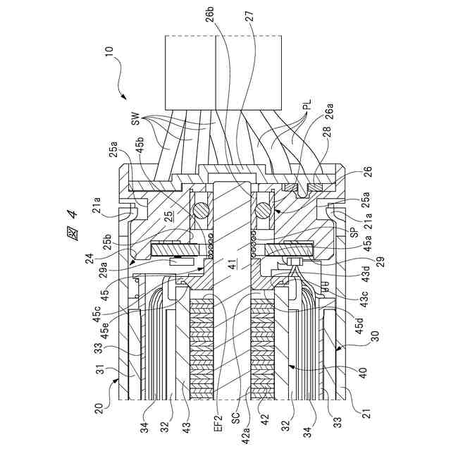
【解決手段】回転軸41を回転自在に支持する第1ボールベアリング23と、回転軸41の端部に装着され、かつ第1遊星歯車減速機70の中心に配置される第1サンギヤ71と、を有し、モータケース21には、回転軸41に対して同軸上に配置される軸受支持筒22aが設けられ、ギヤケース61には、第1サンギヤ71に対して同軸上に配置される閉塞部材63の貫通孔63bが設けられ、軸受支持筒22aおよび貫通孔63bに、第1ボールベアリング23の軸方向両側がそれぞれ装着されている。これにより、モータケース21の成形精度に拠らず、第1ボールベアリング23を基準に、回転軸41および第1遊星歯車減速機70の回転中心を互いに精度良く一致させることができる。よって、製品毎にモータ特性がばらつくことを抑制できる。
【選択図】図3
特許請求の範囲
【請求項1】
回転軸を回転自在に収容するモータケースと、
遊星歯車減速機を回転自在に収容するギヤケースと、
を備え、
前記モータケースおよび前記ギヤケースを、前記回転軸の軸方向に並べてなるモータ装置であって、
前記回転軸を回転自在に支持するベアリングと、
前記回転軸の端部に装着され、かつ前記遊星歯車減速機の中心に配置されるサンギヤと、
を有し、
前記モータケースには、前記回転軸に対して同軸上に配置される第1ベアリング装着部が設けられ、
前記ギヤケースには、前記サンギヤに対して同軸上に配置される第2ベアリング装着部が設けられ、
前記第1ベアリング装着部および前記第2ベアリング装着部に、前記ベアリングの軸方向両側がそれぞれ装着されている、
モータ装置。
続きを表示(約 380 文字)
【請求項2】
請求項1に記載のモータ装置において、
前記ベアリングは、
径方向外側に配置されるアウターレースと、
径方向内側に配置されるインナーレースと、
前記アウターレースと前記インナーレースとの間に配置されるボールと、
を備えたボールベアリングであり、
前記第1ベアリング装着部および前記第2ベアリング装着部に、前記アウターレースの軸方向両側がそれぞれ固定されている、
モータ装置。
【請求項3】
請求項1または請求項2に記載のモータ装置において、
前記ギヤケースは、径方向内側にインターナルギヤを有するケース本体を備え、
前記インターナルギヤと前記サンギヤとの間に、キャリアにより回転自在に支持された複数のプラネタリギヤが配置される、
モータ装置。
発明の詳細な説明
【技術分野】
【0001】
本発明は、遊星歯車減速機を有するモータ装置に関する。
続きを表示(約 1,600 文字)
【背景技術】
【0002】
例えば、特許文献1には、回転軸を有するモータと、回転軸の回転を減速する遊星歯車機構と、を備えたギアドモータが記載されている。回転軸はハウジングに固定された軸受により回転自在に支持され、回転軸にはサンギアが固定されている。サンギアはケースの内側に設けられたリングギアおよびピニオンギアと共に、遊星歯車減速機を形成している。
【先行技術文献】
【特許文献】
【0003】
特開2021-121742号公報
【発明の概要】
【発明が解決しようとする課題】
【0004】
特許文献1に記載された技術では、回転軸は、ハウジングの凸部の径方向内側に固定された軸受により回転自在に支持されている。また、回転軸に固定されたサンギアは、ハウジングの凸部の径方向外側に固定されたケースのリングギアに対し、ピニオンギアを介して回転自在に支持されている。
【0005】
したがって、回転軸の回転中心とサンギヤを含む遊星歯車減速機の回転中心との一致または不一致は、ハウジングの凸部の成形精度に左右される。ハウジングの凸部の成形精度が低いと、回転軸の回転中心と遊星歯車減速機の回転軸心とが互いにずれてしまい、回転軸から遊星歯車減速機に対して駆動力がスムーズに伝わらず、製品毎にモータ特性がばらつくという問題があった。
【0006】
本発明の目的は、回転軸から遊星歯車減速機に対して駆動力をスムーズに伝えることができるモータ装置を提供することにある。
【課題を解決するための手段】
【0007】
モータ装置の一態様では、回転軸を回転自在に収容するモータケースと、遊星歯車減速機を回転自在に収容するギヤケースと、を備え、前記モータケースおよび前記ギヤケースを、前記回転軸の軸方向に並べてなるモータ装置であって、前記回転軸を回転自在に支持するベアリングと、前記回転軸の端部に装着され、かつ前記遊星歯車減速機の中心に配置されるサンギヤと、を有し、前記モータケースには、前記回転軸に対して同軸上に配置される第1ベアリング装着部が設けられ、前記ギヤケースには、前記サンギヤに対して同軸上に配置される第2ベアリング装着部が設けられ、前記第1ベアリング装着部および前記第2ベアリング装着部に、前記ベアリングの軸方向両側がそれぞれ装着されている。
【発明の効果】
【0008】
本発明によれば、回転軸から遊星歯車減速機に対して駆動力をスムーズに伝えることが可能なモータ装置を実現できる。
【図面の簡単な説明】
【0009】
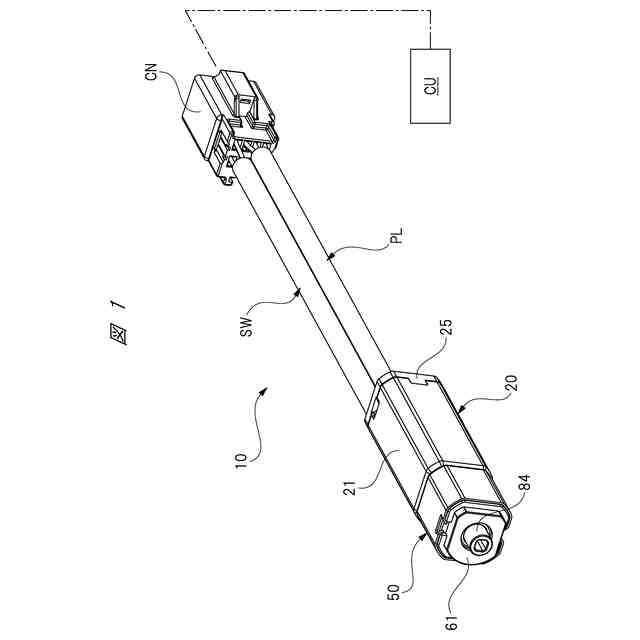
車両に搭載されるシート用モータを示す斜視図である。
図1のシート用モータの回転軸の軸方向に沿う断面図である。
第1ボールベアリングの周辺を示す拡大断面図である。
第2ボールベアリングの周辺を示す拡大断面図である。
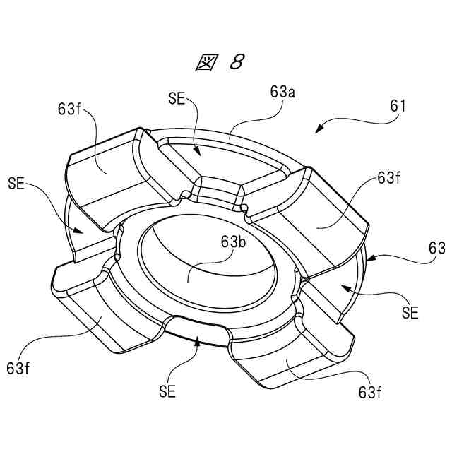
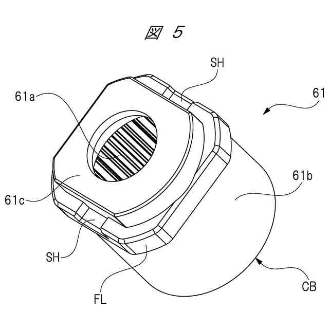
ギヤケース単体を小径部側から見た斜視図である。
ギヤケース単体をケース開口側から見た斜視図である。
閉塞部材単体をギヤケース側から見た斜視図である。
閉塞部材単体を電動モータ部側から見た斜視図である。
ロータおよび第1,第2遊星歯車減速機を示す分解斜視図である。
<ロータコア装着工程>を説明する図である。
<第1対向部材装着工程>を説明する図である。
<接着剤塗布工程>を説明する図である。
<リングマグネット装着工程>を説明する図である。
<第2対向部材突き当て工程>を説明する図である。
【発明を実施するための形態】
【0010】
以下、本発明の一実施の形態について、図面を用いて詳細に説明する。
(【0011】以降は省略されています)
この特許をJ-PlatPat(特許庁公式サイト)で参照する
関連特許
株式会社ミツバ
回転電機
17日前
株式会社ミツバ
巻線装置
1か月前
株式会社ミツバ
回転電機
24日前
株式会社ミツバ
モータ装置
12日前
株式会社ミツバ
モータ装置
25日前
株式会社ミツバ
ワイパ装置
1か月前
株式会社ミツバ
ワイパ装置
1か月前
株式会社ミツバ
ワイパブレード
1か月前
株式会社ミツバ
ワイパブレード
1か月前
株式会社ミツバ
ワイパブレード
1か月前
株式会社ミツバ
モータ制御装置
1か月前
株式会社ミツバ
モータ制御装置
1か月前
株式会社ミツバ
非容積型ポンプ
1か月前
株式会社ミツバ
ブラシレスモータ
26日前
株式会社ミツバ
モータ及びファン装置
25日前
株式会社ミツバ
巻線装置、及び、巻線方法
1か月前
株式会社ミツバ
巻線装置、及び、巻線方法
1か月前
株式会社ミツバ
モータシステム及び電動車両
25日前
株式会社ミツバ
モータ装置およびロータの製造方法
25日前
株式会社ミツバ
モータ装置、ワイパー装置、及びモータ制御方法
25日前
株式会社ミツバ
モータ装置、ワイパー装置、及びモータ制御方法
20日前
個人
留め具
20日前
個人
鍋虫ねじ
2か月前
個人
ホース保持具
6か月前
個人
紛体用仕切弁
2か月前
個人
回転伝達機構
2か月前
個人
トーションバー
7か月前
個人
差動歯車用歯形
4か月前
個人
給排気装置
27日前
個人
ジョイント
1か月前
株式会社不二工機
電磁弁
4か月前
個人
地震の揺れ回避装置
3か月前
株式会社不二工機
電磁弁
5か月前
個人
ナット
1か月前
個人
吐出量監視装置
2か月前
カヤバ株式会社
緩衝器
3か月前
続きを見る
他の特許を見る