TOP
|
特許
|
意匠
|
商標
特許ウォッチ
Twitter
他の特許を見る
公開番号
2025177172
公報種別
公開特許公報(A)
公開日
2025-12-05
出願番号
2024083763
出願日
2024-05-23
発明の名称
ラッチ
出願人
竹内工業株式会社
代理人
個人
主分類
F16B
19/10 20060101AFI20251128BHJP(機械要素または単位;機械または装置の効果的機能を生じ維持するための一般的手段)
要約
【課題】板部材を結合したときの信頼性を高め、作業性及び管理上の課題を改善したラッチを提供する。
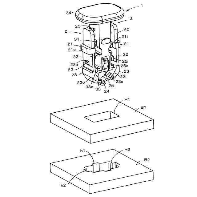
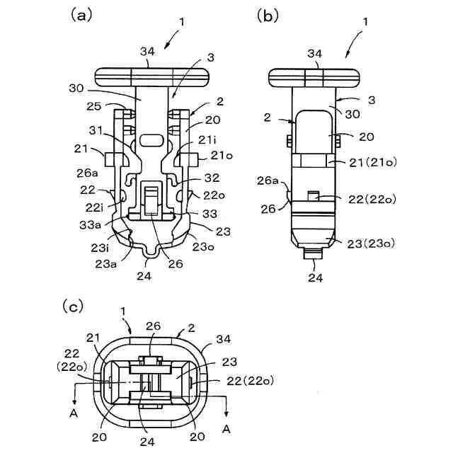
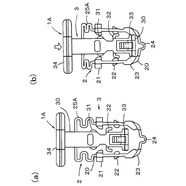
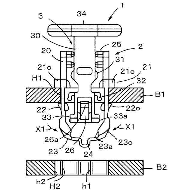
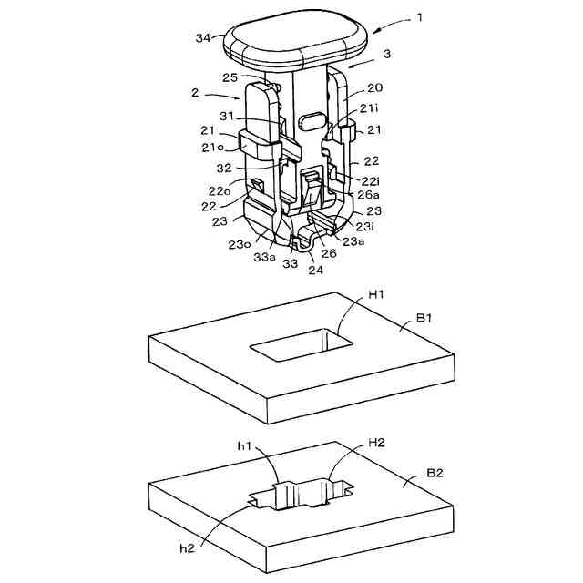
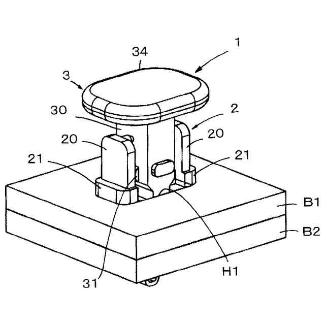
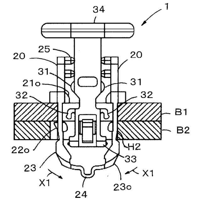
【解決手段】第1板部材B1と第2板部材B2を板厚方向に重ねて結合するラッチ1であり、両板部材B1,B2に開口された係合穴H1,H2に係合される複数の係合部21~23を備えるグロメット部2と、グロメット部2に対して押し込み位置と引き抜き位置の2つの位置に移動操作されるプランジャー部3を備える。プランジャー部3とグロメット部2は少なくともプランジャー部3が押し込まれる前は一体に連結された状態にある。プランジャー部3は、押し込み位置にあるときに複数の係合部21~23の係合状態を保持し、引き抜き位置にあるときには複数の係合部21~23の係合状態の保持を解除する係合保持部31~33を備える。
【選択図】 図1
特許請求の範囲
【請求項1】
第1板部材と第2板部材を板厚方向に重ねて結合するラッチであり、前記第1板部材に開口された第1係合穴と前記第2板部材に開口された第2係合穴にそれぞれ係合されて前記第1板部材と前記第2板部材をそれぞれ挟持する複数の係合部を備えるグロメット部と、前記グロメット部に対して押し込み位置と引き抜き位置の2つの位置に移動操作されるプランジャー部を備え、前記プランジャー部と前記グロメット部は少なくともプランジャー部が押し込まれる前は一体に連結された状態にあり、前記プランジャー部は、押し込み位置にあるときに前記複数の係合部の係合状態を保持し、引き抜き位置にあるときには前記複数の係合部の係合状態の保持を解除する係合保持部を備えることを特徴とするラッチ。
続きを表示(約 740 文字)
【請求項2】
前記グロメット部は第1係合部、第2係合部及び第3係合部を備え、前記第1係合部と前記第2係合部は前記第1係合穴に係合されて前記第1板部材を挟持し、前記第3係合部は前記第2係合穴に係合されて前記第1係合部とで前記第1板部材及び前記第2板部材を挟持する構成であり、前記プランジャー部は第1係合保持部、第2係合保持部及び第3係合保持部を備え、押し込み位置にあるときに前記第1係合保持部、前記第2係合保持部及び前記第3係合保持部がそれぞれ前記第1係合部、前記第2係合部及び前記第3係合部に当接されて前記各係合部の係合状態を保持し、引き抜き位置にあるときに前記各係合部の係合状態の保持を解除する請求項1に記載のラッチ。
【請求項3】
前記第3係合部と前記第2係合穴との係合は、前記プランジャー部が引き抜き位置にあるときに、前記グロメット部を前記第2係合穴から引き抜くことが可能な構成である請求項2に記載のラッチ。
【請求項4】
前記第1係合部及び前記第2係合部と前記第1係合穴との係合は、前記プランジャー部が引き抜き位置にあるときに、前記グロメット部を強制的に変形して前記第1係合穴から引き抜くことが可能な構成である請求項2に記載のラッチ。
【請求項5】
前記プランジャー部と前記グロメット部は連結片により連結されており、前記連結片は前記グロメットを押し込んだときに切断されて連結が解消される請求項1に記載のラッチ。
【請求項6】
前記プランジャー部と前記グロメット部は連結片により連結されており、前記連結片は前記グロメットを押し込んだときに当該グロメット部に追従して弾性変形される請求項1に記載のラッチ。
発明の詳細な説明
【技術分野】
【0001】
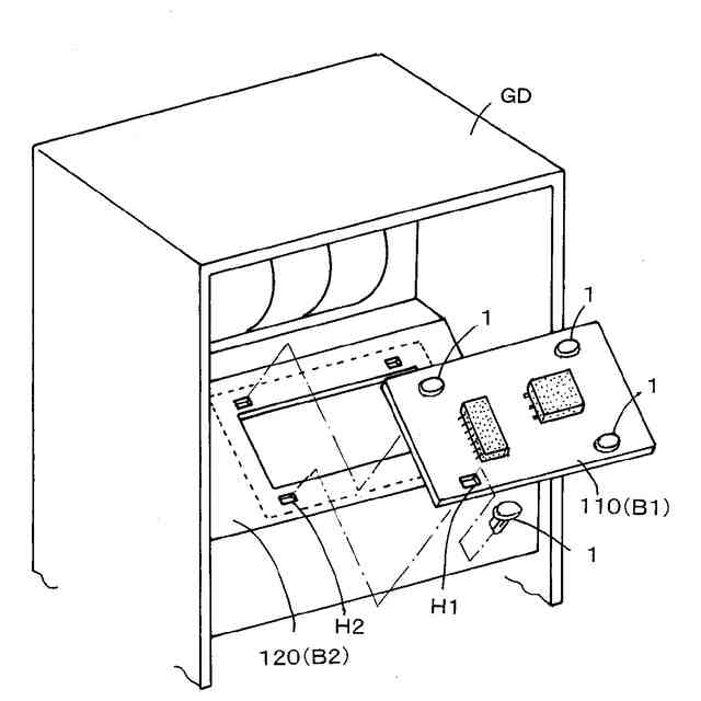
本発明は2枚の板部材を重ねた状態で結合するためのラッチに関し、特に押し込み、引き抜き操作により結合と結合解除を行なうプッシュプル型のラッチに関する。
続きを表示(約 2,000 文字)
【背景技術】
【0002】
板部材を板厚方向に重ねた状態で結合するためのラッチが提案されている。特許文献1には、支柱部の一方の端部である頭部に第1板部材を固定し、支柱部の他方の端部に設けた係合部位を第2板部材の穴に係合させることにより2枚の板部材を結合するラッチが提案されている。また、特許文献2には、2枚の板部材にそれぞれ設けた係合穴に係合して2枚の板部材を結合するアンカーを備え、このアンカーの間にプッシュピンを内挿することによりアンカーと係合穴との係合状態を保持する構成が提案されている。
【先行技術文献】
【特許文献】
【0003】
特開平08-270628号公報
特開2004-360912号公報
【発明の概要】
【発明が解決しようとする課題】
【0004】
特許文献1のラッチは、第1板部材をラッチの頭部に固定し、その後に第2板部材をラッチの係合部位に係止させる構成であり、独立した異なる2段階の作業が必要とされるために、結合に際しての作業性の点で課題がある。また、第2板部材の係合状態を保持するための構成が存在していないため、大きな外力を受けたときに第2板部材の係合が解除されてしまうことがあり、結合の信頼性にかかわる課題がある。
【0005】
特許文献2のアンカーは、2枚の板部材を合わせた状態で同時に結合する構成であり、結合を解除する際にはアンカーを2枚の板部材から同時に取り外す構成である。そのため、アンカーから1枚の板部材のみを取り外すことは難しい。また、結合を解除したときにはアンカーが2枚の板部材のいずれからも離脱された状態となり、このアンカーを再度利用しようとした場合には、再度結合するまでの間、アンカーを板部材とは別に保管しなければならず管理上の課題がある。
【0006】
本発明の目的は、結合の信頼性を高めるとともに、作業性及び管理上の課題を改善したラッチを提供する。
【課題を解決するための手段】
【0007】
本発明は、第1板部材と第2板部材を板厚方向に重ねて結合するラッチであり、第1板部材に開口された第1係合穴と第2板部材に開口された第2係合穴にそれぞれ係合されて第1板部材と第2板部材をそれぞれ挟持する複数の係合部を備えるグロメット部と、グロメット部に対して押し込み位置と引き抜き位置の2つの位置に移動操作されるプランジャー部を備える。その上で、プランジャー部とグロメット部は少なくともプランジャー部が押し込まれる前は一体に連結された状態にあり、プランジャー部は、押し込み位置にあるときに複数の係合部の係合状態を保持し、引き抜き位置にあるときには複数の係合部の係合状態の保持を解除する係合保持部を備える。
【0008】
例えば、本発明のラッチは、グロメット部は第1係合部、第2係合部及び第3係合部を備え、第1係合部と第2係合部は第1係合穴に係合されて第1板部材を挟持し、第3係合部は第2係合穴に係合されて第1係合部とで第1板部材と第2板部材を挟持する構成である。また、プランジャー部は第1係合保持部、第2係合保持部及び第3係合保持部を備え、押し込み位置にあるときに第1係合保持部、第2係合部及び第3係合保持部がそれぞれ第1係合部、第2係合部及び第3係合部に当接されて各係合部の係合状態を保持し、引き抜き位置にあるときに各係合部の係合状態の保持を解除する構成である。
【0009】
また、本発明のラッチは、プランジャー部とグロメット部は連結部により連結されており、連結部はグロメットを押し込んだときに切断されて連結が解除される。あるいは、プランジャー部とグロメット部は連結片により連結されており、連結片はグロメットを押し込んだときにグロメット部に追従して弾性変形される。
【発明の効果】
【0010】
本発明のラッチによれば、グロメット部の係合部が第1板部材と第2板部材の各係合穴にそれぞれ係合することにより第1板部材と第2板部材が結合され、プランジャー部により各係合穴における係合状態が保持されるので、信頼性の高い結合が可能となる。また、第1板部材と第2板部材を順序的に係合して結合を行うことができ、これとは逆の順序で結合を解除することができるので、結合を解除してもラッチを第1板部材と一体的に保持することができる。さらに、グロメット部とプランジャー部は一体に形成されているので、一つの部品で板部材の結合が可能になる。これにより、作業性が改善されるとともに、部品点数が低減でき、取り扱い及び管理が容易になる。
【図面の簡単な説明】
(【0011】以降は省略されています)
この特許をJ-PlatPat(特許庁公式サイト)で参照する
関連特許
竹内工業株式会社
ラッチ
今日
竹内工業株式会社
配線ダクト
3か月前
個人
留め具
1か月前
個人
鍋虫ねじ
3か月前
個人
ホース保持具
7か月前
個人
紛体用仕切弁
3か月前
個人
回転伝達機構
4か月前
個人
差動歯車用歯形
5か月前
個人
給排気装置
1か月前
個人
ジョイント
2か月前
株式会社不二工機
電磁弁
6か月前
株式会社不二工機
電磁弁
5か月前
個人
地震の揺れ回避装置
4か月前
個人
ナット
2か月前
個人
ナット
1か月前
個人
ゲート弁バルブ
15日前
個人
吐出量監視装置
3か月前
カヤバ株式会社
緩衝器
5か月前
柿沼金属精機株式会社
分岐管
3か月前
カヤバ株式会社
緩衝器
5か月前
カヤバ株式会社
ダンパ
5か月前
兼工業株式会社
バルブ
1か月前
カヤバ株式会社
ダンパ
5か月前
カヤバ株式会社
緩衝器
1か月前
株式会社ノーリツ
分配弁
7か月前
株式会社不二工機
電磁弁
3か月前
株式会社ノーリツ
分配弁
7か月前
株式会社ニフコ
クリップ
15日前
日東電工株式会社
断熱材
7か月前
株式会社ノーリツ
分配弁
2か月前
株式会社ニフコ
クリップ
2か月前
個人
固着具と固着具の固定方法
6か月前
アズビル株式会社
回転弁
2か月前
株式会社不二工機
電動弁
1か月前
個人
固着具と固着具の固定方法
6か月前
株式会社ノーリツ
分配弁
7か月前
続きを見る
他の特許を見る