TOP
|
特許
|
意匠
|
商標
特許ウォッチ
Twitter
他の特許を見る
10個以上の画像は省略されています。
公開番号
2025122693
公報種別
公開特許公報(A)
公開日
2025-08-22
出願番号
2024018265
出願日
2024-02-09
発明の名称
配線ダクト
出願人
竹内工業株式会社
代理人
個人
主分類
H02G
3/04 20060101AFI20250815BHJP(電力の発電,変換,配電)
要約
【課題】配線ダクトを配設する際の作業性を改善し、かつ、線部材の屈曲及び分岐に対応して線部材を保護する配線ダクトを提供する。
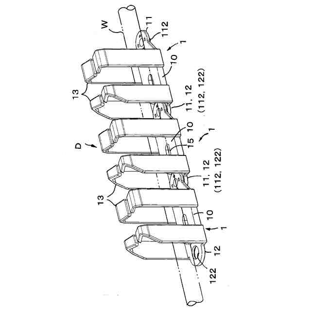
【解決手段】複数の単位ダクト1を長さ方向に連結して所望の長さに構成される配線ダクトDであり、単位ダクト1は、所要の長さ寸法及び幅寸法を有する底板10と、底板10の幅方向の両側縁に立設されて線部材Wを保持する対をなす保持片13と、底板10の長さ方向の一方の端部に設けられた第1連結部11と、底板10の長さ方向の他方の端部に設けられた第2連結部12と、を備える。第1連結部11は、底板10の板厚方向に突出された連結突部112を備える雄側連結部として構成され、第2連結部12は、連結突部112が底板10の板厚方向から連結される連結受部122を備える雌側連結部として構成される。第1連結部11と第2連結部12は、底板10の面方向に回転が可能である。
【選択図】図1
特許請求の範囲
【請求項1】
複数の単位ダクトを長さ方向に連結して所望の長さに構成される配線ダクトであって、前記単位ダクトは、所要の長さ寸法及び幅寸法を有する底板と、この底板の幅方向の両側縁に立設されて前記底板上に延設される線部材を保持する対をなす保持片と、前記底板の長さ方向の一方の端部に設けられた第1連結部と、前記底板の長さ方向の他方の端部に設けられた第2連結部を備えており、前記第1連結部は前記底板の一方の端部が前記長さ方向に延長された第1連結片と、この第1連結片に設けられて前記底板の板厚方向に突出された連結突部を備える雄側連結部として構成され、前記第2連結部は前記底板の他方の端部が前記長さ方向に延長された第2連結片と、この第2連結片に設けられて前記連結突部が前記底板の板厚方向から連結される連結受部を備える雌側連結部として構成されることを特徴とする配線ダクト。
続きを表示(約 680 文字)
【請求項2】
前記連結突部は弾性変形が可能なスナップで構成され、前記連結受部は前記スナップが前記底板の板厚方向から嵌合される嵌合孔で構成される請求項1に記載の配線ダクト。
【請求項3】
前記連結突部は弾性変形が可能なスナップで構成され、前記連結受部は前記スナップが前記底板の板厚方向から挿入されかつ前記長さ方向に移動可能な長孔で構成され、当該長孔の内縁には前記スナップが前記長さ方向に移動可能に係合される内縁片を備える請求項1に記載の配線ダクト。
【請求項4】
前記連結突部と前記連結受部は、連結されている状態では、前記単位ダクトが前記底板の面方向に回転可能な構成である請求項1に記載の配線ダクト。
【請求項5】
連結された前記単位ダクトの少なくとも一方の保持片を切除することにより、前記単位ダクトの回転可能な角度が増大される請求項4に記載の配線ダクト。
【請求項6】
前記第1連結片または前記第2連結片には、連結相手方の連結部の近傍に位置される係止片が延長形成されており、この係止片により前記相手方の単位ダクトの回転が係止される請求項4に記載の配線ダクト。
【請求項7】
前記単位ダクトは、前記底板の長さ方向の中間位置に、長さ方向と交差する方向に向けられた単位ダクトが連結される第3連結部を備えており、当該第3連結部は前記底板の下面に設けられた幅方向の凹溝で構成され、この凹溝に前記他の連結ダクトの第2連結部が内挿されて連結が行なわれる請求項1に記載の配線ダクト。
発明の詳細な説明
【技術分野】
【0001】
本発明は電線やケーブル等の線部材を配電盤あるいは壁や床の配設対象物(以下、配電盤等と称する)に沿って配設するための配線ダクトに関する。
続きを表示(約 2,100 文字)
【背景技術】
【0002】
配線ダクトは、電線やケーブル等の線部材を配電盤等の表面に沿って配設しかつ保持するとともに、外力から保護するために用いられる。従来の配線ダクトは内部に線部材を収容する所要の長さの樋状に形成されており、配設する際には必要な長さに切断しているため、切断作業が面倒なものになる。このような切断作業を不要にして配設作業を簡略化するために、例えば、特許文献1、2の配線ダクトが提案されている。特許文献1,2の配線ダクトは、比較的に短い所要の長さをした単位ダクトを、長さ方向の端部において連結することにより所望の長さの配線ダクトを構成している。
【先行技術文献】
【特許文献】
【0003】
特開2001-177945号公報
特開平07-111720号公報
【発明の概要】
【発明が解決しようとする課題】
【0004】
特許文献1の配線ダクトは、単位ダクトの底板の長さ方向の両端に連結部を備えており、連結された複数の単位ダクトを連結部において連結し、所望の長さの配線ダクトが構成される。連結された配線ダクトは、水平方向(底板の面方向)に屈曲させることが可能とされている。特許文献2の配線ダクトは、単位ダクトの底低の両側に立設される底板の長さ方向の両端に連結部を備えており、連結された複数の単位ダクトを連結部において連結し、所望の長さの配線ダクトが構成される。連結された配線ダクトは、鉛直方向(底板の面と直交する方向)に屈曲させることが可能とされている。
【0005】
特許文献1,2のいずれの配線ダクトにおいても、単位ダクトを連結する際には、連結する一対の単位ダクトを互いに単位ダクトの長さ方向に移動させて連結する構成がとられている。そのため、多数の単位ダクトが連結された配線ダクトを構成したときに、長さ方向の中間に位置されている単位ダクトの連結を解除することは難しい。特に、配線ダクトを配電盤等に配設したような場合には、全部または一部の単位ダクトを配電盤等にネジ等により固定するので、各単位ダクトを独立して長さ方向に移動させることは難しく、中間位置の単位ダクトの連結を解除し、あるいは再度連結を行うことは難しい。したがって、このような場合には、例えば配線ダクトの少なくとも一部を配電盤等から一旦取り外す必要があり、作業性が悪いものとなる。
【0006】
また、特許文献1,2の配線ダクトは、複数の単位ダクトが直線状に連結される構成であり、連結部において屈曲させることで、線部材を屈曲状態に敷設することは可能である。しかし、直線状態あるいは屈曲した状態を保持するための構造を備えていないため、外力等を受けたときに配線ダクトの直線状態や屈曲状態が変化されることがあり、線部材を保護する観点からも好ましくない。
【0007】
さらに、特許文献1,2の配線ダクトは、保持する線部材の一部を配線ダクトの途中から分岐させて引き出すことが難しい。仮に分岐させることができても、分岐した線部材を配線ダクトにより保持しかつ保護することが難しい。分岐した線部材を保持するためには、別の配線ダクトを配設する必要があり、そのための作業が煩雑なものになる。また、別の配線ダクトを本となる配線ダクトに連結し、分岐箇所において線部材を保持する構成とすることも難しい。
【0008】
本発明の目的は、線部材を保持する配線ダクトを配設する際の作業性を改善した配線ダクトを提供する。また、本発明の目的は、線部材の屈曲、分岐に対応して線部材を保護することが可能な配線ダクトを提供する。
【課題を解決するための手段】
【0009】
本発明は、複数の単位ダクトを長さ方向に連結して所望の長さに構成される配線ダクトであり、単位ダクトは、所要の長さ寸法及び幅寸法を有する底板と、この底板の幅方向の両側縁に立設されて底板上に延設される線部材を保持する対をなす保持片と、底板の長さ方向の一方の端部に設けられた第1連結部と、底板の長さ方向の他方の端部に設けられた第2連結部を備えている。第1連結部は、底板の一方の端部が長さ方向に延長された第1連結片と、この第1連結片に設けられて底板の板厚方向に突出された連結突部を備える雄側連結部として構成される。第2連結部は底板の他方の端部が長さ方向に延長された第2連結片と、この第2連結片に設けられて連結突部が底板の板厚方向から連結される連結受部を備える雌側連結部として構成される。
【0010】
本発明において、例えば、連結突部は弾性変形が可能なスナップで構成され、連結受部はスナップが底板の板厚方向から嵌合される嵌合孔で構成される。あるいは、連結突部は弾性変形が可能なスナップで構成され、連結受部はスナップが底板の板厚方向から挿入されかつ長さ方向に移動可能な長孔で構成され、長孔の内縁にはスナップが長さ方向に移動可能に係合される内縁片を備える構成とされる。
(【0011】以降は省略されています)
この特許をJ-PlatPat(特許庁公式サイト)で参照する
関連特許
竹内工業株式会社
配線ダクト
2か月前
個人
単極モータ
22日前
キヤノン電子株式会社
モータ
6日前
株式会社アイシン
ロータ
22日前
株式会社アイシン
ロータ
26日前
日星電気株式会社
ケーブル組立体
14日前
コーセル株式会社
電源装置
7日前
株式会社デンソー
回転機
20日前
個人
二次電池繰返パルス放電器用印刷基板
12日前
株式会社kaisei
発電システム
22日前
株式会社デンソー
電力変換装置
21日前
株式会社ミツバ
回転電機
19日前
株式会社デンソー
電力変換装置
13日前
株式会社デンソー
非接触受電装置
15日前
トヨタ自動車株式会社
固定子の加熱装置
9日前
株式会社ダイヘン
インバータ装置
21日前
矢崎総業株式会社
ワイヤーハーネス
22日前
山洋電気株式会社
モータ
12日前
個人
電線盗難防止方法及び電線盗難防止装置
6日前
株式会社TMEIC
電力変換装置
19日前
トヨタ紡織株式会社
ロータの製造装置
7日前
株式会社明治ゴム化成
ワイヤレス給電用部品
8日前
株式会社マキタ
電動作業機
6日前
トヨタ自動車株式会社
可変界磁ロータ
1日前
株式会社竹内製作所
作業用車両
26日前
株式会社デンソー
ステータ及びモータ
22日前
株式会社ダイフク
非接触給電設備
14日前
トヨタ自動車株式会社
車両照合システム
6日前
ニデック株式会社
回転電機
26日前
カヤバ株式会社
防水構造
26日前
日本パルスモーター株式会社
一定力発生器
14日前
ダイキン工業株式会社
電力変換装置
26日前
個人
電動自動車用同期電動機の変速方法と駆動制御装置
今日
大和ハウス工業株式会社
電力供給システム
20日前
矢崎総業株式会社
ワイヤーハーネス
22日前
新電元工業株式会社
水素製造システム
22日前
続きを見る
他の特許を見る