TOP
|
特許
|
意匠
|
商標
特許ウォッチ
Twitter
他の特許を見る
公開番号
2025154228
公報種別
公開特許公報(A)
公開日
2025-10-10
出願番号
2024057111
出願日
2024-03-29
発明の名称
作業用車両
出願人
株式会社竹内製作所
代理人
めぶき弁理士法人
主分類
H02J
7/00 20060101AFI20251002BHJP(電力の発電,変換,配電)
要約
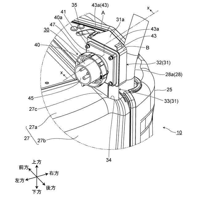
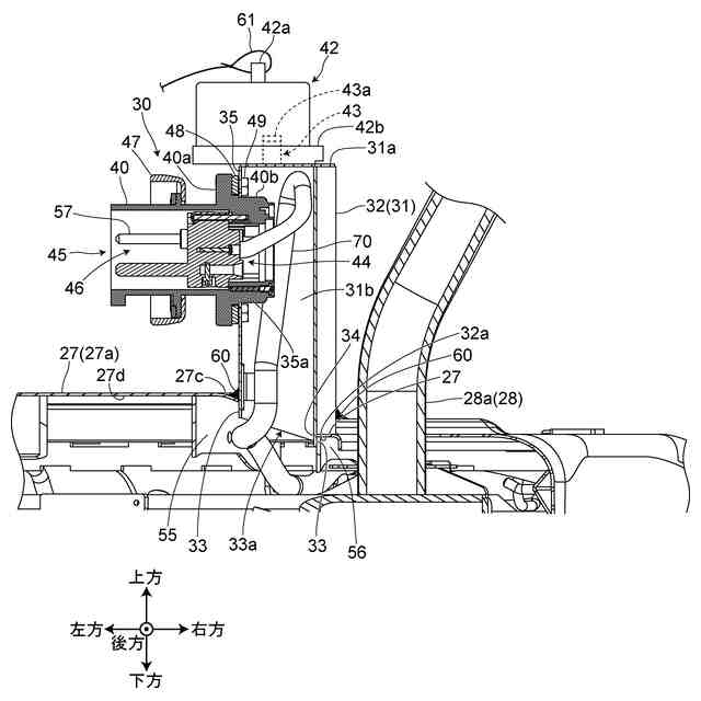
【課題】車載充電用電源コネクタの組立て工数の低減すること、及び車載充電用電源コネクタケース周辺の省スペース化を実現すること。
【解決手段】作業用車両1は、車載充電用電源コネクタ30と、車載充電用電源コネクタ30が取り付けられ、充電用ケーブル70が挿通される車載充電用電源コネクタケース31とを有する。車載充電用電源コネクタケース31は、バッテリカバー27の右方側端部に配置される。車載充電用電源コネクタケース31は、車載充電用電源コネクタケース固定部33で、バッテリカバー27の内側裏面27dに固定されている補強板56に固定される。
【選択図】図2
特許請求の範囲
【請求項1】
外部電源からの電力を車体の内部に配置されるバッテリに供給する充電用ケーブルが接続される車載充電用電源コネクタと、
前記車体の後端部で、かつバッテリカバーの車幅方向の右方側又は左方側の端部に配置され、前記充電用ケーブルが挿通される中空の車載充電用電源コネクタケースと、
を有し、
前記車載充電用電源コネクタケースは、前記バッテリカバーの外側上面に配置され前記車載充電用電源コネクタを装着することが可能な車載充電用電源コネクタ装着部、及び、該車載充電用電源コネクタ装着部から延長され、前記バッテリカバーを貫通する車載充電用電源コネクタケース固定部を有し、
前記車載充電用電源コネクタケース固定部は、前記バッテリカバーの内側裏面に固定されている補強板に固定されている、
ことを特徴とする作業用車両。
続きを表示(約 910 文字)
【請求項2】
請求項1に記載の作業用車両において、
前記車載充電用電源コネクタケースは、前記車幅方向に対して前記車体の斜め後方側に前記車載充電用電源コネクタの給電口を向けて前記バッテリカバーに取付けられている、
ことを特徴とする作業用車両。
【請求項3】
請求項1に記載の作業用車両において、
前記補強板は、前記バッテリカバーの前記内側裏面に立上げ部を有し、
前記立上げ部は、前記車載充電用電源コネクタケース固定部に沿って配置されており、
前記車載充電用電源コネクタケースは、前記車載充電用電源コネクタケース固定部と前記立上げ部との間で溶接固定されている、
ことを特徴とする作業用車両。
【請求項4】
請求項1記載の作業用車両において、
前記車載充電用電源コネクタケース及び前記車載充電用電源コネクタは、前記車体の旋回半径の内側に配置されている、
ことを特徴とする作業用車両。
【請求項5】
請求項1に記載の作業用車両において、
前記充電用ケーブルは、前記バッテリカバーを全開したときに前記車載充電用電源コネクタと、該車載充電用電源コネクタと前記バッテリとの間に配置される充電制御器とを接続することが可能な長さを有している、
ことを特徴とする作業用車両。
【請求項6】
請求項1に記載の作業用車両において、
前記バッテリカバーと前記車載充電用電源コネクタケースとの間の隙間には防水処理が施されている、
ことを特徴とする作業用車両。
【請求項7】
請求項6に記載の作業用車両において、
前記防水処理は、コーキングである、
ことを特徴とする作業用車両。
【請求項8】
請求項1記載の作業用車両において、
前記車載充電用電源コネクタケースの頂面に、前記車載充電用電源コネクタの給電口を封止するためのコネクタキャップを保持するコネクタキャップ保持部材が固定されている、
ことを特徴とする作業用車両。
発明の詳細な説明
【技術分野】
【0001】
本発明は、作業用車両に関する。
続きを表示(約 1,700 文字)
【背景技術】
【0002】
作業用車両としては、例えば、地面を掘削したり、掘削した土砂等を移動させたりする際に使用されるクローラ式スキッドステアローダや油圧ショベルなどが広く知られている。近年、環境対策として電動モータを動力源とする作業用車両が実用化されつつある。このような電動式の作業用車両は、電源側の給電用ケーブルに接続可能な車載充電用電源コネクタを有し、車載充電用電源コネクタは充電用ケーブルを介してバッテリに接続される。
【0003】
ところで、車載充電用電源コネクタは、車載充電用電源コネクタケースの外郭に取り付けられる。車載充電用電源コネクタは、車載充電用電源コネクタケースの内部で車体側の充電ケーブルに接続される。車載充電用電源コネクタケースは、車体の後部において、カウンタウエイトの上端張出し部の上面に固定されている。充電ケーブルは、車載充電用電源コネクタケースの底板部及びカウンタウエイトの上端張出し部を貫通してバッテリに接続される(例えば、特許文献1参照)。
【0004】
また、上記特許文献1に記載の作業用車両において、車載充電用電源コネクタは、点検作業の際にバッテリカバーを開けると、バッテリカバーによって後方側から覆われる構成となっている。
【先行技術文献】
【特許文献】
【0005】
特開2022-47111号公報
【発明の概要】
【発明が解決しようとする課題】
【0006】
上記特許文献1に記載の車載充電用電源コネクタケースは、側壁部の内側において、底板部を介して固定ネジなどでカウンタウエイトに固定される。側壁部の上部は閉じられていることから、組立作業は、車載充電用電源コネクタケースの内側の空間内で組み立て作業を行うことになる。そのため、組立て作業が面倒であり、組立て工数が増加するという課題がある。
【0007】
また、外部電源側の給電ケーブルと車体側の充電ケーブルとの接続部、つまり、給電用コネクタと車載充電用電源コネクタとの接続部が斜め下方に向かい、かつ車幅の中央付近まで延長される構造となっている。そのため、車載充電用電源コネクタケースの高さ方向及び車幅方向の占有スペースが大きくなってしまうという課題がある。さらに、点検作業などにおいて、開けられたバッテリカバーによって車載充電用コネクタが覆われてしまうことから、バッテリカバーを開けた状態での点検作業が難しいという課題がある。
【0008】
そこで、本発明は、上記課題の少なくとも一つを解決するためになされたものであり、組立て工数を低減することが可能であり、バッテリカバーの車載充電用電源コネクタケース周辺の省スペース化を図ることが可能とする作業用車両を提供しようとするものである。
【課題を解決するための手段】
【0009】
[1]本発明の作業用車両は、外部電源からの電力を車体の内部に配置されるバッテリに供給する充電用ケーブルが接続される車載充電用電源コネクタと、
前記車体の後端部で、かつバッテリカバーの車幅方向の右方側又は左方側の端部に配置され、前記充電用ケーブルが挿通される中空の車載充電用電源コネクタケースと、
を有し、
前記車載充電用電源コネクタケースは、前記バッテリカバーの外側上面に配置され前記車載充電用電源コネクタを装着することが可能な車載充電用電源コネクタ装着部、及び、該車載充電用電源コネクタ装着部から延長され、前記バッテリカバーを貫通する車載充電用電源コネクタケース固定部を有し、前記車載充電用電源コネクタケース固定部は、前記バッテリカバーの内側裏面に固定されている補強板に固定されていることを特徴とする。
【0010】
[2]本発明の作業用車両においては、前記車載充電用電源コネクタケースは、前記車幅方向に対して前記車体の斜め後方側に前記車載充電用電源コネクタの給電口を向けて前記バッテリカバーに取付けられている、ことが好ましい。
(【0011】以降は省略されています)
この特許をJ-PlatPat(特許庁公式サイト)で参照する
関連特許
個人
電気を重力で発電装置
13日前
キヤノン電子株式会社
モータ
20日前
キヤノン電子株式会社
モータ
12日前
コーセル株式会社
電源装置
21日前
日星電気株式会社
ケーブル組立体
28日前
トヨタ自動車株式会社
モータ
12日前
個人
二次電池繰返パルス放電器用印刷基板
26日前
株式会社デンソー
電力変換装置
27日前
株式会社デンソー
非接触受電装置
29日前
トヨタ自動車株式会社
固定子の加熱装置
23日前
ローム株式会社
モータドライバ回路
7日前
日産自動車株式会社
ロータシャフト
7日前
日産自動車株式会社
ロータシャフト
7日前
個人
非対称鏡像力を有する4層PWB電荷搬送体
7日前
山洋電気株式会社
モータ
26日前
トヨタ自動車株式会社
ステータの製造装置
13日前
株式会社マキタ
電動作業機
20日前
株式会社明治ゴム化成
ワイヤレス給電用部品
22日前
株式会社アイシン
電力変換装置
12日前
トヨタ自動車株式会社
可変界磁ロータ
15日前
トヨタ紡織株式会社
ロータの製造装置
21日前
個人
電線盗難防止方法及び電線盗難防止装置
20日前
トヨタ自動車株式会社
車両照合システム
20日前
大阪瓦斯株式会社
充放電中継装置
13日前
大阪瓦斯株式会社
充放電中継装置
13日前
株式会社豊田自動織機
電力供給システム
12日前
豊田合成株式会社
車両用非接触充電装置
12日前
ルネサスエレクトロニクス株式会社
半導体装置
12日前
ニデック株式会社
回転電機
12日前
株式会社ダイフク
非接触給電設備
28日前
株式会社豊田中央研究所
分散電源システム
7日前
個人
電動自動車用同期電動機の変速方法と駆動制御装置
14日前
日本パルスモーター株式会社
一定力発生器
28日前
パナソニック株式会社
分電盤
12日前
株式会社日立産機システム
電力変換装置
20日前
パナソニック株式会社
分電盤
12日前
続きを見る
他の特許を見る