TOP
|
特許
|
意匠
|
商標
特許ウォッチ
Twitter
他の特許を見る
公開番号
2025159951
公報種別
公開特許公報(A)
公開日
2025-10-22
出願番号
2024062843
出願日
2024-04-09
発明の名称
非接触給電設備
出願人
株式会社ダイフク
代理人
弁理士法人R&C
主分類
H02J
50/12 20160101AFI20251015BHJP(電力の発電,変換,配電)
要約
【課題】隣り合う給電線の間で生じる干渉電力を低減させると共に、複数の給電線を有する非接触給電設備を従来よりも簡素なシステムによって構成する。
【解決手段】複数の給電線を備えた非接触給電設備は、隣り合う第1給電線3pと第2給電線3sとの間に配置されて、第1給電線3pと第2給電線3sとが並列配置された第1区間31及び第2区間32において、第1給電線3p及び第2給電線3sを保持する連結ユニット5を備える。第1給電線3p及び第2給電線3sは、第1給電線3pの第1区間31を流れる電流Ipの向きに対する第2給電線3sの第1区間31を流れる電流Isの向きと、第1給電線3pの第2区間32を流れる電流Ipの向きに対する第2給電線3sの第2区間32を流れる電流Isの向きとが反対向きとなるように、連結ユニット5に配置されている。
【選択図】図17
特許請求の範囲
【請求項1】
受電装置を備えた移動体の移動経路に沿って並ぶように配置された複数の給電線と、複数の前記給電線のそれぞれに接続され、接続された前記給電線に交流電流を供給する電源装置と、を備え、前記受電装置に非接触で電力を供給する非接触給電設備であって、
複数の前記給電線の1つである第1給電線と、前記移動経路に沿って前記第1給電線と隣り合う前記給電線である第2給電線との間に配置され、前記第1給電線及び前記第2給電線を保持する連結ユニットを備え、
前記連結ユニットは、前記第1給電線と前記第2給電線とが並列配置された前記給電線の第1区間及び第2区間において、前記第1給電線及び前記第2給電線を保持し、
前記第1給電線及び前記第2給電線は、
前記第1給電線の前記第1区間を流れる電流の向きに対する前記第2給電線の前記第1区間を流れる電流の向きと、
前記第1給電線の前記第2区間を流れる電流の向きに対する前記第2給電線の前記第2区間を流れる電流の向きと、
が反対向きとなるように、前記連結ユニットに配置されている、非接触給電設備。
続きを表示(約 1,100 文字)
【請求項2】
前記第1給電線及び前記第2給電線は、
前記第1給電線の前記第1区間と前記第2給電線の前記第1区間との相互インダクタンスである第1相互インダクタンスと、前記第1給電線の前記第2区間と前記第2給電線の前記第2区間との相互インダクタンスである第2相互インダクタンスとが同等となるように前記連結ユニットに配置されている、請求項1に記載の非接触給電設備。
【請求項3】
前記第1給電線及び前記第2給電線のそれぞれが、前記連結ユニットの外部において、前記移動経路に沿って配置された部分を前記給電線の給電区間として、
前記給電区間は、前記第1区間の第1接続部に直接に接続され、
前記第2区間は、前記第1接続部とは異なる前記第1区間の第2接続部に接続され、前記第1区間を介して前記給電区間に接続され、
前記第1給電線の前記給電区間と、前記第2給電線の前記給電区間とは、前記移動経路に沿って一列に並ぶように配置され、
前記第1給電線の前記第1接続部と前記第2給電線の前記第1接続部との距離に対して、前記第1給電線の前記第2接続部と前記第2給電線の前記第2接続部との距離の方が大きくなるように、前記連結ユニットにおける前記第1給電線と前記第2給電線との配置関係が設定されている、請求項1又は2に記載の非接触給電設備。
【請求項4】
前記第1給電線及び前記第2給電線のそれぞれにおける前記第1区間及び前記第2区間は、それぞれ平面状に配置され、
前記第1給電線の前記第1区間が配置された面である第1面と、前記第2給電線の前記第1区間が配置された面である第2面とが互いに平行状に配置され、
前記第1給電線の前記第2区間が配置された面である第3面と、前記第2給電線の前記第2区間が配置された面である第4面とが互いに平行状に配置され、
前記第1面及び前記第2面に対して、前記第3面及び前記第4面が、直交状に配置されている、請求項1又は2に記載の非接触給電設備。
【請求項5】
前記第1給電線及び前記第2給電線のそれぞれが、前記連結ユニットの外部において、前記移動経路に沿って配置された部分を前記給電線の給電区間として、
前記給電区間は、前記第1区間の第1接続部に直接に接続され、
前記第2区間は、前記第1接続部とは異なる前記第1区間の第2接続部に接続され、前記第1区間を介して前記給電区間に接続され、
前記第1給電線の前記第2区間と前記第2給電線の前記第2区間とを囲む磁路を形成する磁性体コアを備える、請求項1又は2に記載の非接触給電設備。
発明の詳細な説明
【技術分野】
【0001】
本発明は、非接触給電設備に関する。
続きを表示(約 3,300 文字)
【背景技術】
【0002】
特開2002-67747号公報には、交流電流が流れる給電線としての誘導線路(47)が移動体(V)の移動経路に沿って複数配置され、非接触で移動体(V)に電力を供給する電源設備(非接触給電設備)が開示されている(背景技術において括弧内の符号は参照する文献のもの。)。複数の誘導線路(47)には、それぞれの誘導線路(47)に電力を供給するために電源装置(インバータ(M))が接続されている。受電装置(ピックアップコイル(5))を備えた移動体(V)は、複数の誘導線路(47)を乗り継ぎながら、それぞれの誘導線路(47)から非接触で電力の供給を受けて走行する。移動体(V)が円滑に走行するためには、誘導線路(47)の乗り継ぎ区間においても安定して給電されることが好ましい。また、乗り継ぎ区間において隣接する誘導線路(47)を流れる電流の位相に位相差が生じていると、誘導線路(47)の間で電力(干渉電力)が伝送され、一方の電圧を低下させたり、上昇させたりする場合がある。電圧が低下すると移動体(V)へ適切に電力を供給できなくおそれがあり、電圧が上昇すると電源装置(インバータ(M))の定格を超えて異常を生じさせるおそれもある。このため、隣接する誘導線路(V)同士の交流電流が同期していることが重要であり、この電源設備には、同期システムが備えられている。
【0003】
この電源設備では、それぞれの電源装置(インバータ(M))に、光伝送装置(51)が接続されている。そして、特定のインバータ(M)から誘導線路(47)に給電される交流電流の周波数等の電気的特性を特定するクロックパルス信号が、当該インバータ(M)に接続された光伝送装置(51)から出力される。このクロックパルス信号は、他の複数のインバータ(M)にそれぞれ接続された光伝送装置(51)を介して他のインバータ(M)に並列に伝達される。他のインバータ(M)は、それぞれ伝達されたクロックパルス信号に基づき、当該クロックパルス信号を出力した特定のインバータ(M)が出力する交流電流に同期した交流電流をそれぞれのインバータ(M)に接続された誘導線路(47)に出力する。これにより、複数の誘導線路(47)に流れる交流電流が同期し、移動体(V)は複数の誘導線路(47)を乗り継ぎながら安定して給電されることができ、移動体(V)は円滑な走行が可能である。
【先行技術文献】
【特許文献】
【0004】
特開2002-67747号公報
【発明の概要】
【発明が解決しようとする課題】
【0005】
上記のように同期システムを備える場合、同期を取るための同期制御回路が必要である。誘導線路を多く備えた大規模は設備では、同期制御回路も当然ながら多く必要であり、回路規模が増大すると共に設置スペースも増大する。また、同期を取るためのクロックパルス信号は、上記の例のような光伝送装置や、有線LAN(Local Area Network)装置などによって伝送されるが、光ケーブルやLANケーブルなどの総延長距離も長くなり、ケーブルコストが増大すると共にケーブルの設置スペースも増大する。従って、電源設備は、コストとのバランスも考慮して構成されることが好ましい。乗り継ぎ区間における問題には、上記の通り、移動体への給電と、干渉電力とがある。この内、移動体への給電に関しては、移動体に搭載される受電回路を進行方向の前後に分けて複数設けることや、移動体に一時的な電圧低下を吸収できるようなバッテリやキャパシタを搭載することによる対処も可能である。しかし、干渉電力に関しては、電流に位相差がある場合には避けがたい。
【0006】
上記背景に鑑みて、隣り合う給電線の間で生じる干渉電力を低減させると共に、複数の給電線を有する非接触給電設備を従来よりも簡素なシステムによって構成することが望まれる。
【課題を解決するための手段】
【0007】
上記に鑑みた非接触給電設備は、受電装置を備えた移動体の移動経路に沿って並ぶように配置された複数の給電線と、複数の前記給電線のそれぞれに接続され、接続された前記給電線に交流電流を供給する電源装置と、を備え、前記受電装置に非接触で電力を供給する非接触給電設備であって、複数の前記給電線の1つである第1給電線と、前記移動経路に沿って前記第1給電線と隣り合う前記給電線である第2給電線との間に配置され、前記第1給電線及び前記第2給電線を保持する連結ユニットを備え、前記連結ユニットは、前記第1給電線と前記第2給電線とが並列配置された前記給電線の第1区間及び第2区間において、前記第1給電線及び前記第2給電線を保持し、前記第1給電線及び前記第2給電線は、前記第1給電線の前記第1区間を流れる電流の向きに対する前記第2給電線の前記第1区間を流れる電流の向きと、前記第1給電線の前記第2区間を流れる電流の向きに対する前記第2給電線の前記第2区間を流れる電流の向きと、が反対向きとなるように、前記連結ユニットに配置されている。
【0008】
本構成によれば、第1給電線を流れる交流電流の位相と第2給電線を流れる交流電流の位相とがずれている場合であっても、連結ユニットにおいて並列配置された第1給電線と第2給電線との間で生じる誘導起電力によって干渉電力を小さく抑えることができる。これにより、それぞれの給電線に接続された電源装置に異常が生じる可能性を低減できる。従って、本構成によれば、第1給電線を流れる交流電流の位相と第2給電線を流れる交流電流の位相とを同期させる必要性を低減でき、同期システムを設けることなく非接触給電設備を構成することが可能となる。即ち、本構成によれば、隣り合う給電線の間で生じる干渉電力を低減させると共に、複数の給電線を有する非接触給電設備を従来よりも簡素なシステムによって構成することができる。従って、非接触給電設備の簡素化や低コスト化を図り易い。
【0009】
非接触給電設備のさらなる特徴と利点は、図面を参照して説明する例示的且つ非限定的な実施形態についての以下の記載から明確となる。
【図面の簡単な説明】
【0010】
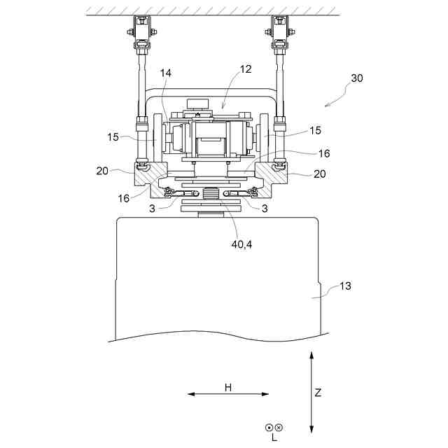
非接触給電設備を備えた物品搬送設備の平面図
物品搬送車の正面図
非接触給電設備のシステム構成を示す模式的なブロック図
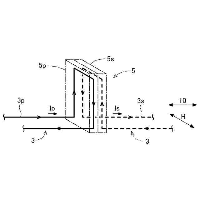
一般的な連結ユニットにおける第1給電線及び第2給電線の配置の一例を示す図
図4の配置における第1給電線と第2給電線との電磁結合を示す等価回路図
同期が取れている場合の干渉電圧のベクトル図
電流の位相差90度ごとの干渉電圧のベクトル図
連結ユニットにおける第1給電線及び第2給電線の配置の第1の例を示す図
図8の配置における第1給電線と第2給電線との電磁結合を示す等価回路図
第1給電線及び第2給電線の配置の第2の例を示す図
第1給電線及び第2給電線の配置の第3の例を示す図
第2の例及び第3の例における第2区間の上面図
第1給電線及び第2給電線の配置の第4の例を示す図
第1給電線及び第2給電線の配置の第5の例を示す図
第1給電線及び第2給電線の配置の第6の例を示す図
第1給電線及び第2給電線の配置の第7の例を示す図
連結ユニットにおける給電線の配線の一例を示す図
電源装置による給電回路インピーダンスの調整方法の違いによる基本出力電圧及び相互誘導電圧の一例を示すベクトル図
トランス型の結合回路をT型回路を経て変形T型回路へと変形する例を示す図
【発明を実施するための形態】
(【0011】以降は省略されています)
この特許をJ-PlatPat(特許庁公式サイト)で参照する
関連特許
株式会社ダイフク
倉庫
11日前
株式会社ダイフク
搬送装置
19日前
株式会社ダイフク
物品搬送設備
18日前
株式会社ダイフク
物品搬送設備
1か月前
株式会社ダイフク
非接触給電設備
25日前
株式会社ダイフク
遠隔操作システム
9日前
株式会社ダイフク
移載装置及び物品搬送装置
19日前
株式会社ダイフク
検証システム及び検証方法
19日前
株式会社ダイフク
物品搬送設備及び物品搬送設備の保守方法
1か月前
株式会社ダイフク
物品配置決定システム、及び、物品積付システム
10日前
株式会社ダイフク
駆動伝達装置及び駆動伝達装置を備えた昇降装置
1か月前
株式会社ダイフク
移載システム
23日前
個人
単極モータ
1か月前
個人
電気を重力で発電装置
10日前
キヤノン電子株式会社
モータ
9日前
キヤノン電子株式会社
モータ
17日前
株式会社アイシン
ロータ
1か月前
株式会社アイシン
ロータ
1か月前
日星電気株式会社
ケーブル組立体
25日前
コーセル株式会社
電源装置
18日前
トヨタ自動車株式会社
モータ
9日前
株式会社デンソー
回転機
1か月前
株式会社kaisei
発電システム
1か月前
個人
二次電池繰返パルス放電器用印刷基板
23日前
株式会社デンソー
電力変換装置
24日前
株式会社ミツバ
回転電機
1か月前
株式会社デンソー
電力変換装置
1か月前
株式会社ダイヘン
インバータ装置
1か月前
トヨタ自動車株式会社
固定子の加熱装置
20日前
株式会社デンソー
非接触受電装置
26日前
日産自動車株式会社
ロータシャフト
4日前
日産自動車株式会社
ロータシャフト
4日前
山洋電気株式会社
モータ
23日前
ローム株式会社
モータドライバ回路
4日前
個人
非対称鏡像力を有する4層PWB電荷搬送体
4日前
トヨタ自動車株式会社
ステータの製造装置
10日前
続きを見る
他の特許を見る