TOP
|
特許
|
意匠
|
商標
特許ウォッチ
Twitter
他の特許を見る
10個以上の画像は省略されています。
公開番号
2025158321
公報種別
公開特許公報(A)
公開日
2025-10-17
出願番号
2024060745
出願日
2024-04-04
発明の名称
物品搬送設備及び物品搬送設備の保守方法
出願人
株式会社ダイフク
代理人
弁理士法人R&C
主分類
B65G
1/137 20060101AFI20251009BHJP(運搬;包装;貯蔵;薄板状または線条材料の取扱い)
要約
【課題】第1フロアよりも上側に設置された第2フロアに対する作業の容易性が高い物品搬送設備を実現する。
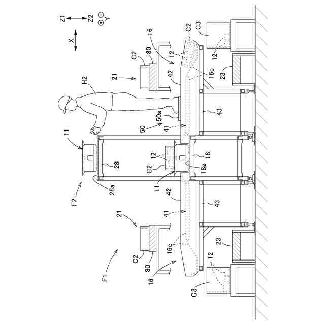
【解決手段】第1フロアF1には、複数の受取部16に物品12を引き渡すために搬送車11が通る通路である引渡通路18が設定され、複数の受取部16は、引渡通路18に沿ってY方向に並ぶように配置されており、作業用足場50は、第2フロアF2に対する作業を行う作業者H2用の足場であって、複数の受取部16の少なくとも一部を上側Z1から覆うように配置されている。
【選択図】図6
特許請求の範囲
【請求項1】
第1フロアと、
上下方向視で前記第1フロアと重複するように前記第1フロアよりも上側に設置された第2フロアと、
少なくとも前記第1フロアを移動して物品を搬送する搬送車と、
前記搬送車から前記物品を受け取る複数の受取部と、
作業用足場と、
を備え、
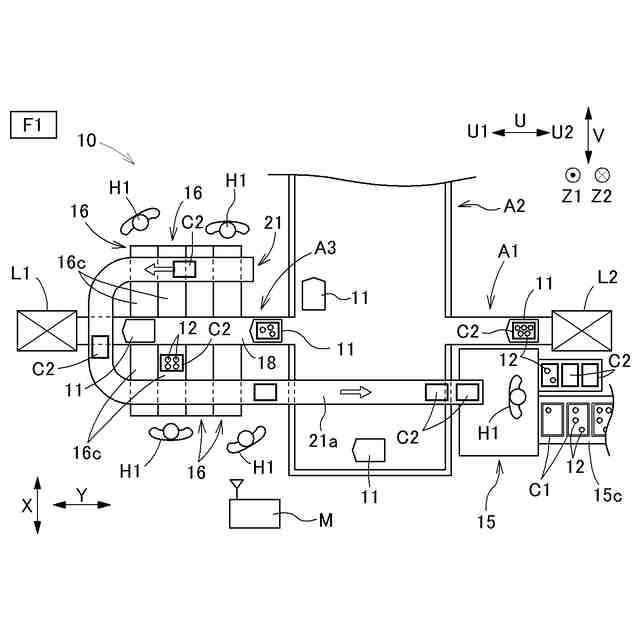
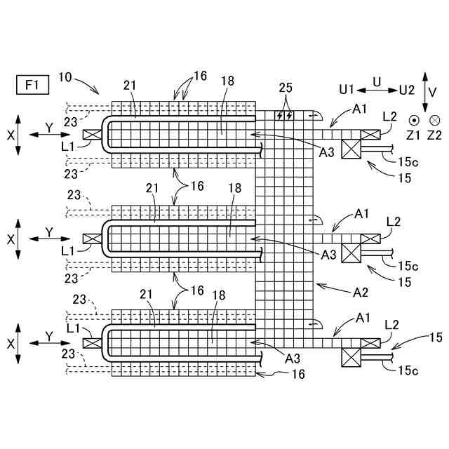
前記第1フロアには、複数の前記受取部に前記物品を引き渡すために前記搬送車が通る通路である引渡通路が設定され、
前記引渡通路の延在方向をY方向として、
複数の前記受取部は、前記引渡通路に沿って前記Y方向に並ぶように配置され、
前記作業用足場は、前記第2フロアに対する作業を行う作業者用の足場であって、複数の前記受取部の少なくとも一部を上側から覆うように配置されている、物品搬送設備。
続きを表示(約 1,400 文字)
【請求項2】
前記作業用足場は、前記受取部に対して着脱自在に取り付けられている、請求項1に記載の物品搬送設備。
【請求項3】
上下方向視で前記Y方向に交差する方向をX方向として、
それぞれの前記受取部は、前記X方向に沿って前記物品を移動させるように構成され、
前記作業用足場は、前記受取部によって前記X方向に移動する前記物品の移動軌跡と重複しないように配置されている、請求項1に記載の物品搬送設備。
【請求項4】
前記作業用足場が、前記Y方向に並ぶ2つ以上の前記受取部に亘って設置されている、請求項1から3のいずれか一項に記載の物品搬送設備。
【請求項5】
前記作業用足場における作業者が載る踏み面が、前記第1フロアにおける前記搬送車が走行する走行面よりも上側であって、前記第2フロアにおける前記搬送車が走行する走行面よりも下側に配置されている、請求項1から3のいずれか一項に記載の物品搬送設備。
【請求項6】
上下方向視で前記Y方向に交差する方向をX方向として、
上下方向視で前記引渡通路に対して前記X方向に離間していると共に前記Y方向に沿って延在するように配置されたコンベヤを更に備え、
前記作業用足場は、上下方向視で前記コンベヤと前記引渡通路との前記X方向の間に配置されている、請求項1から3のいずれか一項に記載の物品搬送設備。
【請求項7】
上下方向視で前記Y方向に交差する方向をX方向として、
それぞれの前記受取部は、前記X方向に沿って前記物品を移動させるように構成され、
複数の前記受取部のそれぞれは、前記物品が載った状態で前記物品が前記X方向に沿って移動する物品搬送面と、前記物品搬送面に対して前記Y方向の両側において前記X方向に沿って延在するように配置され、前記X方向への前記物品の移動を案内する一対のガイド部と、を備え、
前記作業用足場は、一対の前記ガイド部と、前記物品搬送面及び一対の前記ガイド部を支持する支持フレームと、の少なくとも一方に取り付けられている、請求項1から3のいずれか一項に記載の物品搬送設備。
【請求項8】
物品搬送設備の保守方法であって、
前記物品搬送設備は、
第1フロアと、
上下方向視で前記第1フロアと重複するように前記第1フロアよりも上側に設置された第2フロアと、
少なくとも前記第1フロアを移動して物品を搬送する搬送車と、
前記搬送車から前記物品を受け取る複数の受取部と、
を備え、
前記第1フロアには、複数の前記受取部に前記物品を引き渡すために前記搬送車が通る通路である引渡通路が設定され、
前記引渡通路の延在方向をY方向として、
複数の前記受取部は、前記引渡通路に沿って前記Y方向に並ぶように配置されており、
前記第2フロアに対する保守作業を行う場合に、作業者用の足場である作業用足場を、複数の前記受取部の少なくとも一部を上側から覆うように設置する、足場設置ステップと、
前記作業用足場に載った作業者が、前記第2フロアに対する保守作業を行う作業ステップと、
を備える、物品搬送設備の保守方法。
発明の詳細な説明
【技術分野】
【0001】
本発明は、第1フロアと第2フロアとを備えた物品搬送設備に関する。
続きを表示(約 2,100 文字)
【背景技術】
【0002】
第1フロアと第2フロアとを備えた物品搬送設備が知られている。国際公開第2023/189045号(特許文献1)には、仕分作業を行うための作業箇所(55)が配置された第1フロア(51)と、第1フロア(51)よりも上側に設置された第2フロア(61)と、を備える物品搬送設備(5)が開示されている。この物品搬送設備(5)では、仕分作業を行うための作業箇所(55)の周囲のスペースを広く確保すると共に仕分対象となる被搬送物(B1)の貯留量を確保するために、主搬送装置(3)が第2フロア(61)に配置されている。
【先行技術文献】
【特許文献】
【0003】
国際公開第2023/189045号
【発明の概要】
【発明が解決しようとする課題】
【0004】
特許文献1の物品搬送設備では、例えば第2フロアに配置された主搬送装置の保守作業のために、第2フロアに対する作業が必要になる場合がある。このような第2フロアに対する作業を容易とするための方法の1つとして、第2フロアに対する作業のための通路や階段等を第1フロアの複数箇所に配置することが挙げられる。しかし、特許文献1のような物品搬送設備では、第2フロアに主搬送装置を配置していることからもわかるように、第1フロアにおける作業のためのスペースを広く確保したいという要望があるために、通路や階段等を第1フロアの複数箇所に配置することは困難であり、第2フロアに対する作業の容易性が低かった。
【0005】
そこで、第1フロアよりも上側に設置された第2フロアに対する作業の容易性が高い物品搬送設備並びに物品搬送設備の保守方法の実現が望まれる。
【課題を解決するための手段】
【0006】
本開示に係る物品搬送設備は、第1フロアと、上下方向視で前記第1フロアと重複するように前記第1フロアよりも上側に設置された第2フロアと、少なくとも前記第1フロアを移動して物品を搬送する搬送車と、前記搬送車から前記物品を受け取る複数の受取部と、作業用足場と、を備え、前記第1フロアには、複数の前記受取部に前記物品を引き渡すために前記搬送車が通る通路である引渡通路が設定され、前記引渡通路の延在方向をY方向として、複数の前記受取部は、前記引渡通路に沿って前記Y方向に並ぶように配置され、前記作業用足場は、前記第2フロアに対する作業を行う作業者用の足場であって、複数の前記受取部の少なくとも一部を上側から覆うように配置されている。
【0007】
本構成によれば、第1フロアの引渡通路に沿って複数の受取部が並ぶように配置された構成であっても、作業者が、それら複数の受取部に妨げられることなく、受取部の上に載って第2フロアに対する作業を行うことが可能となる。従って、第1フロアよりも上側に設置された第2フロアに対する作業の容易性を高めることができる。
【0008】
本開示に係る物品搬送設備の保守方法であって、前記物品搬送設備は、第1フロアと、上下方向視で前記第1フロアと重複するように前記第1フロアよりも上側に設置された第2フロアと、少なくとも前記第1フロアを移動して物品を搬送する搬送車と、前記搬送車から前記物品を受け取る複数の受取部と、を備え、前記第1フロアには、複数の前記受取部に前記物品を引き渡すために前記搬送車が通る通路である引渡通路が設定され、前記引渡通路の延在方向をY方向として、複数の前記受取部は、前記引渡通路に沿って前記Y方向に並ぶように配置されており、前記第2フロアに対する保守作業を行う場合に、作業者用の足場である作業用足場を、複数の前記受取部の少なくとも一部を上側から覆うように設置する、足場設置ステップと、前記作業用足場に載った作業者が、前記第2フロアに対する保守作業を行う作業ステップと、を備える。
【0009】
本構成によれば、第1フロアの引渡通路に沿って複数の受取部が並ぶように配置された物品搬送設備において、作業者が、それら複数の受取部に妨げられることなく、受取部の上に載って第2フロアに対する保守作業を行うため、第1フロアよりも上側に設置された第2フロアに対する保守作業の容易性を高めることができる。
【図面の簡単な説明】
【0010】
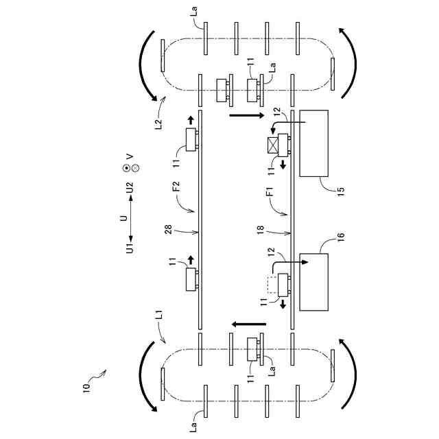
第1の実施形態に係る物品搬送設備の第1フロアを示す上面図
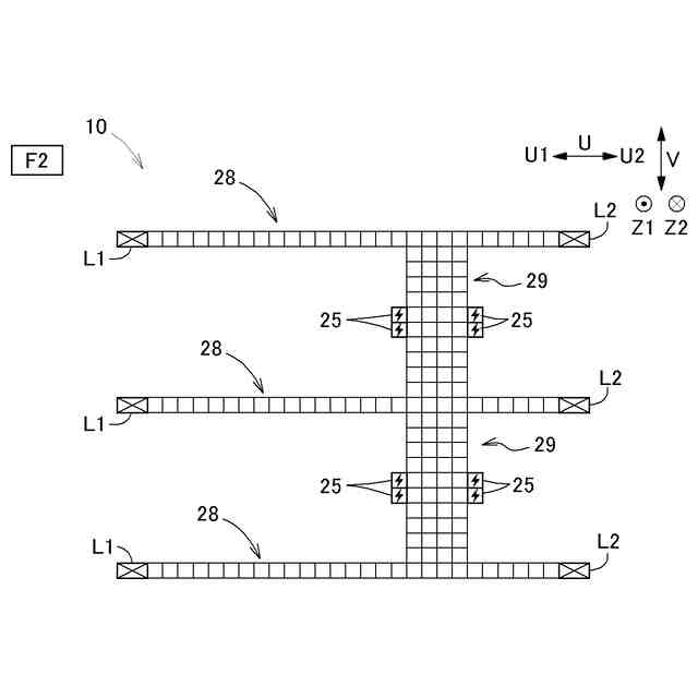
図1の物品搬送設備の第2フロアを示す上面図
図1の供給部及び受取部を模式的に示す上面図
図1の第1昇降装置及び第2昇降装置を模式的に示す側面図
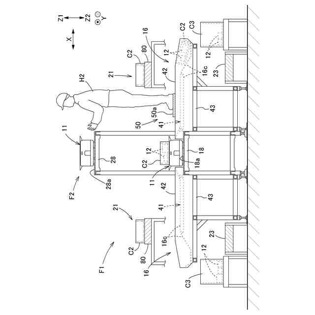
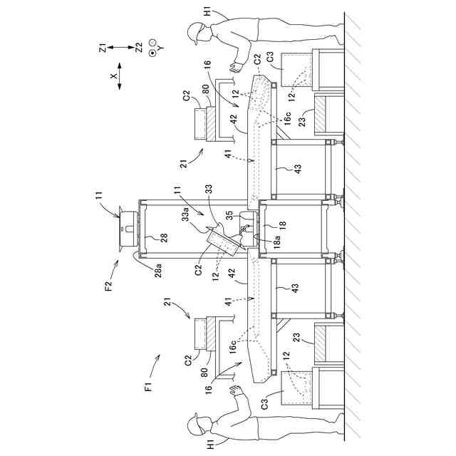
図1の受取部の正面図であって引渡通路を示す図
図1の受取部の正面図であって作業用足場を示す図
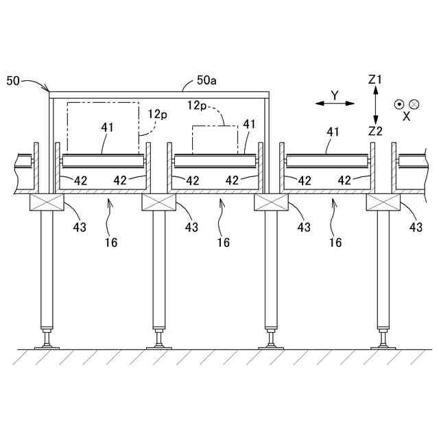
図1の受取部の側面図であって作業用足場を示す図
第2の実施形態に係る作業用足場を示す図
第3の実施形態に係る作業用足場を示す図
【発明を実施するための形態】
(【0011】以降は省略されています)
この特許をJ-PlatPat(特許庁公式サイト)で参照する
関連特許
株式会社ダイフク
倉庫
1か月前
株式会社ダイフク
洗浄方法
5日前
株式会社ダイフク
搬送装置
1か月前
株式会社ダイフク
洗浄装置
10日前
株式会社ダイフク
作業設備
1か月前
株式会社ダイフク
投影システム
19日前
株式会社ダイフク
物品搬送設備
18日前
株式会社ダイフク
要素結合構造
11日前
株式会社ダイフク
物品搬送設備
1か月前
株式会社ダイフク
物品搬送設備
1か月前
株式会社ダイフク
非接触給電設備
1か月前
株式会社ダイフク
遠隔操作システム
1か月前
株式会社ダイフク
シミュレーションシステム
18日前
株式会社ダイフク
移載装置及び物品搬送装置
1か月前
株式会社ダイフク
検証システム及び検証方法
1か月前
株式会社ダイフク
物品搬送設備及び物品搬送設備の保守方法
1か月前
株式会社ダイフク
物品配置決定システム、及び、物品積付システム
1か月前
株式会社ダイフク
駆動伝達装置及び駆動伝達装置を備えた昇降装置
1か月前
株式会社ダイフク
移載システム
1か月前
個人
収容箱
4か月前
個人
束ね具
27日前
個人
コンベア
6か月前
個人
ゴミ収集器
8か月前
個人
段ボール箱
8か月前
個人
容器
10か月前
個人
段ボール箱
8か月前
個人
テープ引出機
27日前
個人
バンド
3か月前
個人
楽ちんハンド
6か月前
個人
宅配システム
8か月前
個人
土嚢運搬器具
9か月前
個人
角筒状構造体
6か月前
個人
コード類収納具
9か月前
個人
包装容器
2か月前
個人
廃棄物収容容器
4か月前
個人
お薬の締結装置
7か月前
続きを見る
他の特許を見る