TOP
|
特許
|
意匠
|
商標
特許ウォッチ
Twitter
他の特許を見る
10個以上の画像は省略されています。
公開番号
2025155104
公報種別
公開特許公報(A)
公開日
2025-10-14
出願番号
2024058528
出願日
2024-04-01
発明の名称
ワイヤーハーネス
出願人
矢崎総業株式会社
代理人
個人
,
個人
,
個人
主分類
H02G
3/04 20060101AFI20251006BHJP(電力の発電,変換,配電)
要約
【課題】外装部材を曲げて配置することが必要な場合に所望の曲げ半径を確保することができるワイヤーハーネスを提供する。
【解決手段】ワイヤーハーネス1は、電線2と、電線2が挿通される筒状の外装部材4とを備える。外装部材4は、電線2の長さ方向(X方向)に対して分割して配置される複数の分割外装部材5を有し、分割外装部材5の内の少なくとも一つが、軟質材料から形成されて弾性変形可能な軟質外装部材20,30である。軟質外装部材20,30の内周5aには、長さ方向(X方向)に隣り合う分割外装部材5同士を連結する筒状の連結部材6が装着され、軟質外装部材20,30の外周5bには、分割外装部材5を連結部材6に対して固定する筒状の固定部材7が装着される。
【選択図】図2
特許請求の範囲
【請求項1】
電線と、
前記電線が挿通される筒状の外装部材と、を備え、
前記外装部材は、前記電線の長さ方向に対して分割して配置される複数の分割外装部材を有し、
前記分割外装部材の内の少なくとも一つが、軟質材料から形成されて弾性変形可能な軟質外装部材であり、
前記軟質外装部材の内周には、前記長さ方向に隣り合う前記分割外装部材同士を連結する筒状の連結部材が装着され、
前記軟質外装部材の外周には、前記分割外装部材を前記連結部材に対して固定する筒状の固定部材が装着される、
ワイヤーハーネス。
続きを表示(約 550 文字)
【請求項2】
前記固定部材の内径は、前記連結部材が内周に装着された状態の前記軟質外装部材の外径よりも小さい、
請求項1に記載のワイヤーハーネス。
【請求項3】
前記軟質外装部材は、前記軟質外装部材の内周に形成された凹部を有し、
前記連結部材は、前記連結部材の外周に形成され、前記連結部材を前記軟質外装部材の内周に装着した際に前記凹部が係合される突起部を有する、
請求項1又は2に記載のワイヤーハーネス。
【請求項4】
前記連結部材は、前記連結部材の外周に形成され、前記長さ方向に延在する外周側リブを有し、
前記固定部材は、前記固定部材の内周に形成されて前記長さ方向に延在し、前記連結部材の前記外周側リブに当接することにより前記固定部材の回転を規制する内周側リブを有する、
請求項1又は2に記載のワイヤーハーネス。
【請求項5】
前記固定部材は、車体に固定する固定部を有する、
請求項1又は2に記載のワイヤーハーネス。
【請求項6】
前記分割外装部材の内の少なくとも一つが、前記軟質材料よりも硬質な硬質材料から形成された硬質外装部材である、
請求項1又は2に記載のワイヤーハーネス。
発明の詳細な説明
【技術分野】
【0001】
本発明は、ワイヤーハーネスに関する。
続きを表示(約 2,000 文字)
【背景技術】
【0002】
ワイヤーハーネスは、例えば、電線と、コネクタと、外装部材(コルゲートチューブ、プロテクタ等)とを有して構成される。特許文献1には、ゴム又はエラストマーで形成された筒状の外装材の内周面に、周方向に連続する環状の突条部が軸線方向に間隔をあけて設けられ、複数本の電線が突条部に接触した状態で外装材に挿通されているワイヤーハーネスに関する技術が開示されている。
【先行技術文献】
【特許文献】
【0003】
特開2012-244746号公報
【発明の概要】
【発明が解決しようとする課題】
【0004】
電動車両のモーター出力上昇及び充電時間短縮を目的とした電流値の増加に伴い、電線の通電電流値も大きくなり、電線が大径化する。更に、軽量化に伴い採用されるアルミ電線は銅電線に対して導電率が低いため、アルミ電線の採用により、銅電線の場合と同じ値の通電電流を流すために電線が大径化する。電線が大径化すると、外装部材として用いられるコルゲートチューブ等の大径化を招き、ワイヤーハーネス全体の外径が増加する。このため、車両内のワイヤーハーネスのレイアウトは従来よりも狭小化し、外装部材を曲げて配置することが必要な場合には更に小さな曲げ半径が求められる。例えば外装部材としてコルゲートチューブを用いた場合、コルゲートチューブには山部と谷部とが交互に形成されており、コルゲートチューブを曲げる際に山部同士が干渉して所望の曲げ半径を確保できないことがある。
【0005】
本発明は、このような従来技術が有する課題に鑑みてなされたものである。そして本発明の目的は、外装部材を曲げて配置することが必要な場合に所望の曲げ半径を確保することができるワイヤーハーネスを提供することにある。
【課題を解決するための手段】
【0006】
本発明の態様に係るワイヤーハーネスは、電線と、電線が挿通される筒状の外装部材と、を備え、外装部材は、電線の長さ方向に対して分割して配置される複数の分割外装部材を有し、分割外装部材の内の少なくとも一つが、軟質材料から形成されて弾性変形可能な軟質外装部材であり、軟質外装部材の内周には、長さ方向に隣り合う分割外装部材同士を連結する筒状の連結部材が装着され、軟質外装部材の外周には、分割外装部材を連結部材に対して固定する筒状の固定部材が装着される。
【発明の効果】
【0007】
本発明によれば、外装部材を曲げて配置することが必要な場合に所望の曲げ半径を確保することができるワイヤーハーネスを提供することができる。
【図面の簡単な説明】
【0008】
本実施形態に係るワイヤーハーネスの一例を示す斜視図である。
本実施形態に係るワイヤーハーネスの分解斜視図である。
図1のA-A線による断面図である。
本実施形態に係るワイヤーハーネスを配策した状態を示す斜視図である。
他の構造例に係るワイヤーハーネスを配策した状態を示す斜視図である。
ワイヤーハーネスの要部を示す一部破断の側面図である。
ワイヤーハーネスを構成する連結部材の斜視図である。
ワイヤーハーネスを構成する固定部材の斜視図である。
固定部材の取付前の状態を示す斜視図である。
図9に示す固定部材の側面図である。
図10のB-B線による断面図である。
固定部材の取付状態を示す斜視図である。
図12に示す固定部材の要部拡大の断面図である。
固定部材の軟質外装部材への装着を示す説明図である。
固定部材の軟質外装部材への装着を示す説明図である。
他の構造例に係る固定部材の斜視図である。
他の構造例に係る固定部材の取付前の状態を示す斜視図である。
更に他の構造例に係る固定部材の斜視図である。
更に他の構造例に係る固定部材の取付前の状態を示す斜視図である。
別の構造例に係る固定部材の斜視図である。
別の構造例に係る固定部材の取付前の状態を示す斜視図である。
【発明を実施するための形態】
【0009】
以下、図面を用いて本実施形態に係るワイヤーハーネスについて詳細に説明する。なお、図面の寸法比率は説明の都合上誇張されており、実際の比率と異なる場合がある。
【0010】
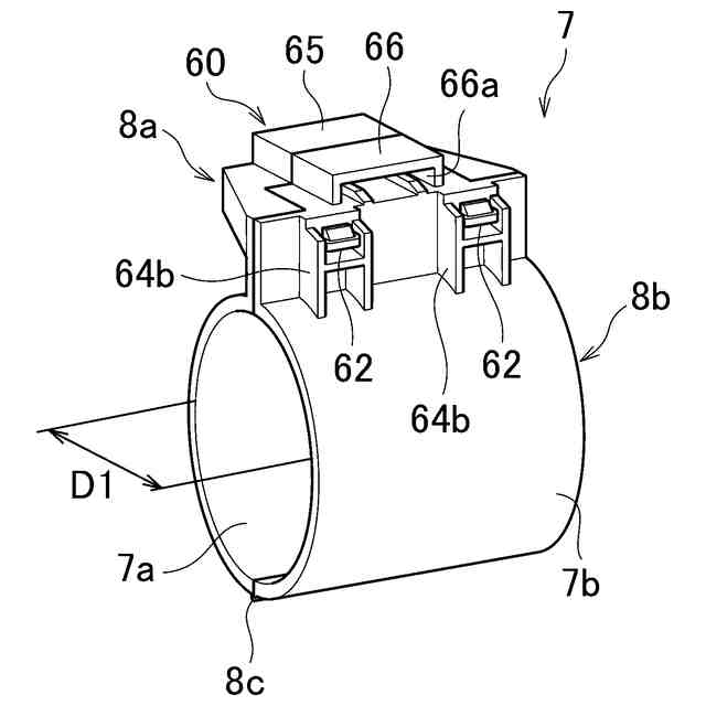
図1は、一実施形態に係るワイヤーハーネス1を示す斜視図である。図2は、図1に示すワイヤーハーネス1を分解した図である。図3は、図1に示すワイヤーハーネス1の概略的な断面図である。ワイヤーハーネス1は、電線2と、コネクタ3と、外装部材4と、連結部材6と、固定部材7とを備える。
(【0011】以降は省略されています)
この特許をJ-PlatPat(特許庁公式サイト)で参照する
関連特許
矢崎総業株式会社
端子
10日前
矢崎総業株式会社
箱状体
3日前
矢崎総業株式会社
箱状体
1か月前
矢崎総業株式会社
箱状体
1か月前
矢崎総業株式会社
箱状体
3日前
矢崎総業株式会社
箱状体
3日前
矢崎総業株式会社
バスバー
21日前
矢崎総業株式会社
照明装置
11日前
矢崎総業株式会社
照明装置
11日前
矢崎総業株式会社
コネクタ
1か月前
矢崎総業株式会社
照明装置
16日前
矢崎総業株式会社
報知装置
17日前
矢崎総業株式会社
コネクタ
1か月前
矢崎総業株式会社
コネクタ
1か月前
矢崎総業株式会社
止水部材
1か月前
矢崎総業株式会社
コネクタ
1か月前
矢崎総業株式会社
照明構造
1か月前
矢崎総業株式会社
コネクタ
1か月前
矢崎総業株式会社
コネクタ
1か月前
矢崎総業株式会社
コネクタ
1か月前
矢崎総業株式会社
コネクタ
1か月前
矢崎総業株式会社
コネクタ
1か月前
矢崎総業株式会社
コネクタ
24日前
矢崎総業株式会社
コネクタ
28日前
矢崎総業株式会社
コネクタ
29日前
矢崎総業株式会社
コネクタ
1か月前
矢崎総業株式会社
コネクタ
1か月前
矢崎総業株式会社
コネクタ
1か月前
矢崎総業株式会社
照明装置
10日前
矢崎総業株式会社
コネクタ
2日前
矢崎総業株式会社
接続構造
3日前
矢崎総業株式会社
コネクタ
2日前
矢崎総業株式会社
コネクタ
1か月前
矢崎総業株式会社
コネクタ
1か月前
矢崎総業株式会社
コネクタ
1か月前
矢崎総業株式会社
電気接続箱
1か月前
続きを見る
他の特許を見る