TOP
|
特許
|
意匠
|
商標
特許ウォッチ
Twitter
他の特許を見る
10個以上の画像は省略されています。
公開番号
2025154659
公報種別
公開特許公報(A)
公開日
2025-10-10
出願番号
2024057776
出願日
2024-03-29
発明の名称
回転電機
出願人
ニデック株式会社
代理人
個人
,
個人
,
個人
,
個人
主分類
H02K
3/52 20060101AFI20251002BHJP(電力の発電,変換,配電)
要約
【課題】コイル部とバスバーとが互いに異なる材料によって構成される場合であっても、コイル部とバスバーとを安定して電気的に接続できる回転電機を提供する。
【解決手段】回転電機10は、中心軸線を中心とし回転可能なロータと、第1の材料によって構成されるコイル部を有し、ロータと隙間を介して対向するステータと、コイル部に電力を供給する基板と、基板と電気的に接続され、第1の材料とは異なる第2の材料によって構成されるバスバーと、バスバーに固定され、コイル部とバスバーとを電気的に接続する接続部材60と、を備える。コイル部は、ステータに装着されるコイル本体部、およびコイル本体部から引き出されるコイル引出線37を有する。接続部材は、コイル引出線を内部に収容する収容部61、および収容部の内面にコイル引出線を押し付ける押付部67を有する。
【選択図】図6
特許請求の範囲
【請求項1】
中心軸線を中心として回転可能なロータと、
第1の材料によって構成されるコイル部を有し、前記ロータと隙間を介して対向するステータと、
前記コイル部に電力を供給する基板と、
前記基板と電気的に接続され、前記第1の材料とは異なる第2の材料によって構成されるバスバーと、
前記バスバーに固定され、前記コイル部と前記バスバーとを電気的に接続する接続部材と、
を備え、
前記コイル部は、前記ステータに装着されるコイル本体部、および前記コイル本体部から引き出されるコイル引出線を有し、
前記接続部材は、前記コイル引出線を内部に収容する収容部、および前記収容部の内面に前記コイル引出線を押し付ける押付部を有する、回転電機。
続きを表示(約 1,300 文字)
【請求項2】
前記収容部の内面は、
前記コイル引出線が延びる方向と交差する方向に広がる天面と、
前記コイル引出線の側面と対向する第1内面と、
を含み、
前記押付部は、前記天面から突出し、前記コイル引出線の側面を前記第1内面に押し付ける突起である、請求項1に記載の回転電機。
【請求項3】
前記コイル引出線の側面は、第1コイル側面、および前記第1コイル側面とは反対側を向く第2コイル側面を含み、
前記収容部の内面は、
前記第1コイル側面と対向する第1内面と、
前記第2コイル側面と対向する第2内面と、
を含み、
前記第1内面は、前記コイル引出線の先端側に向かうにしたがって前記第2内面側に位置する傾斜面を有し、
前記押付部は、前記傾斜面であり、前記第2コイル側面を前記第2内面に押し付ける、請求項1に記載の回転電機。
【請求項4】
前記コイル引出線の側面は、第1コイル側面、および前記第1コイル側面とは反対側を向く第2コイル側面を含み、
前記収容部の内面は、
前記第1コイル側面と対向する第1内面と、
前記第2コイル側面と対向する第2内面と、
を含み、
前記第1内面は、前記コイル引出線の先端側に向かうにしたがって前記第2内面側に位置する第1傾斜面を有し、
前記第2内面は、前記コイル引出線の先端側に向かうにしたがって前記第1内面側に位置する第2傾斜面を有し、
前記押付部は、前記第1傾斜面および前記第2傾斜面であり、前記第1コイル側面を前記第1内面に押し付け、前記第2コイル側面を前記第2内面に押し付ける、請求項1に記載の回転電機。
【請求項5】
前記収容部は、前記コイル引出線が延びる方向と交差する方向に広がる天壁部を有し、
前記収容部の内面は、前記コイル引出線の側面と対向する第1内面を含み、
前記天壁部は、前記収容部の内部に向けて突出する湾曲部を有し、
前記押付部は、前記湾曲部であり、前記コイル引出線の側面を前記第1内面に押し付ける、請求項1に記載の回転電機。
【請求項6】
前記バスバーは、前記接続部材が通される孔部を有し、
前記接続部材は、前記孔部に圧入されている、請求項1から5のいずれか一項に記載の回転電機。
【請求項7】
前記収容部の前記コイル引出線が延びる方向と交差する方向の寸法は、前記コイル引出線の先端側に向かうにしたがって小さい、請求項1から5のいずれか一項に記載の回転電機。
【請求項8】
前記接続部材は、前記第2の材料によって構成され、且つ、溶接によって前記バスバーに固定されている、請求項1から5のいずれか一項に記載の回転電機。
【請求項9】
前記接続部材は、前記収容部から前記収容部の外側に向けて突出する突出部を有し、
前記突出部は、溶接によって前記バスバーに固定されている、請求項8に記載の回転電機。
発明の詳細な説明
【技術分野】
【0001】
本発明は、回転電機に関する。
続きを表示(約 2,000 文字)
【背景技術】
【0002】
ステータコアに装着されたコイルと、コイルに電力を供給するモータ駆動ユニットとを電気的に接続するバスバーを備えた電動モータが開示されている。また、コイルとバスバーとが溶接によって接合される電動モータが開示されている(例えば特許文献1)。
【先行技術文献】
【特許文献】
【0003】
特許第6251920号公報
【発明の概要】
【発明が解決しようとする課題】
【0004】
特許文献1に記載の電動モータにおいて、コイルとバスバーとが互いに異なる材料によって構成される場合、コイルの融点およびバスバーの融点が互いに異なる温度になるため、コイルとバスバーとを溶接によって接合しづらい。したがって、バスバーを介してコイルとモータ駆動ユニットとを安定して電気的に接続しづらいため、モータの動作の安定性を高めづらかった。
【0005】
本発明の一つの態様は、上記事情に鑑みて、コイル部とバスバーとが互いに異なる材料によって構成される場合であっても、コイル部とバスバーとを安定して電気的に接続できる回転電機を提供することを目的の一つとする。
【課題を解決するための手段】
【0006】
本発明の回転電機の一つの態様は、中心軸線を中心として回転可能なロータと、第1の材料によって構成されるコイル部を有し、前記ロータと隙間を介して対向するステータと、前記コイル部に電力を供給する基板と、前記基板と電気的に接続され、前記第1の材料とは異なる第2の材料によって構成されるバスバーと、前記バスバーに固定され、前記コイル部と前記バスバーとを電気的に接続する接続部材と、を備える。前記コイル部は、前記ステータに装着されるコイル本体部、および前記コイル本体部から引き出されるコイル引出線を有する。前記接続部材は、前記コイル引出線を内部に収容する収容部、および前記収容部の内面に前記コイル引出線を押し付ける押付部を有する。
【発明の効果】
【0007】
本発明の一つの態様によれば、回転電機において、コイル部とバスバーとが互いに異なる材料によって構成される場合であっても、コイル部とバスバーとを安定して電気的に接続できる。
【図面の簡単な説明】
【0008】
図1は、第1実施形態の回転電機を示す断面図である。
図2は、第1実施形態のステータを示す断面図であって、図1のII-II断面図である。
図3は、第1実施形態のステータを示す斜視図である。
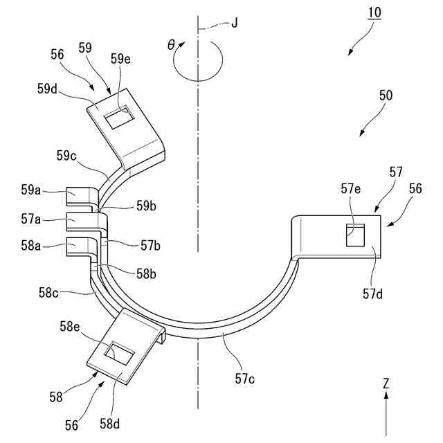
図4は、第1実施形態のバスバーを示す斜視図である。
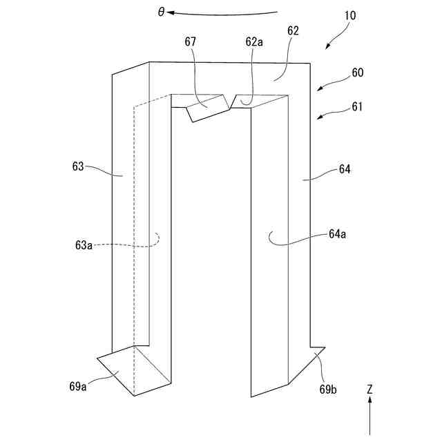
図5は、第1実施形態の接続部材を示す斜視図である。
図6は、第1実施形態の接続部材およびコイル引出線を示す図である。
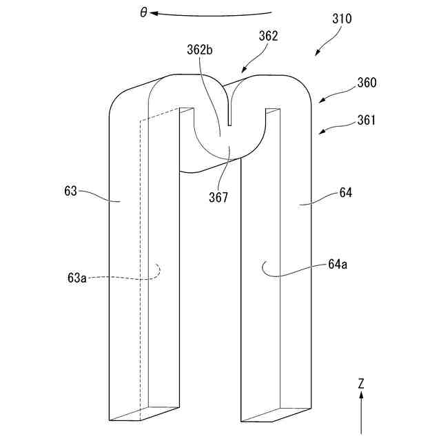
図7は、第2実施形態の接続部材を示す斜視図である。
図8は、第2実施形態の接続部材およびコイル引出線を示す図である。
図9は、第3実施形態の接続部材を示す斜視図である。
図10は、第3実施形態の接続部材およびコイル引出線を示す図である。
図11は、第4実施形態の接続部材を示す斜視図である。
図12は、第4実施形態の接続部材およびコイル引出線を示す図である。
図13は、第5実施形態の接続部材を示す斜視図である。
図14は、第5実施形態の接続部材およびコイル引出線を示す図である。
【発明を実施するための形態】
【0009】
以下、図面を参照しながら、本発明の実施形態に係る回転電機について説明する。なお、本発明の範囲は、以下の実施形態に限定されず、本発明の技術的思想の範囲内で任意に変更可能である。また、以下の図面では、各構成を分かり易くするために、実際の構造と縮尺や数等を異ならせる場合がある。
【0010】
以下の説明において各図には、適宜、Z軸を示す。Z軸は、以下に説明する実施形態の中心軸線Jが延びる方向である。各図に示す中心軸線Jは、仮想軸線である。以下の説明では、中心軸線Jが延びる方向、つまりZ軸と平行な方向を「軸方向」と呼ぶ。中心軸線Jを中心とする径方向を単に「径方向」と呼ぶ。中心軸線Jを中心とする周方向を単に「周方向」と呼ぶ。軸方向のうちZ軸の矢印が向く側(+Z側)を「上側」と呼ぶ。軸方向のうちZ軸の矢印が向く側と逆側(-Z側)を「下側」と呼ぶ。なお、上側および下側は、単に各部の相対位置関係を説明するための名称であり、実際の配置関係等は、これらの名称で示される配置関係等以外の配置関係等であってもよい。
(【0011】以降は省略されています)
この特許をJ-PlatPat(特許庁公式サイト)で参照する
関連特許
ニデック株式会社
モータ
3日前
ニデック株式会社
回転電機
1日前
ニデック株式会社
駆動装置
3日前
ニデック株式会社
冷却装置
1日前
ニデック株式会社
情報処理装置
1日前
ニデック株式会社
モータの制御方法
1か月前
ニデック株式会社
生産管理システム
15日前
ニデック株式会社
ロータおよび回転電機
1日前
ニデック株式会社
送風装置および掃除機
12日前
ニデック株式会社
モータ及びモータ製造方法
15日前
ニデック株式会社
ロータ、回転電機、および駆動装置
2日前
ニデック株式会社
ステータ、モータ及びステータの製造方法
1か月前
ニデック株式会社
積層鉄心の製造装置及び積層鉄心の製造方法
2日前
ニデック株式会社
ポンプシステム、冷媒循環装置、及び制御装置
1日前
ニデック株式会社
回転体検査装置、回転体検査方法及びプログラム
2日前
ニデック株式会社
判別システム、判別方法、および判別プログラム
8日前
ニデック株式会社
モータハウジング、モータハウジング製造方法及びモータ
1日前
ニデック株式会社
画像検査装置、画像分割方法、および画像分割プログラム
8日前
ニデック株式会社
外観検査装置、外観検査方法、および外観検査プログラム
9日前
ニデック株式会社
検査装置、目的変数修正方法および目的変数修正プログラム
2日前
ニデック株式会社
画像検査装置、再調整要否提示方法および再調整要否提示プログラム
9日前
ブルースカイテクノロジー株式会社
放電抵抗回路監視付き電圧センサ
11日前
個人
バッテリ内蔵直流電源
22日前
株式会社アイシン
ロータ
1日前
株式会社FUJI
制御盤
12日前
日本精機株式会社
サージ保護回路
4日前
西部電機株式会社
充電装置
4日前
西部電機株式会社
充電装置
4日前
オムロン株式会社
電源回路
16日前
オムロン株式会社
電源回路
16日前
オムロン株式会社
電源回路
16日前
トヨタ自動車株式会社
回転子
8日前
トヨタ自動車株式会社
固定子
2日前
トヨタ自動車株式会社
製造装置
2日前
ミサワホーム株式会社
居住設備
12日前
東京応化工業株式会社
発電装置
16日前
続きを見る
他の特許を見る