TOP
|
特許
|
意匠
|
商標
特許ウォッチ
Twitter
他の特許を見る
10個以上の画像は省略されています。
公開番号
2025172901
公報種別
公開特許公報(A)
公開日
2025-11-26
出願番号
2025146410,2021058347
出願日
2025-09-03,2021-03-30
発明の名称
光学ユニット及びスマートフォン
出願人
ニデック株式会社
代理人
弁理士法人酒井国際特許事務所
主分類
G03B
5/00 20210101AFI20251118BHJP(写真;映画;光波以外の波を使用する類似技術;電子写真;ホログラフイ)
要約
【課題】駆動に必要な力を低減することが可能な光学ユニット及びスマートフォンを提供する。
【解決手段】光学ユニット1は、可動体2と、支持体3と、揺動機構110とを有する。可動体は、光の進行方向を変える光学要素10を有する。支持体は、揺動軸線A2を中心として揺動可能に、可動体を支持する。揺動機構は、揺動軸線を中心として可動体を揺動する。可動体及び支持体の一方は、第1凸部71を有する。第1凸部は、可動体及び支持体の他方に向かって突出する。可動体及び支持体の他方は、第1凸部に接触する。第1凸部は、揺動軸線上に配置される。光学要素の光軸と揺動軸線とは、重なって配置される。
【選択図】図5A
特許請求の範囲
【請求項1】
光の進行方向を変える光学要素を有する可動体と、
揺動軸線を中心として揺動可能に、前記可動体を支持する支持体と、
前記揺動軸線を中心として前記可動体を揺動する揺動機構と
を有し、
前記可動体及び前記支持体の一方は、前記可動体及び前記支持体の他方に向かって突出する第1凸部を有し、
前記可動体及び前記支持体の他方は、前記第1凸部に接触し、
前記第1凸部は、前記揺動軸線上に配置され、
前記光学要素の光軸と前記揺動軸線とは、重なって配置される、光学ユニット。
続きを表示(約 830 文字)
【請求項2】
前記光軸から離隔した位置に配置され、前記可動体と前記支持体とを接続する複数の弾性部をさらに有し、
前記弾性部は、前記揺動軸線を中心として揺動可能に前記可動体を支持する、請求項1に記載の光学ユニット。
【請求項3】
前記第1凸部は、球面の少なくとも一部を有する、請求項1又は請求項2に記載の光学ユニット。
【請求項4】
前記支持体は、前記第1凸部を有する、請求項1から請求項3のいずれか1項に記載の光学ユニット。
【請求項5】
前記可動体及び前記支持体の他方は、前記第1凸部とは反対方向に窪む第1凹部を有し、
前記第1凹部は、前記第1凸部に接触する、請求項1から請求項4のいずれか1項に記載の光学ユニット。
【請求項6】
前記第1凹部は、凹状の球面の少なくとも一部を有する、請求項5に記載の光学ユニット。
【請求項7】
前記可動体及び前記支持体の一方は、前記可動体及び前記支持体の他方に向かって突出する複数の第2凸部を有し、
前記可動体及び前記支持体の他方は、前記複数の第2凸部に接触し、
前記複数の第2凸部は、前記揺動軸線から離隔した位置に配置され、
前記第1凸部及び前記複数の第2凸部は、前記揺動軸線と交差する同一平面上に配置される、請求項1、及び請求項3から請求項6のいずれか1項に記載の光学ユニット。
【請求項8】
前記複数の第2凸部は、前記揺動軸線を中心とする同一円周上に配置される、請求項7に記載の光学ユニット。
【請求項9】
前記第2凸部の数は、2つである、請求項7又は請求項8に記載の光学ユニット。
【請求項10】
前記第2凸部は、球面の少なくとも一部を有する、請求項7から請求項9のいずれか1項に記載の光学ユニット。
(【請求項11】以降は省略されています)
発明の詳細な説明
【技術分野】
【0001】
本開示は、光学ユニット及びスマートフォンに関する。
続きを表示(約 2,100 文字)
【背景技術】
【0002】
カメラによって静止画又は動画を撮影する際に手振れに起因して像ブレが生じることがある。そして、像ブレを抑制して鮮明な撮影を可能にするための手振れ補正装置が実用化されている。手振れ補正装置は、カメラが手振れした場合に、手振れに応じてカメラモジュールの姿勢を補正することによって像ブレを抑制する(例えば、特許文献1参照)。
【0003】
特許文献1には、光学要素と、光学要素ホルダと、中間ベースと、底ベースとを備えたアクチュエータが記載されている。光学要素は、光学要素ホルダに保持される。中間ベースは、光学要素ホルダを支持する。中間ベースは、底ベース上に配置される。中間ベースは、円弧状の溝を有する。底ベースは、円弧状の溝を有する。中間ベースの溝及び底ベースの溝は、回転軸上に中心を有する円上に配置される。中間ベースの溝と底ベースの溝との間に複数のボールが配置される。中間ベースを底ベースに対して回転させることによって、光学要素が回転する。
【先行技術文献】
【特許文献】
【0004】
国際公開第2017/208090号
【発明の概要】
【発明が解決しようとする課題】
【0005】
しかしながら、特許文献1のアクチュエータでは、中間ベースを底ベースに対して回転させる際に必要なトルクは、回転中心からボールまでの長さ(半径)と摩擦力との積である。特許文献1のアクチュエータでは、ボールが中間ベース及び底ベースの端部に配置される。従って、アクチュエータを駆動する際に必要な力を小さくすることが困難である。
【0006】
本開示は上記課題に鑑みてなされたものであり、その目的は、駆動に必要な力を低減することが可能な光学ユニット及びスマートフォンを提供することにある。
【課題を解決するための手段】
【0007】
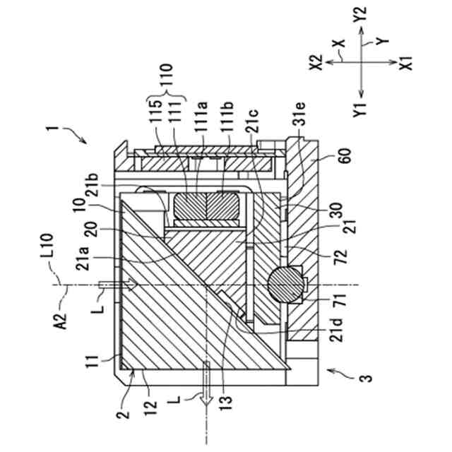
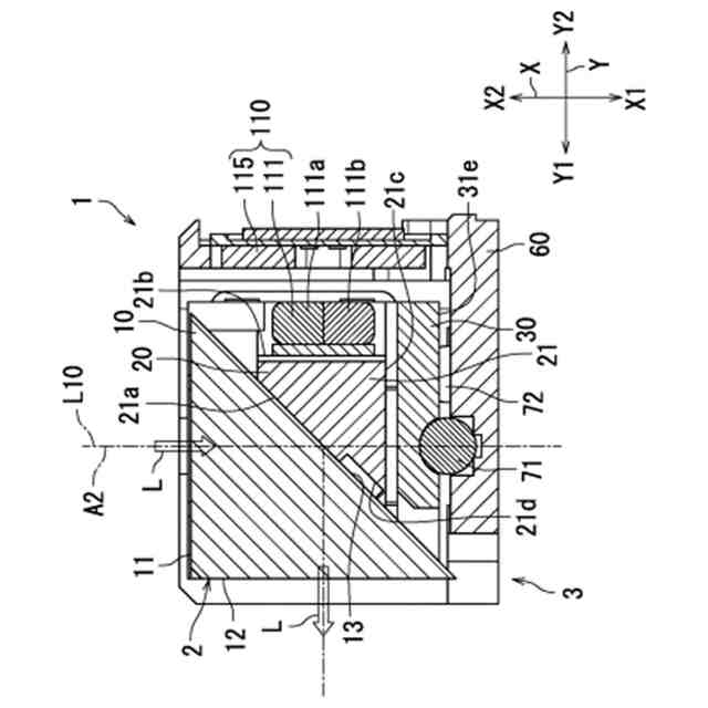
本開示の例示的な光学ユニットは、可動体と、支持体と、揺動機構とを有する。前記可動体は、光の進行方向を変える光学要素を有する。前記支持体は、揺動軸線を中心として揺動可能に、前記可動体を支持する。前記揺動機構は、前記揺動軸線を中心として前記可動体を揺動する。前記可動体及び前記支持体の一方は、第1凸部を有する。前記第1凸部は、前記可動体及び前記支持体の他方に向かって突出する。前記可動体及び前記支持体の他方は、前記第1凸部に接触する。前記第1凸部は、前記揺動軸線上に配置される。前記光学要素の光軸と前記揺動軸線とは、重なって配置される。
【0008】
本開示の他の例示的なスマートフォンは、上記の光学ユニットを有する。
【発明の効果】
【0009】
例示的な本開示によれば、駆動に必要な力を低減することが可能な光学ユニット及びスマートフォンを提供できる。
【図面の簡単な説明】
【0010】
図1は、本開示の実施形態に係る光学ユニットを備えたスマートフォンを模式的に示す斜視図である。
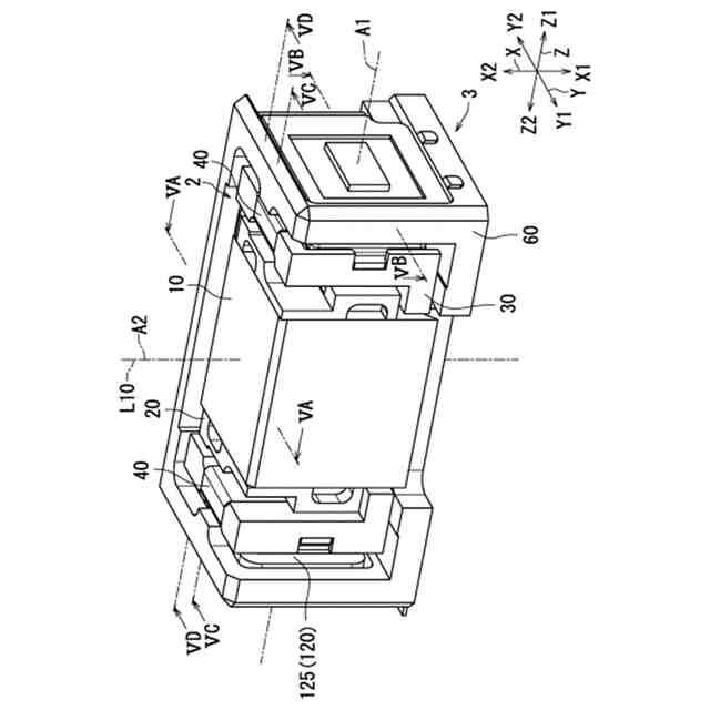
図2は、本実施形態に係る光学ユニットを示す斜視図である。
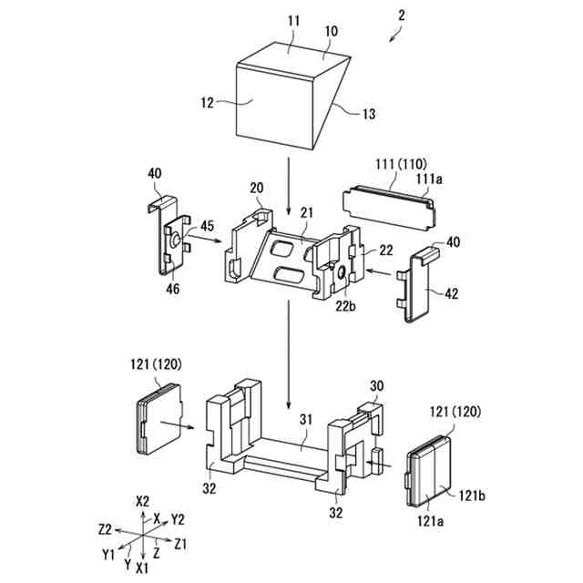
図3は、本実施形態に係る光学ユニットを可動体と支持体とに分解した分解斜視図である。
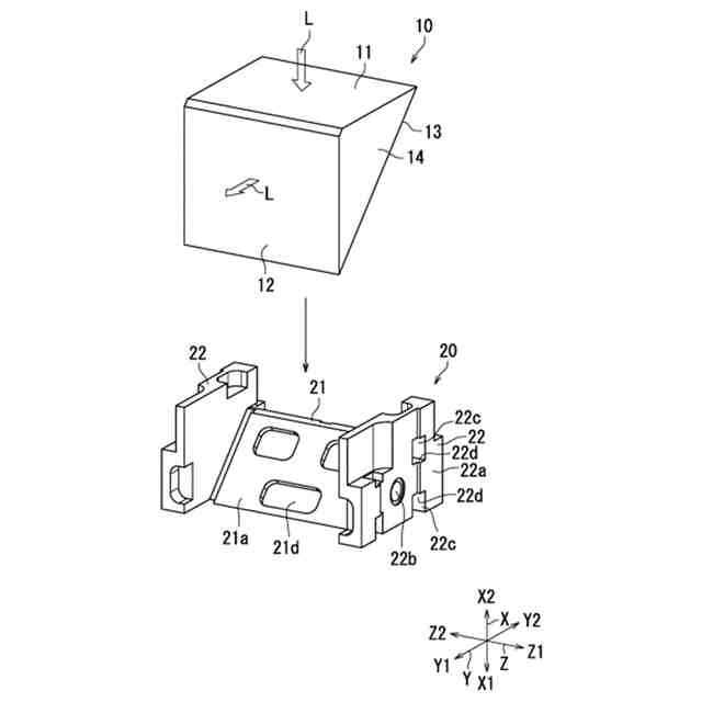
図4は、本実施形態に係る光学ユニットの可動体の分解斜視図である。
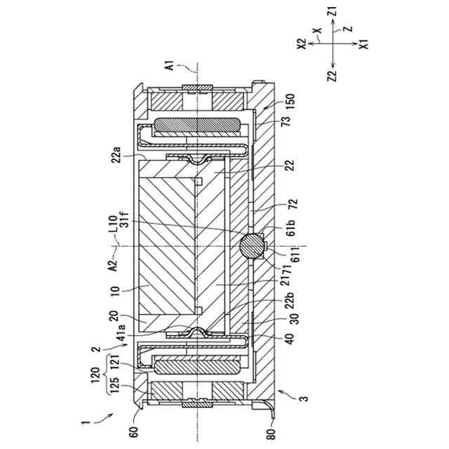
図5Aは、図2のVA-VA線に沿った断面図である。
図5Bは、図2のVB-VB線に沿った断面図である。
図5Cは、図2のVC-VC線に沿った断面図である。
図5Dは、図2のVD-VD線に沿った断面図である。
図6は、本実施形態に係る光学ユニットの光学要素及びホルダの分解斜視図である。
図7は、本実施形態に係る光学ユニットの光学要素、ホルダ及び第1予圧部を示す分解斜視図である。
図8は、本実施形態に係る光学ユニットの光学要素、ホルダ、第1予圧部、第1支持部及び第2磁石を示す分解斜視図である。
図9は、本実施形態に係る光学ユニットの可動体を示す斜視図である。
図10は、本実施形態に係る光学ユニットの第1支持部を第1方向Xの一方側X1から示す図である。
図11は、本実施形態に係る光学ユニットの支持体の分解斜視図である。
図12は、本実施形態に係る光学ユニットの第2支持部周辺を示す斜視図である。
図13は、本実施形態に係る光学ユニットの第2支持部を第1方向Xの他方側X2から示す図である。
図14は、本実施形態に係る光学ユニットの第2支持部、第1凸部、第2凸部及び第2磁石を第1方向Xの他方側X2から示す図である。
図15は、本実施形態の第1変形例に係る光学ユニットの弾性部周辺の構造を模式的に示す断面図である。
図16は、本実施形態の第2変形例に係る光学ユニットの弾性部周辺の構造を模式的に示す断面図である。
【発明を実施するための形態】
(【0011】以降は省略されています)
この特許をJ-PlatPat(特許庁公式サイト)で参照する
関連特許
ニデック株式会社
送風装置
1か月前
ニデック株式会社
回転電機
20日前
ニデック株式会社
回転電機
1か月前
ニデック株式会社
コールドプレート
20日前
ニデック株式会社
コールドプレート
20日前
ニデック株式会社
流路ユニット及び冷媒循環装置
20日前
ニデック株式会社
冷却装置及びコールドプレート
20日前
ニデック株式会社
ロータ及びモータ
1日前
ニデック株式会社
カップリング装置
22日前
ニデック株式会社
光学ユニット及びスマートフォン
1日前
個人
表示装置
1か月前
個人
雨用レンズカバー
1か月前
株式会社シグマ
絞りユニット
2か月前
キヤノン株式会社
撮像装置
2か月前
日本精機株式会社
車両用投射装置
1か月前
キヤノン株式会社
撮像装置
1か月前
キヤノン株式会社
撮像装置
1か月前
平和精機工業株式会社
雲台
3か月前
キヤノン株式会社
撮像装置
2か月前
キヤノン株式会社
撮像装置
1か月前
キヤノン株式会社
撮像装置
2か月前
株式会社リコー
画像形成装置
3か月前
株式会社リコー
画像形成装置
1か月前
株式会社リコー
画像形成装置
28日前
株式会社リコー
画像形成装置
2か月前
株式会社リコー
画像形成装置
28日前
株式会社リコー
画像形成装置
1か月前
株式会社リコー
画像形成装置
3か月前
株式会社リコー
画像形成装置
13日前
株式会社リコー
画像形成装置
3か月前
株式会社リコー
画像形成装置
3か月前
株式会社リコー
画像形成装置
22日前
キヤノン株式会社
画像形成装置
3か月前
キヤノン株式会社
画像形成装置
7日前
キヤノン株式会社
画像形成装置
3か月前
株式会社オプトル
プロジェクタ
2か月前
続きを見る
他の特許を見る