TOP
|
特許
|
意匠
|
商標
特許ウォッチ
Twitter
他の特許を見る
10個以上の画像は省略されています。
公開番号
2025167292
公報種別
公開特許公報(A)
公開日
2025-11-07
出願番号
2024071769
出願日
2024-04-25
発明の名称
冷却装置及びコールドプレート
出願人
ニデック株式会社
代理人
弁理士法人酒井国際特許事務所
,
個人
主分類
F28D
15/00 20060101AFI20251030BHJP(熱交換一般)
要約
【課題】配管が複雑化しない冷却装置及びコールドプレートを提供する。
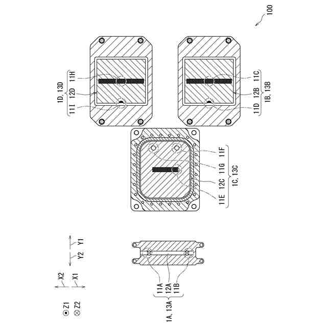
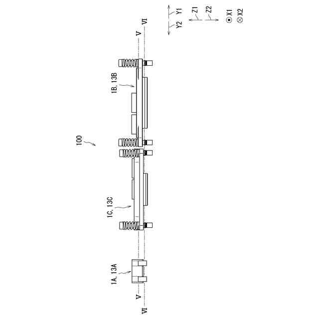
【解決手段】冷却装置100は、第一、第二コールドプレート1A、1B、第一~第四管材2A~2Dと、を備える。第一コールドプレート1Aは、第一、第二開口と、第一、第二開口の各々に連続する第一流路と、を有する。第一管材2Aは、第一開口に接続される。第二管材2Bは、第二開口に接続される。第二コールドプレート1Bは、第三開口及び第四開口と、第三開口及び第四開口の各々に連続する第二流路と、を有する。第三管材2Cは、第三開口に接続される。第四管材2Dは、第四開口に接続される。第一開口及び第二開口は、第一方向Xに互いに離れて位置する。第四管材2Dは、第一開口及び第二開口の間を通り、第一方向Xと交差する第二方向Yに延びる。
【選択図】図1
特許請求の範囲
【請求項1】
第一開口及び第二開口と、前記第一開口及び前記第二開口の各々に連続する第一流路とを有する第一コールドプレートと、
前記第一開口に接続された第一管材と、
前記第二開口に接続された第二管材と、
第三開口及び第四開口と、前記第三開口及び前記第四開口の各々に連続する第二流路とを有する第二コールドプレートと、
前記第三開口に接続された第三管材と、
前記第四開口に接続された第四管材と
を備え、
前記第一開口及び前記第二開口は、第一方向に互いに離れて位置し、
前記第四管材は、前記第一開口及び前記第二開口の間を通り、前記第一方向と交差する第二方向に延びる、冷却装置。
続きを表示(約 1,800 文字)
【請求項2】
前記第二管材が接続された第五開口、前記第三管材が接続された第六開口、及び第七開口と、前記第五開口、前記第六開口及び前記第七開口の各々に連続する第三流路とを有する第三コールドプレートと、
前記第七開口に接続された第五管材と、
前記第五管材が接続された第八開口、及び第九開口と、前記第八開口及び前記第九開口の各々に連続する第四流路とを有する第四コールドプレートと、
前記第九開口と前記第四管材とに接続された第六管材と
を更に備える、請求項1に記載の冷却装置。
【請求項3】
前記第四管材の少なくとも一部は、前記第二管材、前記第三管材及び前記第五管材のうち少なくとも一つに沿って延びる、請求項2に記載の冷却装置。
【請求項4】
前記第五開口、前記第六開口及び前記第七開口は、前記第一方向及び前記第二方向の少なくとも一方に互いに離れて位置し、
前記第四管材は、前記第五開口、前記第六開口及び前記第七開口の中から選ばれた二つの間を通る、請求項2又は3に記載の冷却装置。
【請求項5】
前記第三開口は、前記第四開口よりも前記第六開口から離れて位置し、
前記第八開口は、前記第九開口よりも前記第七開口から離れて位置する、請求項2又は3に記載の冷却装置。
【請求項6】
前記第二管材が接続された第五開口、第六開口、及び第七開口と、前記第五開口、前記第六開口及び前記第七開口の各々に連続する第三流路とを有する第三コールドプレートと、
前記第六開口に接続された第五管材と、
前記第五管材が接続された第八開口、及び第九開口と、前記第八開口及び前記第九開口の各々に連続する第四流路とを有する第四コールドプレートと、
前記第九開口に接続された第六管材と、
前記第六管材が接続された第十開口、及び第十一開口と、前記第十開口及び前記第十一開口の各々に連続する第五流路とを有する第五コールドプレートと、
前記第十一開口と接続された第七管材と、
前記第七管材が接続された第十二開口、及び前記第三管材が接続された第十三開口と、前記第十二開口及び前記第十三開口の各々に連続する第六流路とを有する第六コールドプレートと、
前記第七開口に接続された第八管材と、
前記第八管材が接続された第十四開口、及び第十五開口と、前記第十四開口及び前記第十五開口の各々に連続する第七流路とを有する第七コールドプレートと、
前記第十五開口に接続された第九管材と、
前記第九管材が接続された第十六開口、及び第十七開口と、前記第十六開口及び前記第十七開口の各々に連続する第八流路とを有する第八コールドプレートと、
前記第十七開口と接続された第十管材と、
前記第十管材が接続された第十八開口、及び第十九開口と、前記第十八開口及び前記第十九開口の各々に連続する第九流路とを有する第九コールドプレートと、
前記第十九開口と接続された第十一管材と
を備え、
前記第二コールドプレートは、前記第十一管材と接続された第二十開口を有し、
前記第二流路は、前記第二十開口に連続する、請求項1に記載の冷却装置。
【請求項7】
前記第四コールドプレート、前記第六コールドプレート、前記第七コールドプレート、及び前記第九コールドプレートは、互いに同一形状である、請求項6に記載の冷却装置。
【請求項8】
前記第二管材、前記第三管材、及び前記第五管材ないし前記第十一管材の少なくとも一個は湾曲している、請求項6又は請求項7に記載の冷却装置。
【請求項9】
前記第五コールドプレート及び前記第八コールドプレートは、第三方向に距離を隔てて位置し、
前記第二コールドプレートは、前記第三方向において、前記第五コールドプレートと、前記第八コールドプレートとの間に位置する、請求項6又は請求項7に記載の冷却装置。
【請求項10】
前記第二コールドプレートは、前記第三方向に互いに離れて位置する第一面及び第二面を有し、
前記第三開口及び前記第二十開口は、前記第一面及び前記第二面にそれぞれ形成される、請求項9に記載の冷却装置。
(【請求項11】以降は省略されています)
発明の詳細な説明
【技術分野】
【0001】
本開示は、冷却装置及びコールドプレートに関する。
続きを表示(約 1,100 文字)
【背景技術】
【0002】
背景技術に係る冷却装置の一例として液冷モジュールが開示される(例えば特許文献1参照)。幅方向右側の液冷モジュールの入口に接続される配管は、導入管として作用する。冷媒は、電子機器の外部から導入管を通って右側の液冷モジュールの内部に導入される。
【0003】
左側の液冷モジュールの出口に接続される配管は、排出管として作用する。左側の液冷モジュールの内部の液体の冷媒は、排出管を通って、電子機器の外部に排出される。
【0004】
右側の液冷モジュールの入口と、左側の液冷モジュールの出口との間も配管で接続されており、配管は、移送管として作用する。
【先行技術文献】
【特許文献】
【0005】
特開2023-152500号公報
【発明の概要】
【発明が解決しようとする課題】
【0006】
冷却装置では、冷却対象が増えた場合、配管が複雑化するという問題点があった。
【0007】
本開示の目的は、配管が複雑化しない冷却装置及びコールドプレートを提供することにある。
【課題を解決するための手段】
【0008】
本開示の例示的な冷却装置は、第一コールドプレートと、第一管材と、第二管材と、第二コールドプレートと、第三管材と、第四管材とを備える。前記第一コールドプレートは、第一開口及び第二開口と、前記第一開口及び前記第二開口の各々に連続する第一流路とを有する。前記第一管材は、前記第一開口に接続される。前記第二管材は、前記第二開口に接続される。前記第二コールドプレートは、第三開口及び第四開口と、前記第三開口及び前記第四開口の各々に連続する第二流路とを有する。前記第三管材は、前記第三開口に接続される。前記第四管材は、前記第四開口に接続される。前記第一開口及び前記第二開口は、第一方向に互いに離れて位置する。前記第四管材は、前記第一開口及び前記第二開口の間を通り、前記第一方向と交差する第二方向に延びる。
【0009】
本開示の例示的なコールドプレートは、本体と、三個以上の開口と、流路とを備える。前記本体は、冷却対象と熱的に接触させる冷却部を有する。前記三個以上の開口は、前記本体において前記冷却部以外の部分に形成されている。前記流路は、三個以上の前記開口の各々に連続する。
【発明の効果】
【0010】
本開示によれば、配管が複雑化しない冷却装置及びコールドプレートを提供することができる。
【図面の簡単な説明】
(【0011】以降は省略されています)
この特許をJ-PlatPat(特許庁公式サイト)で参照する
関連特許
個人
排熱回収装置
3か月前
個人
冷却装置の蒸発器
1か月前
個人
放射冷却装置
1か月前
個人
熱交換装置
6か月前
個人
熱交換装置
1か月前
ホーコス株式会社
熱交換ユニット
10か月前
三恵技研工業株式会社
熱交換器
7か月前
三恵技研工業株式会社
熱交換器
7か月前
アンリツ株式会社
検査装置
7か月前
アンリツ株式会社
検査装置
7か月前
株式会社パイオラックス
熱交換器
9か月前
株式会社ティラド
ラジエータ
10か月前
日産自動車株式会社
熱交換器
9か月前
新光電気工業株式会社
蓄熱装置
2か月前
株式会社アイシン
水噴射冷却システム
10か月前
サンデン株式会社
熱交換器
8か月前
サンデン株式会社
熱交換器
10か月前
株式会社デンソー
熱交換器
5か月前
株式会社デンソー
熱交換器
6か月前
株式会社アイシン
熱交換器
6か月前
サンデン株式会社
熱交換器
8か月前
ZACROS株式会社
熱交換装置
7か月前
サンデン株式会社
熱交換器
10か月前
株式会社デンソー
熱交換器
6か月前
サンデン株式会社
熱交換器
10か月前
栗田工業株式会社
冷却塔システム
5か月前
株式会社アイシン
熱交換器
9日前
株式会社デンソー
熱交換器
6か月前
栗田工業株式会社
冷却塔システム
10か月前
日新電機株式会社
化学蓄熱反応器
11か月前
株式会社ティラド
複合型熱交換器
1日前
中部抵抗器株式会社
密閉構造体用冷却装置
11か月前
古河電気工業株式会社
ヒートパイプ
10か月前
TPR株式会社
熱電発電機能付き熱交換器
8か月前
株式会社デンソー
熱交換装置
1か月前
株式会社神戸製鋼所
積層型熱交換器
6か月前
続きを見る
他の特許を見る