TOP
|
特許
|
意匠
|
商標
特許ウォッチ
Twitter
他の特許を見る
公開番号
2025166060
公報種別
公開特許公報(A)
公開日
2025-11-05
出願番号
2025131211,2024550469
出願日
2025-08-06,2023-09-28
発明の名称
カップリング装置
出願人
ニデック株式会社
代理人
弁理士法人酒井国際特許事務所
主分類
F16L
23/024 20060101AFI20251028BHJP(機械要素または単位;機械または装置の効果的機能を生じ維持するための一般的手段)
要約
【課題】簡易に製造できるカップリング装置を提供する。
【解決手段】カップリング装置は、第1部材と、第1部材に固定されるカップリング部とを備え、第1部材は、第1開口を備える第1部材本体部と、第1開口の周縁部に配置される取付部とを備える。カップリング部は、一端部と他端部とを備える第1筒部と、他端部に配置され、第1筒部の径方向外側に向かって突出する配置部とを備える。取付部は、第1部材本体部に締結部材によって固定される板状体を備える。配置部は、第1部材本体部と板状体との間に配置された状態で、第1部材と板状体とによって挟持または支持される。締結部材は、第1筒部の一端部側から他端部側に向けて螺合される。
【選択図】図4
特許請求の範囲
【請求項1】
第1部材と、
前記第1部材に固定されるカップリング部と
を備え、
前記第1部材は、
第1開口を備える第1部材本体部と、
前記第1開口の周縁部に配置される取付部と
を備え、
前記カップリング部は、
一端部と他端部とを備える第1筒部と、
前記他端部に配置され、前記第1筒部の径方向外側に向かって突出する配置部と
を備え、
前記取付部は、前記第1部材本体部に締結部材によって固定される板状体を備え、
前記配置部は、前記第1部材本体部と前記板状体との間に配置された状態で、前記第1部材と前記板状体とによって挟持または支持され、
前記締結部材は、前記第1筒部の前記一端部側から前記他端部側に向けて螺合される、カップリング装置。
続きを表示(約 490 文字)
【請求項2】
第1部材と、
前記第1部材に固定されるカップリング部と
を備え、
前記第1部材は、
第1開口を備える第1部材本体部と、
前記第1開口の周縁部に配置される取付部と
を備え、
前記カップリング部は、
一端部と他端部とを備える第1筒部と、
前記他端部に配置され、前記第1筒部の径方向外側に向かって突出する配置部と
を備え、
前記取付部は、前記第1部材本体部に締結部材によって固定される第1板および第2板を備え、
前記配置部は、前記第1部材本体部と前記第1板との間に配置された状態で、前記第1部材と前記第1板とによって挟持または支持され、かつ、前記第1部材本体部と前記第2板との間に配置された状態で、前記第1部材と前記第2板とによって挟持または支持され、
前記締結部材は、前記第1筒部の前記一端部側から前記他端部側に向けて螺合される、カップリング装置。
【請求項3】
前記一端部は、他の部材の突出部が挿入される、請求項2に記載のカップリング装置。
発明の詳細な説明
【技術分野】
【0001】
本開示は、カップリング装置に関する。
続きを表示(約 1,500 文字)
【背景技術】
【0002】
流体連結器は、筒状部材と、カップリング機構とを備える(例えば、特許文献1)。筒状部材の径方向において、カップリング機構は、筒状部材の内部を移動可能である。
【先行技術文献】
【特許文献】
【0003】
中国特許第104500887号
【発明の概要】
【発明が解決しようとする課題】
【0004】
本開示は、簡易に製造できるカップリング装置を提供することを目的とする。
【課題を解決するための手段】
【0005】
本開示の例示的なカップリング装置は、第1部材と、第1部材に固定されるカップリング部とを備え、第1部材は、第1開口を備える第1部材本体部と、第1開口の周縁部に配置される取付部とを備える。カップリング部は、一端部と他端部とを備える第1筒部と、他端部に配置され、第1筒部の径方向外側に向かって突出する配置部とを備える。取付部は、第1部材本体部に締結部材によって固定される板状体を備える。配置部は、第1部材本体部と板状体との間に配置された状態で、第1部材と板状体とによって挟持または支持される。締結部材は、第1筒部の一端部側から他端部側に向けて螺合される。
【発明の効果】
【0006】
例示的な本開示によれば、簡易に製造できる。
【図面の簡単な説明】
【0007】
図1は、本開示の実施形態1のカップリングシステムの全体斜視図である。
図2は、本実施形態1のカップリングシステムの全体斜視図である。
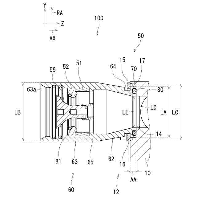
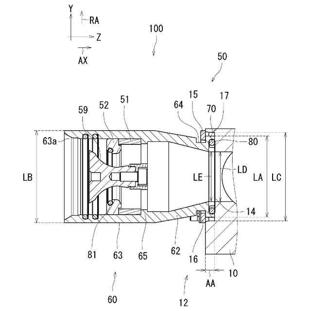
図3は、本実施形態1のカップリング装置の断面を示す斜視図である。
図4は、本実施形態1のカップリング装置の断面図である。
図5は、本開示の実施形態2のカップリングシステムの全体斜視図である。
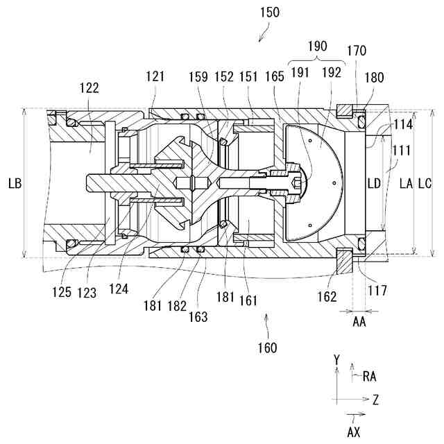
図6は、本実施形態2のカップリング装置の断面図である。
図7は、本実施形態2のカップリング装置の断面を示す斜視図である。
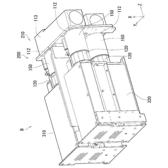
図8は、本開示の実施形態3のカップリングシステムの全体斜視図である。
【発明を実施するための形態】
【0008】
以下、本開示の例示的な実施形態について、図面を参照しつつ説明する。なお、本明細書では、理解を容易にするため、互いに直交する第1方向Z、第2方向X及び第3方向Yを適宜記載している。ここでは、第1筒部の一端部から第1筒部の他端部に向かう方向を「第1方向Z」と称する。「第1方向Z」は、「所定方向」の一例である。また、第1方向Zに対して直交する方向を「第2方向X」と称する。更に、第1方向Z及び第2方向Xに対して直交する方向を「第3方向Y」と称する。
【0009】
なお、本明細書において「直交する方向」とは、厳密な意味での直交を表すのではなく、例えば本開示における効果を奏する程度に直交である場合を含む。
【0010】
<実施形態1>
本開示の例示的な実施形態1のカップリングシステムAについて説明する。図1及び図2は、本実施形態1のカップリングシステムAの全体斜視図である。図3は、本実施形態1のカップリング装置100の断面を示す斜視図である。図4は、本実施形態1のカップリング装置100の断面図である。図1は、第1部材10と第2部材20とが連結した状態のカップリングシステムAの全体斜視図である。図2は、第1部材10と第2部材20とが分離した状態のカップリングシステムAの全体斜視図である。
(【0011】以降は省略されています)
この特許をJ-PlatPat(特許庁公式サイト)で参照する
関連特許
ニデック株式会社
送風装置
1か月前
ニデック株式会社
回転電機
23日前
ニデック株式会社
コールドプレート
23日前
ニデック株式会社
コールドプレート
23日前
ニデック株式会社
流路ユニット及び冷媒循環装置
23日前
ニデック株式会社
冷却装置及びコールドプレート
23日前
ニデック株式会社
ロータ及びモータ
4日前
ニデック株式会社
カップリング装置
25日前
ニデック株式会社
光学ユニット及びスマートフォン
4日前
個人
留め具
1か月前
個人
鍋虫ねじ
3か月前
個人
回転伝達機構
3か月前
個人
ホース保持具
7か月前
個人
紛体用仕切弁
3か月前
個人
トーションバー
8か月前
個人
差動歯車用歯形
5か月前
個人
給排気装置
1か月前
個人
ジョイント
2か月前
株式会社不二工機
電磁弁
6か月前
株式会社不二工機
電磁弁
5か月前
個人
ナット
25日前
個人
地震の揺れ回避装置
4か月前
個人
ナット
2か月前
個人
吐出量監視装置
2か月前
個人
ゲート弁バルブ
10日前
カヤバ株式会社
ダンパ
5か月前
兼工業株式会社
バルブ
26日前
カヤバ株式会社
ダンパ
5か月前
柿沼金属精機株式会社
分岐管
3か月前
株式会社三協丸筒
枠体
8か月前
カヤバ株式会社
緩衝器
4か月前
カヤバ株式会社
緩衝器
4か月前
カヤバ株式会社
緩衝器
1か月前
株式会社タカギ
水栓装置
3か月前
日東電工株式会社
断熱材
7か月前
株式会社ニフコ
クリップ
10日前
続きを見る
他の特許を見る