TOP
|
特許
|
意匠
|
商標
特許ウォッチ
Twitter
他の特許を見る
10個以上の画像は省略されています。
公開番号
2025172906
公報種別
公開特許公報(A)
公開日
2025-11-26
出願番号
2025146604,2021159288
出願日
2025-09-04,2021-09-29
発明の名称
ロータ及びモータ
出願人
ニデック株式会社
代理人
弁理士法人 佐野特許事務所
主分類
H02K
1/28 20060101AFI20251118BHJP(電力の発電,変換,配電)
要約
【課題】組み立て時にエンドプレートの変形を抑制することが可能なロータ及びモータを提供する。
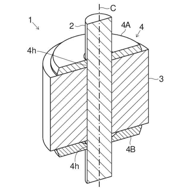
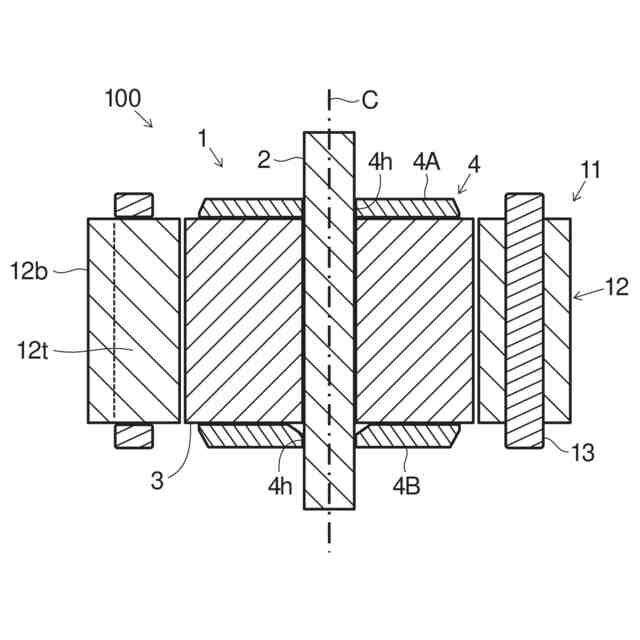
【解決手段】ロータ1は、中心軸Cに沿って延びるシャフト2と、シャフト2の径方向外側に配置され、軸方向に沿って延びるロータコア3と、ロータコア3の軸方向両端部に配置されて径方向に拡がり、径方向内縁部でシャフト2に接触するエンドプレート4と、を有する。エンドプレート4は、ロータコア3と軸方向に対向する第1面と、軸方向において第1面と反対側を向く第2面と、径方向内縁部でシャフト2に隣接し、第1面または第2面から軸方向に凹む凹部と、を有する。
【選択図】図2
特許請求の範囲
【請求項1】
中心軸に沿って延びるシャフトと、
前記シャフトの径方向外側に配置され、軸方向に沿って延びるロータコアと、
前記ロータコアの軸方向両端部に配置されて径方向に拡がり、径方向内縁部で前記シャフトに接触するエンドプレートと、
を有し、
前記エンドプレートは、
前記ロータコアと軸方向に対向する第1面と、
軸方向において前記第1面と反対側を向き、平面である第2面と、
径方向内縁部で前記シャフトに隣接し、前記第1面から軸方向に凹む凹部と、
を有する、ロータ。
続きを表示(約 1,300 文字)
【請求項2】
中心軸に沿って延びるシャフトと、
前記シャフトの径方向外側に配置され、軸方向に沿って延びるロータコアと、
前記ロータコアの軸方向両端部に配置されて径方向に拡がり、径方向内縁部で前記シャフトに接触するエンドプレートと、
を有し、
前記エンドプレートは、
前記ロータコアと軸方向に対向する第1面と、
径方向内縁部で前記シャフトに隣接し、前記第1面から軸方向に凹む凹部と、
を有し、
前記エンドプレートの、軸方向において前記第1面と反対側を向く領域において、径方向内縁部の軸方向端部と、径方向外縁部の軸方向端部とは、径方向に重なる、ロータ。
【請求項3】
中心軸に沿って延びるシャフトと、
前記シャフトの径方向外側に配置され、軸方向に沿って延びるロータコアと、
前記ロータコアの軸方向両端部に配置されて径方向に拡がり、径方向内縁部で前記シャフトに接触するエンドプレートと、
を有し、
前記エンドプレートは、
前記ロータコアと軸方向に対向する第1面と、
径方向内縁部で前記シャフトに隣接し、前記第1面から軸方向に凹む凹部と、
を有し、
前記凹部と、前記ロータコアとは、軸方向に対向する、ロータ。
【請求項4】
前記凹部は、前記エンドプレートの軸方向中央部よりも軸方向の一方側に配置される、請求項1から請求項3のいずれかに記載のロータ。
【請求項5】
前記凹部は、前記エンドプレートの径方向内縁部から外縁部までの中間よりも内側の領域において配置され、前記凹部の底部に傾斜面または湾曲面を有する、請求項1から請求項4のいずれかに記載のロータ。
【請求項6】
前記エンドプレートは、前記傾斜面または前記湾曲面と径方向内縁部との境界と、前記傾斜面または前記湾曲面と前記第1面または前記第2面との境界と、の少なくとも1つの前記境界に丸みを帯びた角部を有する、請求項5に記載のロータ。
【請求項7】
前記凹部は、前記エンドプレートの径方向内縁部から外縁部までの中間よりも外側の領域において、軸方向に凹む段差で構成される、請求項1から請求項4のいずれかに記載のロータ。
【請求項8】
前記段差は、
前記エンドプレートの径方向内縁部から径方向外側に拡がる第3面と、
前記第3面の径方向外縁部から軸方向に拡がり、前記第1面または前記第2面に接続する第4面と、
を有し、
前記エンドプレートは、前記第3面と径方向内縁部との境界と、前記第3面と前記第4面との境界と、前記第4面と前記第1面または前記第2面との境界と、の少なくとも1つの前記境界に丸みを帯びた角部を有する、請求項7に記載のロータ。
【請求項9】
請求項1から請求項8のいずれかに記載のロータと、
前記ロータと径方向に対向して配置されるステータと、
を有する、モータ。
発明の詳細な説明
【技術分野】
【0001】
本発明は、ロータ及びモータに関する。
続きを表示(約 1,500 文字)
【背景技術】
【0002】
従来、ロータコアの軸方向両端部に配置されたエンドプレートを有する構成のロータが知られている。エンドプレートは、円環板状に形成される。エンドプレートの径方向中心部には、ロータの中心軸に沿って延びるシャフトが貫通状態で嵌合される(例えば、特許文献1参照)。
【先行技術文献】
【特許文献】
【0003】
特開2012-205402公報
【発明の概要】
【発明が解決しようとする課題】
【0004】
従来技術では、圧入することでエンドプレートとシャフトとを結合する際、エンドプレートに生じる応力によってエンドプレートが変形する虞があることに課題があった。
【0005】
上記の点に鑑み、本開示は、組み立て時にエンドプレートの変形を抑制することが可能なロータ及びモータを提供することを目的とする。
【課題を解決するための手段】
【0006】
本開示の例示的なロータは、中心軸に沿って延びるシャフトと、前記シャフトの径方向外側に配置され、軸方向に沿って延びるロータコアと、前記ロータコアの軸方向両端部に配置されて径方向に拡がり、径方向内縁部で前記シャフトに接触するエンドプレートと、を有する。前記エンドプレートは、前記ロータコアと軸方向に対向する第1面と、軸方向において前記第1面と反対側を向く第2面と、径方向内縁部で前記シャフトに隣接し、前記第1面または前記第2面から軸方向に凹む凹部と、を有する。
【0007】
本開示の例示的なモータは、上記構成のロータと、前記ロータと径方向に対向して配置されるステータと、を有する。
【発明の効果】
【0008】
本開示の例示的なロータ及びモータによれば、圧入することでエンドプレートとシャフトとを結合する際に生じる応力を、凹部によって径方向外側に伝搬し易くすることができる。これにより、エンドプレートとシャフトとの結合箇所に応力が集中することを回避することができ、エンドプレートの変形を抑制することが可能である。
【図面の簡単な説明】
【0009】
図1は、本開示の一実施形態のモータの縦断面図である。
図2は、ロータの縦断面斜視図である。
図3は、エンドプレートの縦断面図である。
図4は、エンドプレートの縦断面斜視図である。
図5は、変形例1のエンドプレートの縦断面図である。
図6は、変形例1のエンドプレートの縦断面斜視図である。
図7は、エンドプレートの締め代と応力との関係を示すグラフである。
図8は、変形例2のエンドプレートの縦断面図である。
図9は、変形例2のエンドプレートの縦断面斜視図である。
図10は、変形例3のエンドプレートの縦断面図である。
図11は、変形例3のエンドプレートの縦断面斜視図である。
図12は、変形例4のエンドプレートの縦断面図である。
図13は、変形例4のエンドプレートの縦断面斜視図である。
図14は、変形例5のエンドプレートの縦断面図である。
図15は、変形例5のエンドプレートの縦断面斜視図である。
【発明を実施するための形態】
【0010】
以下、図面を参照しながら、本開示の例示的な一実施形態に係るモータについて説明する。なお、本開示の範囲は、以下の実施の形態に限定されず、本開示の技術的思想の範囲内で任意に変更可能である。
(【0011】以降は省略されています)
特許ウォッチbot のツイートを見る
この特許をJ-PlatPat(特許庁公式サイト)で参照する
関連特許
個人
高圧電気機器の開閉器
9日前
個人
電気を重力で発電装置
22日前
キヤノン電子株式会社
モータ
21日前
キヤノン電子株式会社
モータ
29日前
日星電気株式会社
ケーブル組立体
1か月前
コーセル株式会社
電源装置
1か月前
トヨタ自動車株式会社
モータ
21日前
株式会社アイドゥス企画
減反モータ
9日前
株式会社デンソー
回転機
1か月前
株式会社デンソー
端子台
2日前
個人
二次電池繰返パルス放電器用印刷基板
1か月前
株式会社デンソー
電力変換装置
1か月前
株式会社デンソー
電力変換装置
1か月前
株式会社ミツバ
回転電機
1か月前
株式会社ダイヘン
インバータ装置
1か月前
株式会社デンソー
非接触受電装置
1か月前
矢崎総業株式会社
給電装置
1日前
株式会社TMEIC
制御装置
1日前
矢崎総業株式会社
電源回路
8日前
トヨタ自動車株式会社
固定子の加熱装置
1か月前
山洋電気株式会社
モータ
1か月前
個人
非対称鏡像力を有する4層PWB電荷搬送体
16日前
ローム株式会社
モータドライバ回路
16日前
日産自動車株式会社
ロータシャフト
16日前
日産自動車株式会社
ロータシャフト
16日前
トヨタ自動車株式会社
ステータの製造装置
22日前
大和ハウス工業株式会社
敷設用機器
1日前
京商株式会社
模型用非接触電力供給システム
9日前
株式会社TMEIC
電力変換装置
1か月前
株式会社アイシン
電力変換装置
21日前
トヨタ自動車株式会社
可変界磁ロータ
24日前
個人
電線盗難防止方法及び電線盗難防止装置
29日前
株式会社明治ゴム化成
ワイヤレス給電用部品
1か月前
株式会社TMEIC
電力変換装置
1日前
株式会社マキタ
電動作業機
29日前
トヨタ紡織株式会社
ロータの製造装置
1か月前
続きを見る
他の特許を見る