TOP
|
特許
|
意匠
|
商標
特許ウォッチ
Twitter
他の特許を見る
10個以上の画像は省略されています。
公開番号
2025168172
公報種別
公開特許公報(A)
公開日
2025-11-07
出願番号
2024125248
出願日
2024-07-31
発明の名称
コールドプレート
出願人
ニデック株式会社
代理人
弁理士法人 佐野特許事務所
主分類
H01L
23/473 20060101AFI20251030BHJP(基本的電気素子)
要約
【課題】製造時におけるブレードの変形を抑制可能なコールドプレートを提供する。
【解決手段】コールドプレート10は、底壁部12と、天壁部13と、複数のブレード12aと、側壁部14と、を備える。底壁部12は、発熱部品Hと下面が熱的に接触する。天壁部13は、底壁部12の上面を覆う。ブレード12aは、底壁部12の上面に並んで配置され、直線状に延びる。側壁部14は、底壁部12と天壁部13との間に配置され、ブレード12aを囲んで内部に冷媒が流通する冷媒流路11を形成する。底壁部12は、複数の柱部を有する。柱部は、上面から突出し、側壁部14の内側においてブレード12aを挟んでブレード12aの延在方向に対向する。柱部の上端は、ブレード12aの上端と同じ位置又はブレード12aの上端よりも上方に位置する。
【選択図】図3
特許請求の範囲
【請求項1】
発熱部品と下面が熱的に接触する底壁部と、
前記底壁部の上面を覆う天壁部と、
前記底壁部の上面に並んで配置され、直線状に延びる複数のブレードと、
前記底壁部と前記天壁部との間に配置され、前記ブレードを囲んで内部に冷媒が流通する冷媒流路を形成する側壁部と、
を備え、
前記底壁部は、
上面から突出し、前記側壁部の内側において前記ブレードを挟んで前記ブレードの延在方向に対向する複数の柱部を有し、
前記柱部の上端は、前記ブレードの上端と同じ位置又は前記ブレードの上端よりも上方に位置する、コールドプレート。
続きを表示(約 1,300 文字)
【請求項2】
前記柱部は、前記ブレードの配列方向に延びる、請求項1に記載のコールドプレート。
【請求項3】
前記天壁部は、下面から突出して前記柱部と上下方向に接触する突出部を有する、請求項1又は請求項2に記載のコールドプレート。
【請求項4】
前記側壁部は、上面視において、矩形環状であり、
前記柱部の少なくとも一部が、前記側壁部の角部において、前記延在方向に延びる前記側壁部と隙間を介して前記配列方向に対向するとともに、前記配列方向に延びる前記側壁部と隙間を介して前記延在方向に対向する、請求項3に記載のコールドプレート。
【請求項5】
前記天壁部と前記側壁部との間に配置される板状の中間蓋部をさらに備え、
前記中間蓋部は、前記側壁部に囲まれて上下方向に貫通する貫通孔を有し、
前記天壁部は、前記冷媒が流入する流入口を有し、
前記流入口を介して流入する前記冷媒は、前記貫通孔を介して前記冷媒流路に流入する、請求項1又は請求項2に記載のコールドプレート。
【請求項6】
前記中間蓋部は、
前記側壁部の内側に配置され、下面から突出して前記柱部と上下方向に接触する中間突出部をさらに有し、
前記中間突出部は、前記貫通孔の周縁から前記延在方向に離れて配置され、
前記天壁部と前記中間蓋部とは、前記貫通孔を囲む環状のシール部材を介して接触し、
前記シール部材の一部は、前記中間蓋部の上面において、前記中間突出部と前記貫通孔の周縁との間に配置される、請求項5に記載のコールドプレート。
【請求項7】
前記ブレードの延在方向の端部が、上面視において、前記貫通孔の周縁と重なる、請求項6に記載のコールドプレート。
【請求項8】
前記ブレードの前記延在方向の端部と前記貫通孔の周縁とは、隙間を介し上下方向に対向する、請求項7に記載のコールドプレート。
【請求項9】
前記天壁部は、
下面から前記貫通孔の内部に突出し、前記流入口が貫通する天壁突出部を有し、
前記天壁突出部と前記ブレードとの間にシート状の緩衝材が配置される、請求項5に記載のコールドプレート。
【請求項10】
前記中間蓋部は、
前記貫通孔と前記延在方向に隣り合って配置され、上面が下方に凹んで前記天壁部に覆われる凹部を有し、
前記天壁部は、
前記凹部と上下方向に対向して配置され、前記冷媒が流出する流出口を有し、
前記冷媒流路は、前記底壁部と前記中間蓋部と前記側壁部とで囲まれた内部空間から前記凹部と前記天壁部とで囲まれた内部空間に拡がり、
前記シール部材は、前記貫通孔及び前記凹部を囲み、
前記シール部材の一部は、前記貫通孔を挟んで前記凹部と前記延在方向の反対側に配置される前記中間突出部と前記貫通孔の周縁との間に配置される、請求項6に記載のコールドプレート。
(【請求項11】以降は省略されています)
発明の詳細な説明
【技術分野】
【0001】
本発明は、コールドプレートに関する。
続きを表示(約 1,700 文字)
【背景技術】
【0002】
従来のコールドプレートは、底壁部と、天壁部と、複数のブレードと、側壁部と、を備える。底壁部は、発熱部品と下面が熱的に接触する。天壁部は、底壁部の上面を覆う。ブレードは、底壁部の上面に並んで配置され、直線状に延びる。側壁部は、底壁部と天壁部とを連結し、ブレードを囲んで内部に冷媒が流通する冷媒流路を形成する。コールドプレートは、底壁部と天壁部とを接合して製造される(例えば、特許文献1参照)。
【先行技術文献】
【特許文献】
【0003】
中国特許出願公開第110600444号明細書
【発明の概要】
【発明が解決しようとする課題】
【0004】
しかしながら、従来のコールドプレートでは、底壁部に天壁部を接合する際等に、ブレードが変形して冷却効果が低下する可能性があった。
【0005】
本発明は、製造時におけるブレードの変形を抑制可能なコールドプレートを提供することを目的とする。
【課題を解決するための手段】
【0006】
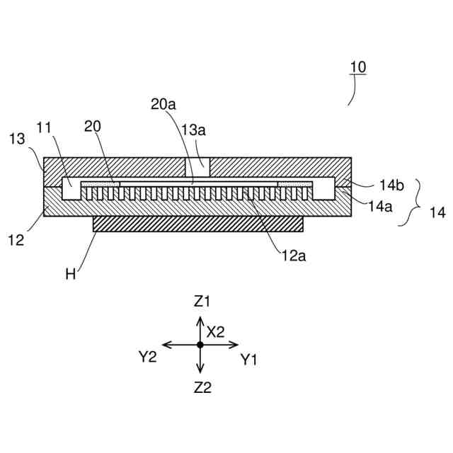
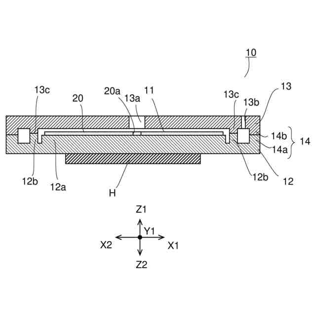
本発明の例示的なコールドプレートは、底壁部と、天壁部と、複数のブレードと、側壁部と、を備える。底壁部は、発熱部品と下面が熱的に接触する。天壁部は、底壁部の上面を覆う。ブレードは、底壁部の上面に並んで配置され、直線状に延びる。側壁部は、底壁部と天壁部との間に配置され、ブレードを囲んで内部に冷媒が流通する冷媒流路を形成する。底壁部は、複数の柱部を有する。柱部は、底壁部の上面から突出し、側壁部の内側においてブレードを挟んでブレードの延在方向に対向する。柱部の上端は、ブレードの上端と同じ位置又はブレードの上端よりも上方に位置する。
【発明の効果】
【0007】
例示的な本発明によれば、製造時におけるブレードの変形を抑制可能なコールドプレートを提供することができる。
【図面の簡単な説明】
【0008】
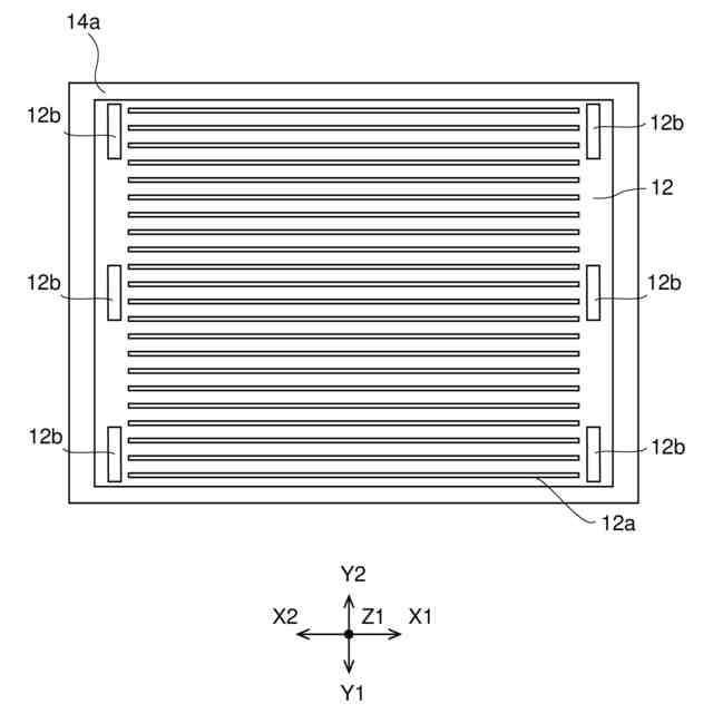
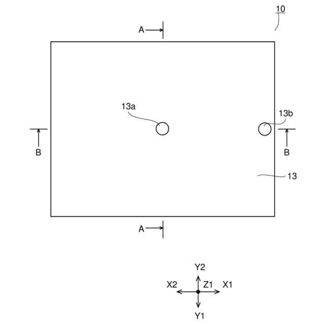
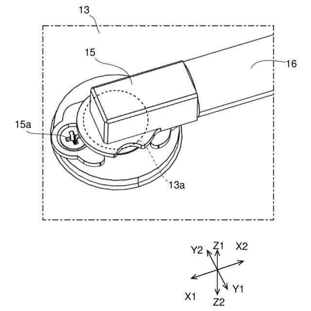
図1は、本発明の第1実施形態に係るコールドプレートの斜視図である。
図2は、本発明の第1実施形態に係るコールドプレートの上面図である。
図3は、図2中のA-A線断面図である。
図4は、図2中のB-B線断面図である。
図5は、本発明の第1実施形態に係るコールドプレートの底壁部の上面図である。
図6は、本発明の第1実施形態に係るコールドプレートの一部を拡大して示す斜視図である。
図7は、本発明の第1実施形態に係るコールドプレートの底壁部の変形例を示す上面図である。
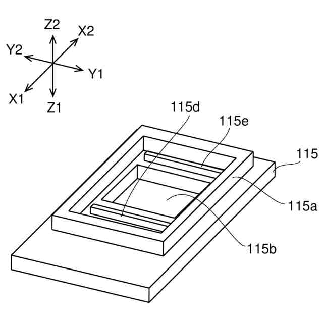
図8は、本発明の第2実施形態に係るコールドプレートの分解斜視図である。
図9は、本発明の第2実施形態に係るコールドプレートの中間蓋部の斜視図である。
図10は、本発明の第2実施形態に係るコールドプレートの上面図である。
図11は、図10中のC-C線断面図である。
図12は、図10中のD-D線断面図である。
【発明を実施するための形態】
【0009】
以下、本発明の例示的な実施形態について、図面を参照しつつ説明する。なお、本願では、底壁部12と天壁部13との対向方向を「上下方向」と称する。また、底壁部12に対して、天壁部13が配置されている方向を「上方」、天壁部13が配置されている方向の反対方向を「下方」、とそれぞれ称する。また、本願では、「上下方向」と直交する方向を「水平方向」と称して、各部の形状や位置関係を説明する。
【0010】
また、コールドプレート10のブレード12aが延在する方向を延在方向(X1-X2)とし、ブレード12aが並ぶ方向を配列方向(Y1-Y2)とする。本実施形態では、上下方向(Z1-Z2)は、延在方向(X1-X2)及び配列方向(Y1-Y2)と直交している。ただし、これは、あくまで説明の便宜のために上下方向および水平方向を定義したものであって、本発明に係るコールドプレート10の製造時および使用時の向きを限定するものではない。
(【0011】以降は省略されています)
この特許をJ-PlatPat(特許庁公式サイト)で参照する
関連特許
ニデック株式会社
送風装置
1か月前
ニデック株式会社
回転電機
23日前
ニデック株式会社
コールドプレート
23日前
ニデック株式会社
コールドプレート
23日前
ニデック株式会社
流路ユニット及び冷媒循環装置
23日前
ニデック株式会社
冷却装置及びコールドプレート
23日前
ニデック株式会社
ロータ及びモータ
4日前
ニデック株式会社
カップリング装置
25日前
ニデック株式会社
光学ユニット及びスマートフォン
4日前
東ソー株式会社
絶縁電線
1か月前
APB株式会社
蓄電セル
1か月前
個人
フレキシブル電気化学素子
1か月前
株式会社東芝
端子台
1か月前
日新イオン機器株式会社
イオン源
1か月前
ローム株式会社
半導体装置
1か月前
マクセル株式会社
電源装置
1か月前
株式会社ユーシン
操作装置
1か月前
三菱電機株式会社
回路遮断器
18日前
株式会社GSユアサ
蓄電設備
1か月前
株式会社GSユアサ
蓄電装置
24日前
オムロン株式会社
電磁継電器
1か月前
株式会社ホロン
冷陰極電子源
1か月前
株式会社GSユアサ
蓄電装置
10日前
株式会社GSユアサ
蓄電設備
1か月前
株式会社GSユアサ
蓄電装置
1か月前
株式会社GSユアサ
蓄電装置
1か月前
富士電機株式会社
電磁接触器
10日前
太陽誘電株式会社
コイル部品
1か月前
ホシデン株式会社
複合コネクタ
4日前
日本特殊陶業株式会社
保持装置
1か月前
トヨタ自動車株式会社
蓄電装置
1か月前
日新イオン機器株式会社
基板処理装置
1か月前
トヨタ自動車株式会社
バッテリ
1か月前
ノリタケ株式会社
熱伝導シート
1か月前
日本特殊陶業株式会社
保持装置
23日前
日東電工株式会社
積層体
1か月前
続きを見る
他の特許を見る