TOP
|
特許
|
意匠
|
商標
特許ウォッチ
Twitter
他の特許を見る
10個以上の画像は省略されています。
公開番号
2025150767
公報種別
公開特許公報(A)
公開日
2025-10-09
出願番号
2024051830
出願日
2024-03-27
発明の名称
モータ及びファン装置
出願人
株式会社ミツバ
代理人
弁理士法人武和国際特許事務所
主分類
H02K
11/33 20160101AFI20251002BHJP(電力の発電,変換,配電)
要約
【課題】放熱効果を向上させつつ、ターミナルと基板とを容易に接続可能なモータを提供する。
【解決手段】コイルから引き出された巻線と電気的に接続されるターミナルと、コイルに電力を供給するドライバ回路が形成された基板とを備え、基板は、基板本体と、接続部材とを備え、基板本体は、金属製のベース板と、ベース板の表面に積層された絶縁層と、絶縁層に形成された配線パターンとを備え、接続部材は、配線パターンと電気的に接続される第1接続片、及び基板本体の外周縁から延出してターミナルと電気的に接続される第2接続片を有するバスバーと、絶縁材料から形成され、バスバーを支持し且つ基板本体に固定されるバスバーホルダとを備える。
【選択図】図7
特許請求の範囲
【請求項1】
コイルから引き出された巻線と電気的に接続されるターミナルと、
前記コイルに電力を供給するドライバ回路が形成された基板とを備え、
前記基板は、基板本体と、接続部材とを備え、
前記基板本体は、
金属製のベース板と、
前記ベース板の表面に積層された絶縁層と、
前記絶縁層に形成された配線パターンとを備え、
前記接続部材は、
前記配線パターンと電気的に接続される第1接続片、及び前記基板本体の外周縁から延出して前記ターミナルと電気的に接続される第2接続片を有するバスバーと、
絶縁材料から形成され、前記バスバーを支持し且つ前記基板本体に固定されるバスバーホルダとを備えることを特徴とするモータ。
続きを表示(約 1,000 文字)
【請求項2】
前記第2接続片には、前記ベース板の厚み方向に貫通する貫通孔が形成され、
前記ターミナルは、前記基板本体の表面側から前記貫通孔に進入して、前記基板本体の表面と反対の裏面側で前記第2接続片に電気的に接続されていることを特徴とする請求項1に記載のモータ。
【請求項3】
前記配線パターンが形成された前記基板本体の表面に前記第1接続片が固定されたとき、前記第2接続片は、前記基板本体の前記表面と反対側の裏面と面一になっていることを特徴とする請求項1に記載のモータ。
【請求項4】
前記バスバーホルダには、前記基板本体に挿通されたネジが螺合されるナットが一体化されていることを特徴とする請求項1に記載のモータ。
【請求項5】
前記バスバーは、前記第1接続片と前記第2接続片との間を繋ぐ中間部を備え、
前記第1接続片及び前記第2接続片は、前記中間部に対して、前記基板本体と近接する側に位置していることを特徴とする請求項1に記載のモータ。
【請求項6】
前記ターミナルは、接続端子を備え、
前記接続部材は、複数の前記バスバーを備えており、
複数の前記バスバーは、前記バスバーホルダの延在方向に対して並列に配置され、
複数の前記バスバーに形成された前記貫通孔が直線上に並んで配置されていることを特徴とする請求項2に記載のモータ。
【請求項7】
前記バスバーホルダは、前記基板本体に対して位置決めされる第1の位置決めピンを備えたことを特徴とする請求項1に記載のモータ。
【請求項8】
前記ターミナルを保持するターミナルホルダを備え、
前記バスバーホルダは、前記ターミナルホルダに対して位置決めする第2の位置決めピンを備えたことを特徴とする請求項1に記載のモータ。
【請求項9】
前記基板本体は、一辺が切り欠かれた切り欠き部を有し、
前記接続部材は、前記切り欠き部に沿って前記基板本体に取り付けられることを特徴とする請求項1に記載のモータ。
【請求項10】
前記バスバーホルダは、少なくとも一部が前記切り欠き部の内部に位置しており、前記基板本体の厚み方向における位置が、前記基板本体と重複している請求項9に記載のモータ。
(【請求項11】以降は省略されています)
発明の詳細な説明
【技術分野】
【0001】
本発明は、モータ、及びモータを搭載したファン装置に関する。
続きを表示(約 1,700 文字)
【背景技術】
【0002】
近年、持続可能な開発目標(Sustainable Development Goals、持続可能な開発のための2030アジェンダ、平成27(2015)年9月25日国連サミット採択、以下「SDGs」という)の推進に向けた取り組みが行われている。それに伴い、持続可能な生産消費形態の確保などのため、廃棄物や不良品の削減などを目指す技術が知られている。
【0003】
従来、ステータのコイルから引き出された巻線のリード部が圧着されるターミナルと、ターミナルと電気的に接続される基板とを備えるモータが知られている。基板には、電力を供給するドライバ回路が実装されている。ドライバ回路は、コイルに電流を流し、磁界を発生させることができる。
【0004】
特許文献1に記載のモータでは、ドライバ回路が実装された基板は、ステータが位置する側の表面に電子部品が実装され、電子部品が実装された面とは反対側の裏面にターミナル接続用のランドが形成されている。このような基板としては、両面に配線パターンが形成された、両面基板、例えば、ガラスエポキシ基板が使用されている。
【先行技術文献】
【特許文献】
【0005】
特開2023―135029号公報
【発明の概要】
【発明が解決しようとする課題】
【0006】
上記特許文献1記載のモータでは、ガラスエポキシ基板を用いているため放熱効果が不十分であり、高出力を得るのが難しい。そこで、ガラスエポキシ基板に代えて、放熱効果の高い金属基板(例えば、アルミ基板)を用いることが考えられる。しかしながら、金属基板ではターミナル接続用のランドを裏面に形成できないので、ガラスエポキシ基板と同じ方法で配線パターンとターミナルとを接続できず、接続作業が複雑になるという課題がある。
【0007】
本発明は、放熱効果を向上させつつ、ターミナルと基板とを容易に接続可能なモータを提供することを目的とする。
【課題を解決するための手段】
【0008】
上記目的を達成するために、本発明のモータは、コイルから引き出された巻線と電気的に接続されるターミナルと、コイルに電力を供給するドライバ回路が形成された基板とを備え、基板は、基板本体と、接続部材とを備え、基板本体は、金属製のベース板と、ベース板の表面に積層された絶縁層と、絶縁層に形成された配線パターンとを備え、接続部材は、配線パターンと電気的に接続される第1接続片、及び基板本体の外周縁から延出してターミナルと電気的に接続される第2接続片を有するバスバーと、絶縁材料から形成され、バスバーを支持し且つ基板本体に固定されるバスバーホルダとを備えることを特徴とする。
【発明の効果】
【0009】
本発明によれば、放熱効果を向上させつつ、ターミナルと基板とを容易に接続可能とし、作業の効率を向上させることが可能になる。
【図面の簡単な説明】
【0010】
実施形態に係るファン装置の斜視図である。
モータ及びファンの分解斜視図である。
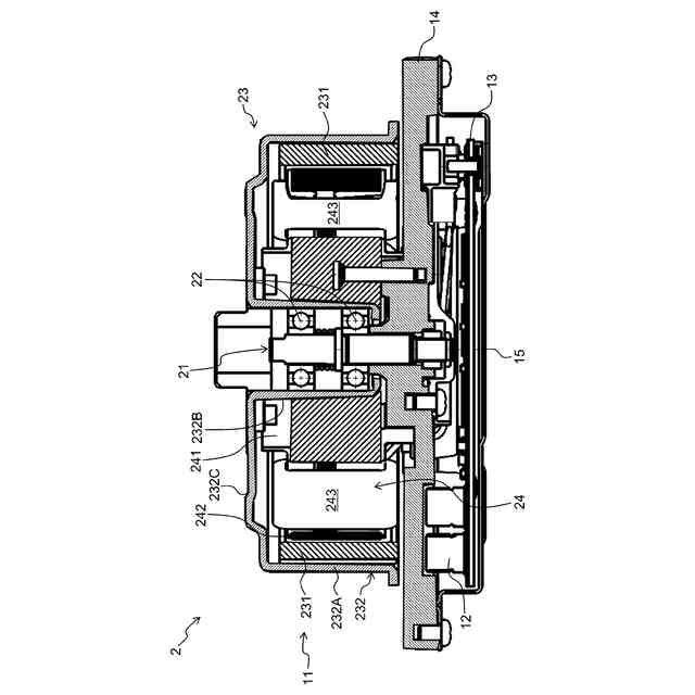
実施形態に係るモータの縦断面図である。
ロータを除いた状態のモータの構成を示す表面側の斜視図である。
ドライバケース及びロータを除いた状態のモータの構成を示す裏面側の斜視図である。
モータの分解斜視図である。
バスバー、ターミナル及びターミナルホルダ周辺の斜視図である。
基板を部品実装面側から視た斜視図である。
基板の分解斜視図である。
基板の要部断面図である。
接続部材の斜視図である。
モータをバスバー、ターミナル及びターミナルホルダ周辺の位置で切断した要部断面図である。
モータを基板の奥行方向から視た側面図である。
ターミナルとバスバーとの半田付け工程を説明する説明図である。
【発明を実施するための形態】
(【0011】以降は省略されています)
この特許をJ-PlatPat(特許庁公式サイト)で参照する
関連特許
株式会社ミツバ
ウォーム
18日前
株式会社ミツバ
回転電機
1か月前
株式会社ミツバ
回転電機
1か月前
株式会社ミツバ
モータ装置
3日前
株式会社ミツバ
モータ装置
1か月前
株式会社ミツバ
モータ装置
2か月前
株式会社ミツバ
ワイパ装置
2か月前
株式会社ミツバ
モータ制御装置
2か月前
株式会社ミツバ
モータ制御装置
2か月前
株式会社ミツバ
ブラシレスモータ
2か月前
株式会社ミツバ
モータ及びファン装置
2か月前
株式会社ミツバ
モータシステム及び電動車両
2か月前
株式会社ミツバ
モータ装置およびロータの製造方法
2か月前
株式会社ミツバ
モータ装置、ワイパー装置、及びモータ制御方法
1か月前
株式会社ミツバ
モータ装置、ワイパー装置、及びモータ制御方法
2か月前
個人
高圧電気機器の開閉器
19日前
個人
電気を重力で発電装置
1か月前
キヤノン電子株式会社
モータ
1か月前
キヤノン電子株式会社
モータ
1か月前
コーセル株式会社
電源装置
1か月前
トヨタ自動車株式会社
モータ
1か月前
株式会社アイドゥス企画
減反モータ
19日前
株式会社デンソー
端子台
12日前
株式会社デンソー
回転電機
3日前
株式会社ダイヘン
送配電装置
3日前
富士電機株式会社
電力変換装置
3日前
富士電機株式会社
電力変換装置
3日前
株式会社不二越
空冷式油圧装置
3日前
本田技研工業株式会社
回転電機
5日前
ローム株式会社
半導体集積回路
10日前
株式会社日立製作所
回転電機
10日前
矢崎総業株式会社
給電装置
11日前
株式会社TMEIC
制御装置
11日前
矢崎総業株式会社
電源回路
18日前
日産自動車株式会社
ロータシャフト
26日前
ローム株式会社
モータドライバ回路
26日前
続きを見る
他の特許を見る