TOP
|
特許
|
意匠
|
商標
特許ウォッチ
Twitter
他の特許を見る
10個以上の画像は省略されています。
公開番号
2025144626
公報種別
公開特許公報(A)
公開日
2025-10-03
出願番号
2024044365
出願日
2024-03-21
発明の名称
ワイパ装置
出願人
株式会社ミツバ
代理人
弁理士法人筒井国際特許事務所
主分類
B60S
1/40 20060101AFI20250926BHJP(車両一般)
要約
【課題】ワイパブレードの払拭時にビビリが発生することを抑えつつ、ワイパアームによるワイパブレードの傾斜角度を適切に規制する。
【解決手段】第1,第2ブロック側往路壁WL1,WL3および第1,第2ブロック側復路壁WL2,WL4は、ワイパブレード40の長手方向において一対の保持爪の両側にそれぞれ配置され、ワイパブレード40のワイパアーム30に対する一方向への傾斜時に、第2往路側傾斜壁75b,79bが第1連結壁部51aに突き当てられ、かつ第1復路側傾斜壁76a,80aが第2連結壁部51bに突き当てられ、ワイパブレード40のワイパアーム30に対する他方向への傾斜時に、第1往路側傾斜壁75a,79aが第1連結壁部51aに突き当てられ、かつ第2復路側傾斜壁76b,80bが第2連結壁部51bに突き当てられる。
【選択図】図10
特許請求の範囲
【請求項1】
第1連結部を有するワイパアームと、前記第1連結部に連結される第2連結部を備えかつ払拭面を払拭するワイパブレードと、を有し、前記第1連結部および前記第2連結部を、前記ワイパブレードの払拭方向に延びる軸心を中心に互いに回動自在に連結してなるワイパ装置であって、
前記ワイパアームは、前記ワイパブレードの払拭方向に互いに対向配置され、かつ前記ワイパブレードの払拭方向において前記第1連結部を支持する第1側壁部および第2側壁部を備え、
前記ワイパブレードは、前記第1側壁部および前記第2側壁部の内側に入り込み、かつ前記第1側壁部と対向する第1対向壁部および前記第2側壁部と対向する第2対向壁部を有し、
前記第1対向壁部および前記第2対向壁部は、前記ワイパブレードの長手方向において前記第2連結部の両側にそれぞれ配置されると共に、
前記第1対向壁部および前記第2対向壁部は、
前記払拭面側に配置され、かつ前記払拭面側を向いた第1傾斜面と、
前記払拭面側とは反対側に配置され、かつ前記払拭面側とは反対側を向いた第2傾斜面と、
をそれぞれ備え、
前記ワイパブレードは、前記ワイパアームに対して前記ワイパブレードの払拭方向に傾斜可能であり、
前記ワイパブレードが前記ワイパアームに対して一方向に傾斜した時に、前記第1対向壁部の前記第2傾斜面が前記第1側壁部に突き当てられ、かつ前記第2対向壁部の前記第1傾斜面が前記第2側壁部に突き当てられ、
前記ワイパブレードが前記ワイパアームに対して他方向に傾斜した時に、前記第1対向壁部の前記第1傾斜面が前記第1側壁部に突き当てられ、かつ前記第2対向壁部の前記第2傾斜面が前記第2側壁部に突き当てられる、
ワイパ装置。
続きを表示(約 1,100 文字)
【請求項2】
請求項1に記載のワイパ装置において、
前記第1連結部は、前記ワイパブレードの払拭方向に延びる連結軸であり、
前記第2連結部は、前記ワイパブレードの長手方向に対向配置され、かつ内側に前記連結軸が差し込まれる可撓性を有する一対の保持爪であり、
前記一対の保持爪は、前記第1対向壁部および前記第2対向壁部から前記ワイパブレードの払拭方向に窪んだ位置に配置される、
ワイパ装置。
【請求項3】
請求項1に記載のワイパ装置において、
前記第1対向壁部および前記第2対向壁部の前記払拭面側の端部および前記払拭面側とは反対側の端部は、前記ワイパブレードの長手方向に対して平行に延びる、
ワイパ装置。
【請求項4】
請求項1に記載のワイパ装置において、
前記第1傾斜面と前記第2傾斜面との間には、前記ワイパブレードの払拭方向に最も突出された頂部が配置され、当該頂部は、前記ワイパブレードの長手方向に対して平行に延びる、
ワイパ装置。
【請求項5】
請求項1に記載のワイパ装置において、
前記ワイパブレードは、当該ワイパブレードの長手方向に延び、かつ前記第2連結部を有する連結部材を備え、
前記連結部材は、
前記払拭面側に配置され、かつ払拭面を払拭するブレードラバーを保持するブレード保持部と、
前記ブレード保持部の前記払拭面側とは反対側に配置され、かつ前記第2連結部,前記第1対向壁部および前記第2対向壁部を有するアダプタ部と、
を備え、
前記ブレード保持部の長手方向両側には、前記ブレードラバーの前記払拭面側とは反対側を覆うラバーホルダの端部を覆うホルダ被覆部が設けられ、
前記ホルダ被覆部は、前記ワイパブレードの長手方向において、前記第1対向壁部および前記第2対向壁部に対応した位置に配置される、
ワイパ装置。
【請求項6】
請求項5に記載のワイパ装置において、
前記ブレード保持部は、前記ワイパブレードの払拭方向において前記アダプタ部よりも幅広であり、かつ前記ワイパブレードの払拭方向において前記アダプタ部から離れるにしたがって前記払拭面に近付くように傾斜された傾斜面を有する、
ワイパ装置。
【請求項7】
請求項5に記載のワイパ装置において、
前記ホルダ被覆部の前記払拭面側とは反対側に、前記第2連結部を前記第1連結部から取り外す時に前記ワイパアームの前記第1側壁部および前記第2側壁部が突き当てられる突当部が設けられる、
ワイパ装置。
発明の詳細な説明
【技術分野】
【0001】
本発明は、ワイパアームおよびワイパブレードを備えたワイパ装置に関する。
続きを表示(約 2,200 文字)
【背景技術】
【0002】
特許文献1には、ワイパブレードの往復払拭動作時において、ワイパブレードをワイパアームに対して傾斜可能としたワイパ装置が記載されている。これにより、往路払拭動作および復路払拭動作の双方において、リップ部の先端の角部を払拭面に対して確実に摺接させ、これによりブレードラバーにビビリが発生することを抑えている。
【先行技術文献】
【特許文献】
【0003】
特開2023-058990号公報
【発明の概要】
【発明が解決しようとする課題】
【0004】
特許文献1に記載された技術では、アームピースの先端に設けられたU字状フックに、第1傾斜面および第2傾斜面を有するクリップ部材が固定され、当該クリップ部材に、バーティブラ保持部材の連結ピンが回動自在に連結されている。そして、クリップ部材の往路側および復路側にそれぞれ第1,第2傾斜面が設けられ、これらの第1,第2傾斜面は、往復払拭動作時におけるワイパブレードのワイパアームに対する傾動に伴い、バーティブラ保持部材の内壁部にそれぞれ突き当てられる。
【0005】
また、クリップ部材の長手方向先端寄りに、連結ピンが回動自在に連結される溝部が設けられ、バーティブラ保持部材は、連結ピンを回動中心に回動自在となっている。そして、ワイパブレードの往復払拭動作時には、払拭面の湾曲形状等に倣って、バーティブラ保持部材はクリップ部材にして対して回動される。
【0006】
特許文献1に記載された技術では、クリップ部材がワイパアーム(アームピース)に固定されているため、ワイパブレードの往復払拭動作時にワイパアームが連結ピンを中心に回動する際に、クリップ部材もワイパアームと一体に回動する。すると、バーティブラ保持部材の内壁部に対するクリップ部材の第1,第2傾斜面の傾斜方向が、回動角度に応じて変動してしまう。これにより、ワイパブレードの傾斜角度を適切に規制することが難しくなる虞がある。
【0007】
本発明の目的は、ワイパブレードの払拭時にビビリが発生することを抑えつつ、ワイパブレードの傾斜角度をより適切に規制することが可能なワイパ装置を提供することにある。
【課題を解決するための手段】
【0008】
ワイパ装置の一態様では、第1連結部を有するワイパアームと、前記第1連結部に連結される第2連結部を備えかつ払拭面を払拭するワイパブレードと、を有し、前記第1連結部および前記第2連結部を、前記ワイパブレードの払拭方向に延びる軸心を中心に互いに回動自在に連結してなるワイパ装置であって、前記ワイパアームは、前記ワイパブレードの払拭方向に互いに対向配置され、かつ前記ワイパブレードの払拭方向において前記第1連結部を支持する第1側壁部および第2側壁部を備え、前記ワイパブレードは、前記第1側壁部および前記第2側壁部の内側に入り込み、かつ前記第1側壁部と対向する第1対向壁部および前記第2側壁部と対向する第2対向壁部を有し、前記第1対向壁部および前記第2対向壁部は、前記ワイパブレードの長手方向において前記第2連結部の両側にそれぞれ配置されると共に、前記第1対向壁部および前記第2対向壁部は、前記払拭面側に配置され、かつ前記払拭面側を向いた第1傾斜面と、前記払拭面側とは反対側に配置され、かつ前記払拭面側とは反対側を向いた第2傾斜面と、をそれぞれ備え、前記ワイパブレードは、前記ワイパアームに対して前記ワイパブレードの払拭方向に傾斜可能であり、前記ワイパブレードが前記ワイパアームに対して一方向に傾斜した時に、前記第1対向壁部の前記第2傾斜面が前記第1側壁部に突き当てられ、かつ前記第2対向壁部の前記第1傾斜面が前記第2側壁部に突き当てられ、前記ワイパブレードが前記ワイパアームに対して他方向に傾斜した時に、前記第1対向壁部の前記第1傾斜面が前記第1側壁部に突き当てられ、かつ前記第2対向壁部の前記第2傾斜面が前記第2側壁部に突き当てられる。
【発明の効果】
【0009】
本発明によれば、ワイパブレードの払拭時にビビリが発生することを抑えつつ、ワイパブレードの傾斜角度をより適切に規制することが可能なワイパ装置を実現することができる。
【図面の簡単な説明】
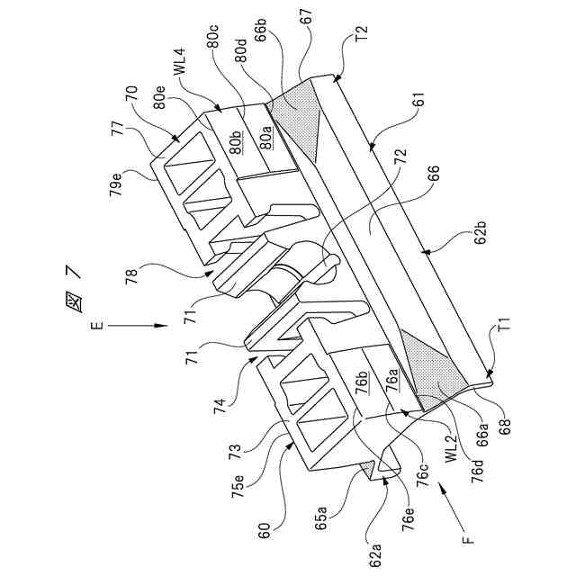
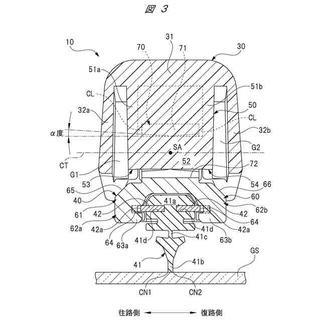
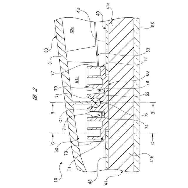
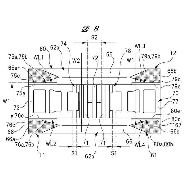
【0010】
ワイパ装置を表側から見た斜視図である。
図1の破線円A部のワイパ装置の長手方向に沿う断面図である。
図2のB-B線に沿う断面図である。
図2のC-C線に沿う断面図である。
ワイパアームとワイパブレードとの連結手順を示す図である。
図5の破線円D部の拡大図である。
連結部材を単体で示す表側から見た斜視図である。
図7のE矢視図である。
図7のF矢視図である。
往路払拭時のワイパブレードの傾斜状態を示す図である。
復路払拭時のワイパブレードの傾斜状態を示す図である。
ワイパブレードの払拭時の連結部分の状態を示す図である。
メンテナンス時の連結部分の一の状態を示す図である。
メンテナンス時の連結部分の他の状態を示す図である。
【発明を実施するための形態】
(【0011】以降は省略されています)
この特許をJ-PlatPat(特許庁公式サイト)で参照する
関連特許
株式会社ミツバ
回転電機
1日前
株式会社ミツバ
回転電機
8日前
株式会社ミツバ
巻線装置
22日前
株式会社ミツバ
ワイパ装置
15日前
株式会社ミツバ
モータ装置
9日前
株式会社ミツバ
ワイパ装置
15日前
株式会社ミツバ
ワイパブレード
17日前
株式会社ミツバ
ワイパブレード
17日前
株式会社ミツバ
ワイパブレード
17日前
株式会社ミツバ
モータ制御装置
15日前
株式会社ミツバ
モータ制御装置
15日前
株式会社ミツバ
ブラシレスモータ
10日前
株式会社ミツバ
モータ及びファン装置
9日前
株式会社ミツバ
巻線装置、及び、巻線方法
22日前
株式会社ミツバ
巻線装置、及び、巻線方法
22日前
株式会社ミツバ
モータシステム及び電動車両
9日前
株式会社ミツバ
モータ装置およびロータの製造方法
9日前
株式会社ミツバ
モータ装置、ワイパー装置、及びモータ制御方法
4日前
株式会社ミツバ
モータ装置、ワイパー装置、及びモータ制御方法
9日前
個人
カーテント
4か月前
個人
タイヤレバー
2か月前
個人
前輪キャスター
1か月前
個人
上部一体型自動車
15日前
個人
ホイルのボルト締結
3か月前
個人
ルーフ付きトライク
2か月前
個人
車輪清掃装置
4か月前
個人
タイヤ脱落防止構造
1か月前
個人
キャンピングトライク
4か月前
個人
マスタシリンダ
22日前
井関農機株式会社
作業車両
4か月前
個人
車両通過構造物
2か月前
井関農機株式会社
作業車両
4か月前
日本精機株式会社
表示装置
2か月前
日本精機株式会社
表示装置
2か月前
日本精機株式会社
表示装置
2か月前
日本精機株式会社
表示装置
2か月前
続きを見る
他の特許を見る