TOP
|
特許
|
意匠
|
商標
特許ウォッチ
Twitter
他の特許を見る
公開番号
2025167111
公報種別
公開特許公報(A)
公開日
2025-11-07
出願番号
2024071428
出願日
2024-04-25
発明の名称
水中音響材の被取り付け面への取り付け構造および水中構造体の被取り付け面を水中音響材で覆う構造ならびに水中音響材
出願人
横浜ゴム株式会社
,
川崎重工業株式会社
代理人
個人
主分類
B63G
8/39 20060101AFI20251030BHJP(船舶またはその他の水上浮揚構造物;関連艤装品)
要約
【課題】音響性能の向上を図りつつ取り付け作業の効率化を図る上で有利な水中音響材の被取り付け面への取り付け構造および水中構造体の被取り付け面を水中音響材で覆う構造ならびに水中音響材を提供する。
【解決手段】第1水中音響材14Aと第2水中音響材14Bとが上下方向に交互に被取り付け面12に取り付けられた状態で、第1水中音響材14Aの第1台形16Aの一対の脚を構成する一対の面(第1傾斜面)20Aと第2水中音響材14Bの第2台形16Bの一対の脚を構成する一対の面(第2傾斜面)20Bとが密着されるため、上下方向において隣り合う水中音響材14の間の隙間への目地材の充填作業が不要となる。
【選択図】図3
特許請求の範囲
【請求項1】
弾性材料からなる板状を呈し、その厚さ方向の両面のうちの一方の面が矩形の表面として形成され、他方の面が矩形の裏面として形成され、前記裏面が水中構造体の被取り付け面の上下方向または水平方向の一方に並べられて取り付けられる水中音響材の被取り付け面への取り付け構造であって、
前記表面から前記裏面までを上下方向または水平方向の一方に延在する前記表面の前記矩形の一辺と平行する仮想線で前記厚さ方向に切断した断面形状が、前記表面を下底とし前記裏面を上底とした第1台形を呈し、前記表面から前記裏面までを上下方向または水平方向の他方に延在する前記表面の前記矩形の一辺と平行する仮想線で前記厚さ方向に切断した断面形状が、矩形を呈する第1水中音響材を複数設け、
前記表面から前記裏面までを上下方向または水平方向の一方に延在する前記表面の前記矩形の一辺と平行する仮想線で前記厚さ方向に切断した断面形状が、前記表面を上底とし前記裏面を下底とした第2台形を呈し、前記表面から前記裏面までを上下方向または水平方向の他方に延在する前記表面の前記矩形の一辺と平行する仮想線で前記厚さ方向に切断した断面形状が、矩形を呈する第2水中音響材を複数設け、
前記第1水中音響材と前記第2水中音響材には、それらの厚さ方向に貫通され前記第1水中音響材と前記第2水中音響材とを前記被取り付け面に取り付けるための取り付け孔が上下方向または水平方向の一方に長い長孔として形成され、
前記被取り付け面から突設されたスタッドボルトが前記長孔内で結合されることで前記第1水中音響材と前記第2水中音響材とが前記被取り付け面に対して上下方向または水平方向の一方に交互に取り付けられ、前記第1水中音響材の前記第1台形の一対の脚を構成する一対の面と、前記第2水中音響材の前記第2台形の一対の脚を構成する一対の面とが密着している、
ことを特徴とする水中音響材の被取り付け面への取り付け構造。
続きを表示(約 1,700 文字)
【請求項2】
弾性材料からなる板状を呈し、その厚さ方向の両面のうちの一方の面が矩形の表面として形成され、他方の面が矩形の裏面として形成され、前記裏面が水中構造体の被取り付け面に取り付けられ前記被取り付け面を前記水中音響材で覆う構造であって、
前記表面から前記裏面までを上下方向または水平方向の一方に延在する前記表面の前記矩形の一辺と平行する仮想線で前記厚さ方向に切断した断面形状が、前記表面を下底とし前記裏面を上底とした第1台形を呈し、前記表面から前記裏面までを上下方向または水平方向の他方に延在する前記表面の前記矩形の一辺と平行する仮想線で前記厚さ方向に切断した断面形状が、矩形を呈する第1水中音響材を複数設け、
前記表面から前記裏面までを上下方向または水平方向の一方に延在する前記表面の前記矩形の一辺と平行する仮想線で前記厚さ方向に切断した断面形状が、前記表面を上底とし前記裏面を下底とした第2台形を呈し、前記表面から前記裏面までを上下方向または水平方向の他方に延在する前記表面の前記矩形の一辺と平行する仮想線で前記厚さ方向に切断した断面形状が、矩形を呈する第2水中音響材を複数設け、
前記第1水中音響材と前記第2水中音響材には、それらの厚さ方向に貫通され前記第1水中音響材と前記第2水中音響材とを前記被取り付け面に取り付けるための取り付け孔が上下方向または水平方向の一方に長い長孔として形成され、
前記被取り付け面から突設されたスタッドボルトが前記長孔内で結合されることで前記第1水中音響材と前記第2水中音響材とが前記被取り付け面に対して上下方向または水平方向の一方に交互に取り付けられ、前記第1水中音響材の前記第1台形の一対の脚を構成する一対の面と、前記第2水中音響材の前記第2台形の一対の脚を構成する一対の面とが密着し上下方向または水平方向の一方に延在する音響材列が形成され、
前記音響材列は上下方向または水平方向の他方に隙間をおいて複数設けられ、
前記隙間は目地材で閉塞されている、
ことを特徴とする水中構造体の被取り付け面を水中音響材で覆う構造。
【請求項3】
弾性材料からなる板状を呈し、その厚さ方向の両面のうちの一方の面が矩形の表面として形成され、他方の面が矩形の裏面として形成された水中音響材であって、
前記水中音響材は第1水中音響材と第2水中音響材とで構成され、
前記第1水中音響材は、前記表面から前記裏面までを上下方向または水平方向の一方に延在する前記表面の前記矩形の一辺と平行する仮想線で前記厚さ方向に切断した断面形状が、前記表面を下底とし前記裏面を上底とした第1台形を呈し、前記表面から前記裏面までを上下方向または水平方向の他方に延在する前記表面の前記矩形の一辺と平行する仮想線で前記厚さ方向に切断した断面形状が矩形を呈し、前記厚さ方向に貫通する取り付け孔が上下方向または水平方向の一方に長い長孔として形成され、
前記第2水中音響材は、前記表面から前記裏面までを上下方向または水平方向の一方に延在する前記表面の前記矩形の一辺と平行する仮想線で前記厚さ方向に切断した断面形状が、前記表面を上底とし前記裏面を下底とした第2台形を呈し、前記表面から前記裏面までを上下方向または水平方向の他方に延在する前記表面の前記矩形の一辺と平行する仮想線で前記厚さ方向に切断した断面形状が矩形を呈し、前記厚さ方向に貫通する取り付け孔が上下方向または水平方向の一方に長い長孔として形成されている、
ことを特徴とする水中音響材。
【請求項4】
前記第1水中音響材の前記第1台形の一対の脚を構成する一対の面と前記表面とがなす角度を第1傾斜角度θ1とし、
前記第2水中音響材の前記第2台形の一対の脚を構成する一対の面と前記裏面とがなす角度を第2傾斜角度θ2とした場合、
前記第1傾斜角度θ1および前記第2傾斜角度θ2が45°以上90°未満である、
ことを特徴とする請求項3記載の水中音響材。
発明の詳細な説明
【技術分野】
【0001】
本発明は、水中音響材の被取り付け面への取り付け構造および水中構造体の被取り付け面を水中音響材で覆う構造ならびに水中音響材に関する。
続きを表示(約 5,600 文字)
【背景技術】
【0002】
船舶の船体などの水中構造体に取り付けることで、遮音、吸音、あるいは、振動抑制を図るに足る音響性能を有する水中音響材が提供されている(特許文献1参照)。
このような水中音響材として、弾性材料からなり均一の厚さの矩形板状を呈するものが知られている。
そして、複数の水中音響材が縦横に並べられ、それら厚さ方向の両面のうちの一方の面である裏面が、水中構造体の被取り付け面に重ね合わされて取り付けられる。
水中音響材の取り付けに際しては、隣り合う水中音響材の4辺の間に生じる隙間にゴム材料やシリコン材料からなる目地材を充填して閉塞する必要がある。
【先行技術文献】
【特許文献】
【0003】
特開2006-227702号公報
【発明の概要】
【発明が解決しようとする課題】
【0004】
上記従来技術では、目地材は水中音響材のような音響性能を有していないため、目地材の面積に相当する分だけ音響性能が低下することが懸念される。
また、水中音響材の取り付け作業に際して目地材を充填する作業が必要となることから、水中音響材の取り付け作業の効率化を図る上で不利となっている。
本発明は前記事情に鑑み案出されたものであって、本発明の目的は、音響性能の向上を図りつつ取り付け作業の効率化を図る上で有利な水中音響材の被取り付け面への取り付け構造および水中構造体の被取り付け面を水中音響材で覆う構造ならびに水中音響材を提供することにある。
【課題を解決するための手段】
【0005】
上記目的を達成するために本発明の一実施の形態は、弾性材料からなる板状を呈し、その厚さ方向の両面のうちの一方の面が矩形の表面として形成され、他方の面が矩形の裏面として形成され、前記裏面が水中構造体の被取り付け面の上下方向または水平方向の一方に並べられて取り付けられる水中音響材の被取り付け面への取り付け構造であって、前記表面から前記裏面までを上下方向または水平方向の一方に延在する前記表面の前記矩形の一辺と平行する仮想線で前記厚さ方向に切断した断面形状が、前記表面を下底とし前記裏面を上底とした第1台形を呈し、前記表面から前記裏面までを上下方向または水平方向の他方に延在する前記表面の前記矩形の一辺と平行する仮想線で前記厚さ方向に切断した断面形状が、矩形を呈する第1水中音響材を複数設け、前記表面から前記裏面までを上下方向または水平方向の一方に延在する前記表面の前記矩形の一辺と平行する仮想線で前記厚さ方向に切断した断面形状が、前記表面を上底とし前記裏面を下底とした第2台形を呈し、前記表面から前記裏面までを上下方向または水平方向の他方に延在する前記表面の前記矩形の一辺と平行する仮想線で前記厚さ方向に切断した断面形状が、矩形を呈する第2水中音響材を複数設け、前記第1水中音響材と前記第2水中音響材には、それらの厚さ方向に貫通され前記第1水中音響材と前記第2水中音響材とを前記被取り付け面に取り付けるための取り付け孔が上下方向または水平方向の一方に長い長孔として形成され、前記被取り付け面から突設されたスタッドボルトが前記長孔内で結合されることで前記第1水中音響材と前記第2水中音響材とが前記被取り付け面に対して上下方向または水平方向の一方に交互に取り付けられ、前記第1水中音響材の前記第1台形の一対の脚を構成する一対の面と、前記第2水中音響材の前記第2台形の一対の脚を構成する一対の面とが密着していることを特徴とする。
また、本発明の一実施の形態は、弾性材料からなる板状を呈し、その厚さ方向の両面のうちの一方の面が矩形の表面として形成され、他方の面が矩形の裏面として形成され、前記裏面が水中構造体の被取り付け面に取り付けられ前記被取り付け面を前記水中音響材で覆う構造であって、前記表面から前記裏面までを上下方向または水平方向の一方に延在する前記表面の前記矩形の一辺と平行する仮想線で前記厚さ方向に切断した断面形状が、前記表面を下底とし前記裏面を上底とした第1台形を呈し、前記表面から前記裏面までを上下方向または水平方向の他方に延在する前記表面の前記矩形の一辺と平行する仮想線で前記厚さ方向に切断した断面形状が、矩形を呈する第1水中音響材を複数設け、前記表面から前記裏面までを上下方向または水平方向の一方に延在する前記表面の前記矩形の一辺と平行する仮想線で前記厚さ方向に切断した断面形状が、前記表面を上底とし前記裏面を下底とした第2台形を呈し、前記表面から前記裏面までを上下方向または水平方向の他方に延在する前記表面の前記矩形の一辺と平行する仮想線で前記厚さ方向に切断した断面形状が、矩形を呈する第2水中音響材を複数設け、前記第1水中音響材と前記第2水中音響材には、それらの厚さ方向に貫通され前記第1水中音響材と前記第2水中音響材とを前記被取り付け面に取り付けるための取り付け孔が上下方向または水平方向の一方に長い長孔として形成され、前記被取り付け面から突設されたスタッドボルトが前記長孔内で結合されることで前記第1水中音響材と前記第2水中音響材とが前記被取り付け面に対して上下方向または水平方向の一方に交互に取り付けられ、前記第1水中音響材の前記第1台形の一対の脚を構成する一対の面と、前記第2水中音響材の前記第2台形の一対の脚を構成する一対の面とが密着し上下方向または水平方向の一方に延在する音響材列が形成され、前記音響材列は上下方向または水平方向の他方に隙間をおいて複数設けられ、前記隙間は目地材で閉塞されていることを特徴とする。
また、本発明の一実施の形態は、弾性材料からなる板状を呈し、その厚さ方向の両面のうちの一方の面が矩形の表面として形成され、他方の面が矩形の裏面として形成された水中音響材であって、前記水中音響材は第1水中音響材と第2水中音響材とで構成され、前記第1水中音響材は、前記表面から前記裏面までを上下方向または水平方向の一方に延在する前記表面の前記矩形の一辺と平行する仮想線で前記厚さ方向に切断した断面形状が、前記表面を下底とし前記裏面を上底とした第1台形を呈し、前記表面から前記裏面までを上下方向または水平方向の他方に延在する前記表面の前記矩形の一辺と平行する仮想線で前記厚さ方向に切断した断面形状が矩形を呈し、前記厚さ方向に貫通する取り付け孔が上下方向または水平方向の一方に長い長孔として形成され、前記第2水中音響材は、前記表面から前記裏面までを上下方向または水平方向の一方に延在する前記表面の前記矩形の一辺と平行する仮想線で前記厚さ方向に切断した断面形状が、前記表面を上底とし前記裏面を下底とした第2台形を呈し、前記表面から前記裏面までを上下方向または水平方向の他方に延在する前記表面の前記矩形の一辺と平行する仮想線で前記厚さ方向に切断した断面形状が矩形を呈し、前記厚さ方向に貫通する取り付け孔が上下方向または水平方向の一方に長い長孔として形成されていることを特徴とする。
また、本発明の一実施の形態は、前記第1水中音響材の前記第1台形の一対の脚を構成する一対の面と前記表面とがなす角度を第1傾斜角度θ1とし、前記第2水中音響材の前記第2台形の一対の脚を構成する一対の面と前記裏面とがなす角度を第2傾斜角度θ2とした場合、前記第1傾斜角度θ1および前記第2傾斜角度θ2が45°以上90°未満であることを特徴とする。
【発明の効果】
【0006】
本発明の一実施の形態の水中音響材の被取り付け面への取り付け構造および水中構造体の被取り付け面を水中音響材で覆う構造ならびに水中音響材によれば、第1水中音響材と第2水中音響材とが上下方向に交互に被取り付け面に取り付けられた状態で、第1水中音響材の第1台形の一対の脚を構成する一対の面と第2水中音響材の第2台形の一対の脚を構成する一対の面とが密着されるため、上下方向または水平方向において隣り合う水中音響材の間の隙間への目地材の充填作業が不要となる。
そのため、従来行われていた水平方向において隣り合う水中音響材の間の隙間への目地材の充填作業と、上下方向において隣り合う水中音響材の間の隙間への目地材の充填作業とのうち、一方の隙間への目地材の充填作業を省略でき、目地材の面積を従来に比べ1/2に削減できるため、音響性能の低下を1/2に抑制でき、従来に比較して音響性能を向上させる上で有利となる。
また、水中音響材の取り付け作業に際して目地材を充填する作業を1/2に削減できることから、目地材のコスト低減、水中音響材の取り付け作業の効率化を図る上で有利となる。
【図面の簡単な説明】
【0007】
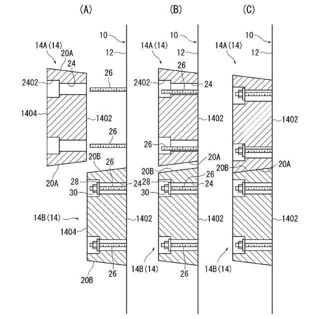
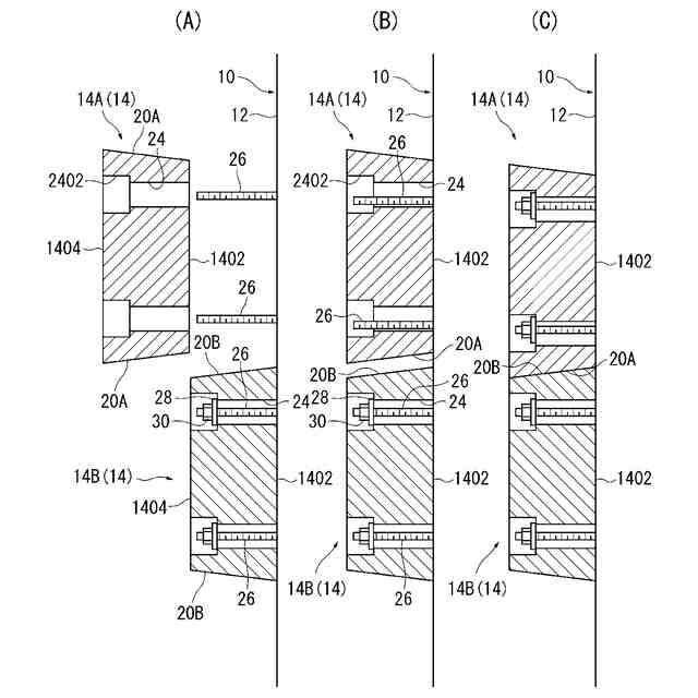
(A)は実施の形態に係る第1水中音響材を表面側から見た平面図、(B)は(A)のB-B線断面図、(C)は(A)のC-C線断面図である。
(A)は実施の形態に係る第2水中音響材を表面側から見た平面図、(B)は(A)のB-B線断面図、(C)は(A)のC-C線断面図である。
(A)、(B)は実施の形態に係る第1水中音響材、第2水中音響材の被取り付け面への取り付け作業を説明する断面図、(C)は第1水中音響材、第2水中音響材の被取り付け面への取り付け後の状態を示す断面図である。
第1水中音響材、第2水中音響材の被取り付け面への取り付け後の状態を表面側から見た平面図である。
【発明を実施するための形態】
【0008】
実施の形態に係る水中音響材の被取り付け面への取り付け構造および水中構造体の被取り付け面を水中音響材で覆う構造ならびに水中音響材について説明する。
図3(C)に示すように、複数の水中音響材14が取り付けられる船体などの水中構造体10の被取り付け面12は、平面または凹状の曲面または凸状の曲面で構成されている。
水中構造体10の被取り付け面12は、複数の水中音響材14により覆われる。
【0009】
図3(C)に示すように、水中音響材14は、弾性材料からなる板状を呈し、その厚さ方向の両面のうちの一方の面である矩形の裏面1402が、被取り付け面12に取り付けられ縦横に並べられて配置されている。
弾性材料としては、ゴムやウレタンなど従来公知のさまざまな弾性材料が使用可能である。
本実施の形態では、水中音響材14として、互いに形状が異なる複数の第1水中音響材14Aと複数の第2水中音響材14Bとが用いられている。
【0010】
図1(A)、(B)、(C)に示すように、第1水中音響材14Aは、矩形の裏面1402と、裏面1402と反対に位置し裏面1402よりも大きな輪郭の矩形の表面1404とを有している。
本実施の形態では、複数の第1水中音響材14Aと複数の第2水中音響材14Bとを上下方向に並べる場合について説明するので、上下方向または水平方向の一方は上下方向となり、他方は水平方向となる。
第1水中音響材14Aは、表面1404から裏面1402までを上下方向に延在する表面1404の矩形の一辺と平行する仮想線で厚さ方向に切断した断面形状は、表面1404を下底とし裏面1402を上底とした第1台形16Aを呈し、表面1404から裏面1402までを水平方向に延在する表面1404の矩形の一辺と平行する仮想線で厚さ方向に切断した断面形状が、第1矩形18Aを呈している。
したがって、第1水中音響材14Aは、第1台形16Aの一対の脚を構成する一対の面(第1傾斜面)20Aと、第1矩形18Aの対向する辺を構成する一対の平坦な面(第1側面)22Aとを備えている。
ここで、第1台形16Aの一対の脚を構成する一対の面(第1傾斜面)20Aと表面1404とがなす角度のそれぞれを第1傾斜角度θ1としたとき、2つの第1傾斜角度θ1は互いに等しい。
また、一対の面(第1傾斜面)20Aと裏面1402とがなす2つの角度は互いに等しい。
また、第1水中音響材14Aには、第1水中音響材14Aを被取り付け面12に取り付けるための複数の取り付け孔24が厚さT1方向に貫通形成されている。
本実施の形態では、第1水中音響材14Aの表面1404の4つの角部の近傍に設けられ、各取り付け孔24は上下方向長い長孔として設けられている。
なお、長孔の短径はスタッドボルトの直径よりも大きな寸法で形成されており、例えば、長孔の短径はスタッドボルトの直径の1.5倍から2倍程度に設定されている。
取り付け孔24の表面1404側には、長孔よりも大きな輪郭の座ぐり孔2402が形成されている。
被取り付け面12から突設されたスタッドボルト26が取り付け孔24に挿通され、座ぐり孔2402においてスタッドボルト26の先端にワッシャ28を介してナット30が締結されることで水中音響材14が被取り付け面12に取り付けられる。
この際、ナット30とスタッドボルト26の先端とは水中音響材14の表面1404よりも低い箇所に位置しており、座ぐり孔2402には不図示のゴム製のキャップが装着されることで座ぐり孔2402が閉塞され、キャップの表面1404は水中音響材14の表面1404と同一面上に位置している。
(【0011】以降は省略されています)
この特許をJ-PlatPat(特許庁公式サイト)で参照する
関連特許
横浜ゴム株式会社
タイヤ
1か月前
横浜ゴム株式会社
タイヤ
2か月前
横浜ゴム株式会社
タイヤ
2か月前
横浜ゴム株式会社
タイヤ
2か月前
横浜ゴム株式会社
タイヤ
2か月前
横浜ゴム株式会社
タイヤ
1か月前
横浜ゴム株式会社
タイヤ
1か月前
横浜ゴム株式会社
タイヤ
1か月前
横浜ゴム株式会社
タイヤ
1か月前
横浜ゴム株式会社
タイヤ
2か月前
横浜ゴム株式会社
タイヤ
2か月前
横浜ゴム株式会社
タイヤ
2か月前
横浜ゴム株式会社
タイヤ
1か月前
横浜ゴム株式会社
タイヤ
2か月前
横浜ゴム株式会社
タイヤ
2か月前
横浜ゴム株式会社
タイヤ
2か月前
横浜ゴム株式会社
タイヤ
1か月前
横浜ゴム株式会社
タイヤ
1か月前
横浜ゴム株式会社
タイヤ
2か月前
横浜ゴム株式会社
タイヤ
2か月前
横浜ゴム株式会社
タイヤ
1か月前
横浜ゴム株式会社
タイヤ
1か月前
横浜ゴム株式会社
タイヤ
1か月前
横浜ゴム株式会社
タイヤ
1か月前
横浜ゴム株式会社
タイヤ
1か月前
横浜ゴム株式会社
タイヤ
2か月前
横浜ゴム株式会社
タイヤ
2か月前
横浜ゴム株式会社
タイヤ
3か月前
横浜ゴム株式会社
タイヤ
1日前
横浜ゴム株式会社
タイヤ
1日前
横浜ゴム株式会社
音響窓
3か月前
横浜ゴム株式会社
タイヤ
3か月前
横浜ゴム株式会社
タイヤ
3か月前
横浜ゴム株式会社
タイヤ
22日前
横浜ゴム株式会社
タイヤ
3日前
横浜ゴム株式会社
タイヤ
3か月前
続きを見る
他の特許を見る