TOP
|
特許
|
意匠
|
商標
特許ウォッチ
Twitter
他の特許を見る
公開番号
2025154085
公報種別
公開特許公報(A)
公開日
2025-10-10
出願番号
2024056893
出願日
2024-03-29
発明の名称
アンモニア回収システム及び方法
出願人
川崎重工業株式会社
代理人
弁理士法人有古特許事務所
主分類
B01D
53/18 20060101AFI20251002BHJP(物理的または化学的方法または装置一般)
要約
【課題】漏出したアンモニアガスを直ちに回収してアンモニアガスの周囲への拡散を抑制する。
【解決手段】アンモニア回収システムは、外部からエアが流入するエア流入口を有し、アンモニアガスの漏洩可能性のある対象箇所を覆う捕集カバーと、アンモニアガスを燃焼させるアンモニア燃焼設備及びアンモニアガスを吸収液に吸収するアンモニア吸収設備のうち少なくとも1つを含むアンモニア処理設備と捕集カバー内とを接続し、捕集カバーで捕集したガスをアンモニア処理設備へ送る捕集ガスラインと、アンモニアガスの漏洩の有無にかかわらず捕集ガスライン内のガスをアンモニア処理設備へ圧送するファンと、を備える。
【選択図】図1
特許請求の範囲
【請求項1】
外部からエアが流入するエア流入口を有し、アンモニアガスの漏洩可能性のある対象箇所を覆う捕集カバーと、
前記アンモニアガスを燃焼させるアンモニア燃焼設備及び前記アンモニアガスを吸収液に吸収するアンモニア吸収設備のうち少なくとも1つを含むアンモニア処理設備と前記捕集カバー内とを接続し、前記捕集カバーで捕集したガスを前記アンモニア処理設備へ送る捕集ガスラインと、
前記アンモニアガスの漏洩の有無にかかわらず前記捕集ガスライン内のガスを前記アンモニア処理設備へ圧送するファンと、を備える、
アンモニア回収システム。
続きを表示(約 1,000 文字)
【請求項2】
前記アンモニア処理設備は、前記アンモニア燃焼設備と前記アンモニア吸収設備の両方を含み、
前記捕集ガスラインは、前記捕集カバーで捕集したガスの送り先を前記アンモニア燃焼設備と前記アンモニア吸収設備との間で切り替える切替装置を有する、
請求項1に記載のアンモニア回収システム。
【請求項3】
前記捕集カバーは、前記対象箇所を水平方向から覆う側壁と、前記側壁の上部を塞ぐ上壁とを有し、前記捕集カバーの底に前記エア流入口が開口している、
請求項1に記載のアンモニア回収システム。
【請求項4】
前記捕集カバーは、前記アンモニア燃焼設備を収容した建屋の屋根部を構成している、請求項1に記載のアンモニア回収システム。
【請求項5】
前記捕集ガスラインは、前記ファンの吸気口と接続された母管と、前記母管と前記捕集カバーとを接続する捕集管と、前記母管に配置されてアンモニアを検出するアンモニアセンサとを含む、
請求項1に記載のアンモニア回収システム。
【請求項6】
前記捕集ガスラインは、前記捕集カバーで捕集したガスを前記アンモニア燃焼設備へシールエアとして送るシールエア管を含み、前記ファンが前記シールエアを圧送するシールエアファンである、
請求項1に記載のアンモニア回収システム。
【請求項7】
前記捕集ガスラインは、前記捕集カバーで捕集したガスを前記アンモニア燃焼設備へ冷却用ガスとして送る冷却用ガス管を含む、
請求項1に記載のアンモニア回収システム。
【請求項8】
前記捕集ガスラインは、前記捕集カバーで捕集したガスを前記アンモニア燃焼設備のバーナより燃焼ガスの流れの下流へ燃焼用空気として送る燃焼用空気供給管を含む、
請求項1に記載のアンモニア回収システム。
【請求項9】
アンモニアガスの漏洩可能性のある対象箇所を、外部からのエアの流入を許容するエア流入口を有する捕集カバーで覆い、
前記捕集カバーと前記アンモニアガスを燃焼させるアンモニア燃焼設備及び前記アンモニアガスを吸収液に吸収するアンモニア吸収設備のうち少なくとも1つを含むアンモニア処理設備とを捕集ガスラインで接続し、
前記捕集カバーで捕集したガスを前記アンモニアガスの漏洩の有無にかかわらず稼働しているファンで前記アンモニア処理設備へ送ること、を含む、
アンモニア回収方法。
発明の詳細な説明
【技術分野】
【0001】
本開示は、漏洩したアンモニアガスを回収する技術に関する。
続きを表示(約 1,400 文字)
【背景技術】
【0002】
従来から、配管の接続部から漏洩するガスの拡散を防止する技術が知られている。特許文献1には、フランジ継手の漏洩防止装置が開示されている。
【0003】
特許文献1の漏洩防止装置は、配管のフランジ継手から漏洩するガスを回収するものであって、フランジ継手の接合部を気密に覆う回収容器と、回収容器内の圧力変動によりフランジ継手からの流体の漏出を検出する検出器と、回収容器に接続された流体処理設備からなる。流体処理設備としてはガスを液化する復水器である。
【先行技術文献】
【特許文献】
【0004】
特開昭61-139737号公報
【発明の概要】
【発明が解決しようとする課題】
【0005】
アンモニアはCO
2
フリー燃料として注目されており、火力ボイラの燃料としての使用が期待されている。ボイラへのアンモニアガス供給系統には、配管の継手や弁などの漏洩の可能性を完全に除去できない箇所がある。アンモニアはごく微量でも異臭を感じたり、中毒を起こしたりするおそれがあることから、漏洩したアンモニアは直ちに回収されることが望ましい。
【0006】
本開示は以上の事情に鑑みてなされたものであり、その目的は、漏出したアンモニアガスを直ちに回収してアンモニアガスの周囲への拡散を抑制する技術を提案することにある。
【課題を解決するための手段】
【0007】
上記課題を解決するために、本開示の一態様に係るアンモニア回収システムは、
外部からエアが流入するエア流入口を有し、アンモニアガスの漏洩可能性のある対象箇所を覆う捕集カバーと、
前記アンモニアガスを燃焼させるアンモニア燃焼設備及び前記アンモニアガスを吸収液に吸収するアンモニア吸収設備のうち少なくとも1つを含むアンモニア処理設備と前記捕集カバー内とを接続し、前記捕集カバーで捕集したガスを前記アンモニア処理設備へ送る捕集ガスラインと、
前記アンモニアガスの漏洩の有無にかかわらず前記捕集ガスライン内のガスを前記アンモニア処理設備へ圧送するファンと、を備えるものである。
【0008】
また、本開示の一態様に係るアンモニア回収方法は、
アンモニアガスの漏洩可能性のある対象箇所を、外部からのエアの流入を許容するエア流入口を有する捕集カバーで覆い、
前記捕集カバーと前記アンモニアガスを燃焼させるアンモニア燃焼設備及び前記アンモニアガスを吸収液に吸収するアンモニア吸収設備のうち少なくとも1つを含むアンモニア処理設備とを捕集ガスラインで接続し、
前記捕集カバーで捕集したガスを前記アンモニアガスの漏洩の有無にかかわらず稼働しているファンで前記アンモニア処理設備へ送ること、を含むものである。
【発明の効果】
【0009】
本開示によれば、漏出したアンモニアガスを直ちに回収してアンモニアガスの周囲への拡散を抑制できる。
【図面の簡単な説明】
【0010】
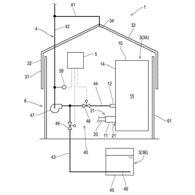
図1は、本発明の第1実施形態に係るアンモニア回収システムの概略構成図である。
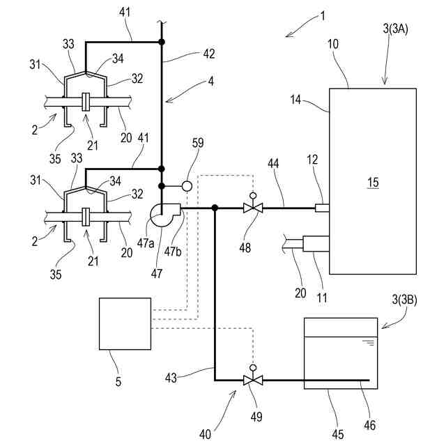
図2は、本発明の第2実施形態に係るアンモニア回収システムの概略構成図である。
【発明を実施するための形態】
(【0011】以降は省略されています)
この特許をJ-PlatPat(特許庁公式サイト)で参照する
関連特許
川崎重工業株式会社
水中構造体
28日前
川崎重工業株式会社
遠心式ターボ機械
27日前
川崎重工業株式会社
廃棄物処理システム
1か月前
川崎重工業株式会社
多段遠心ターボ機械
1か月前
川崎重工業株式会社
ダイクッション装置
27日前
川崎重工業株式会社
バーナおよび燃焼器
28日前
川崎重工業株式会社
ガスタービンエンジン
29日前
川崎重工業株式会社
多段ラジアルタービン
19日前
川崎重工業株式会社
航空機の電気機械システム
29日前
川崎重工業株式会社
付加製造方法及び付加製造装置
27日前
川崎重工業株式会社
クローズドインペラの製造方法
1か月前
川崎重工業株式会社
付加製造方法及び付加製造装置
27日前
川崎重工業株式会社
熱交換器の製造方法及び熱交換器
27日前
川崎重工業株式会社
情報処理装置および情報提供方法
今日
横浜ゴム株式会社
多層空洞音響材
19日前
川崎重工業株式会社
多段遠心圧縮機および圧縮機システム
27日前
川崎重工業株式会社
ロボットハンドおよびロボットシステム
1か月前
川崎重工業株式会社
廃棄物処理システムおよび廃棄物用振動装置
29日前
川崎重工業株式会社
ワーク搬送ロボットおよびロボット制御方法
1か月前
川崎重工業株式会社
基板搬送ロボットおよび基板搬送ロボットの制御方法
27日前
川崎重工業株式会社
二酸化炭素排出システム及び方法、並びに水中航走体
22日前
川崎重工業株式会社
ポペット弁装置、及びそれを備える液圧駆動システム
1か月前
川崎重工業株式会社
多段遠心圧縮機のケーシング、及び、多段遠心圧縮機
6日前
川崎重工業株式会社
レーダ反射断面積切換装置及びレーダ反射断面積切換方法
27日前
川崎重工業株式会社
ロボット
21日前
川崎重工業株式会社
モータ制御システム、ロボットシステム、および、モータ制御方法
今日
川崎重工業株式会社
学習済モデルの構築方法
26日前
川崎重工業株式会社
水素航空機の燃料供給システム
1か月前
横浜ゴム株式会社
水中音響材の被取り付け面への取り付け構造および水中音響材
19日前
川崎重工業株式会社
摩擦攪拌ツールの制御方法及び摩擦攪拌装置
1か月前
川崎重工業株式会社
状態監視装置、状態監視方法及び状態監視プログラム
1か月前
株式会社Eサーモジェンテック
熱電発電システムの製造方法
19日前
川崎重工業株式会社
手術支援システム、手術支援システムの制御方法およびプログラム
12日前
横浜ゴム株式会社
水中音響材の被取り付け面への取り付け構造および水中構造体の被取り付け面を水中音響材で覆う構造ならびに水中音響材
19日前
株式会社西部技研
除湿装置
1か月前
株式会社日本触媒
ドロー溶質
1か月前
続きを見る
他の特許を見る