TOP
|
特許
|
意匠
|
商標
特許ウォッチ
Twitter
他の特許を見る
10個以上の画像は省略されています。
公開番号
2025155044
公報種別
公開特許公報(A)
公開日
2025-10-14
出願番号
2024058361
出願日
2024-03-30
発明の名称
ポペット弁装置、及びそれを備える液圧駆動システム
出願人
川崎重工業株式会社
代理人
個人
主分類
F16K
1/38 20060101AFI20251003BHJP(機械要素または単位;機械または装置の効果的機能を生じ維持するための一般的手段)
要約
【課題】流量に関する制御性を向上させることができるポペット弁装置を提供する。
【解決手段】ポペット弁装置は、弁通路と、弁通路に介在する弁座と、弁通路の上流圧が導かれる背圧室を有する弁孔と、背圧室に繋がる排出流路と、を含むハウジングと、弁座に対して着座及び離座可能に弁孔に収容され、背圧室の背圧に応じてストロークし且つストローク量に応じた開度で弁通路を開くポペット弁体と、排出流路の開度を制御することによって背圧を調整するスプールとを備え、排出流路は、タンクに接続されている。
【選択図】 図1
特許請求の範囲
【請求項1】
弁通路と、前記弁通路に介在する弁座と、前記弁通路の上流圧が導かれる背圧室を有する弁孔と、前記背圧室に繋がる排出流路と、を含むハウジングと、
前記弁座に対して着座及び離座可能に前記弁孔に収容され、前記背圧室の背圧に応じてストロークし且つストローク量に応じた開度で前記弁通路を開くポペット弁体と、
前記排出流路の開度を制御することによって背圧を調整するスプールとを備え、
前記排出流路は、タンクに接続されている、ポペット弁装置。
続きを表示(約 2,500 文字)
【請求項2】
前記ハウジングは、前記タンクに接続されるタンク通路を更に含み、
前記排出流路は、前記タンク通路を介して前記タンクに接続されている、請求項1に記載のポペット弁装置。
【請求項3】
前記弁通路は、前記弁座より上流側に位置する第1通路部分と、前記弁座より下流側に位置し且つ前記タンクに繋がる第2通路部分とを有し、
前記排出流路は、前記第2通路部分を介して前記タンクに繋がっている、請求項1に記載のポペット弁装置。
【請求項4】
前記スプールをストロークさせて前記排出流路の開度を調整する電動機器を更に備える、請求項1に記載のポペット弁装置。
【請求項5】
前記ハウジングは、前記排出流路に介在し且つ前記スプールが軸方向にストローク可能に挿通されるスプール孔を有し、
前記排出流路は、前記背圧室と前記スプール孔とに接続される入口側流路部と、前記スプール孔と前記タンクとに接続される出口側流路部とを有し、
前記スプールは、前記排出流路を閉じる閉位置から前記排出流路を開く開位置に切換る際に前記入口側流路部と前記出口側流路部とを繋ぐ第1ノッチを有し、
前記第1ノッチは、切換る際に前記入口側流路部に繋がる入口側部分と、前記出口側流路部に繋がる出口側部分とを有し、
前記入口側部分は、軸方向に直交する方向に延在し、
前記出口側部分は、軸方向に延在している、請求項1に記載のポペット弁装置。
【請求項6】
前記スプールは、閉位置から開位置に切換る際に前記入口側流路部と前記出口側流路部とを繋ぐ第2ノッチを有し、
前記第2ノッチは、前記スプールの外周面において軸方向に延在する溝である、請求項5に記載のポペット弁装置。
【請求項7】
前記ハウジングは、前記排出流路に介在するスプール孔と、前記スプール孔に挿通され且つ前記スプールがストローク可能に挿入されるスリーブとを更に含み、
前記排出流路は、前記背圧室と前記スプール孔とに接続される入口側流路部と、前記スプール孔と前記タンクとに接続される出口側流路部とを有し、
前記スリーブは、前記入口側流路部に繋がり且つ径方向に貫通する入口側貫通路と、前記出口側流路部に繋がり且つ径方向に貫通する出口側貫通路とを有し、
前記スプールは、前記スリーブ内において、前記排出流路を閉じる開位置から前記排出流路を開く開位置に向かって軸方向一方にストロークし、
前記入口側貫通路は、径方向に進むにつれて軸方向一方に傾斜している、請求項1に記載のポペット弁装置。
【請求項8】
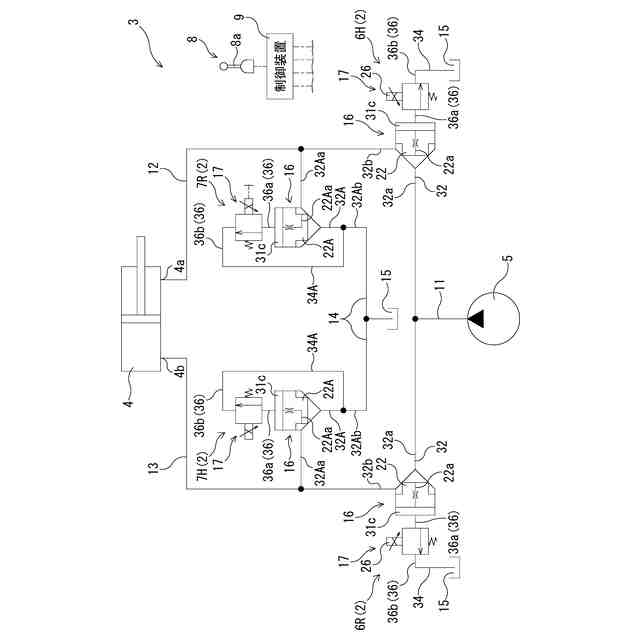
ポンプから液圧アクチュエータの2つのポートに対する作動液の流れを制御する液圧駆動システムであって、
前記液圧アクチュエータの一方のポートに供給される作動液の流量を制御する第1メータイン制御弁装置と、
前記一方のポートから排出される作動液の流量を制御する第1メータアウト制御弁装置と、
前記液圧アクチュエータの他方のポートに供給される作動液の流量を制御する第2メータイン制御弁装置と、
前記他方のポートから排出される作動液の流量を制御する第2メータアウト制御弁装置と、を備え、
前記第1メータイン制御弁装置、前記第1メータアウト制御弁装置、前記第2メータイン制御弁装置、及び前記第2メータアウト制御弁装置のうち少なくとも1つの制御弁装置は、請求項1に記載のポペット弁装置である、液圧駆動システム。
【請求項9】
弁通路と、前記弁通路に介在する弁座と、前記弁通路の上流圧が導かれる背圧室を有する弁孔と、前記背圧室に繋がる排出流路と、前記排出流路に介在するスプール孔と、を含むハウジングと、
前記弁座に対して着座及び離座可能に前記弁孔に収容され、前記背圧室の背圧に応じてストロークし且つストローク量に応じた開度で前記弁通路を開くポペット弁体と、
前記スプール孔に軸方向にストローク可能に挿入され、ストロークすることによって前記排出流路の開度を制御して背圧を調整するスプールとを備え、
前記排出流路は、前記背圧室と前記スプール孔とに接続される入口側流路部と、前記スプール孔に接続される出口側流路部とを有し、
前記スプールは、前記排出流路を閉じる閉位置から前記排出流路を開く開位置に切換る際に前記入口側流路部と前記出口側流路部とを繋ぐ第1ノッチを有し、
前記第1ノッチは、切換る際に前記入口側流路部に繋がる入口側部分と、前記出口側流路部に繋がる出口側部分とを有し、
前記入口側部分は、軸方向に直交する方向に延在し、
前記出口側部分は、軸方向に延在している、ポペット弁装置。
【請求項10】
弁通路と、前記弁通路に介在する弁座と、前記弁通路の上流圧が導かれる背圧室を有する弁孔と、前記背圧室に繋がる排出流路と、前記排出流路に介在するスプール孔と、前記スプール孔に挿通されるスリーブとを含むハウジングと、
前記弁座に対して着座及び離座可能に前記弁孔に収容され、前記背圧室の背圧に応じてストロークし且つストローク量に応じた開度で前記弁通路を開くポペット弁体と、
前記スリーブにストローク可能に挿通され、ストロークすることによって前記排出流路の開度を制御して背圧を調整するスプールとを備え、
前記排出流路は、前記背圧室と前記スプール孔とに接続される入口側流路部と、前記スプール孔に接続される出口側流路部とを有し、
前記スリーブは、前記入口側流路部に繋がり且つ径方向に貫通する入口側貫通路と、前記出口側流路部に繋がり且つ径方向に貫通する出口側貫通路とを有し、
前記スプールは、前記スリーブ内において、前記排出流路を閉じる開位置から前記排出流路を開く開位置に向かって軸方向一方にストロークし、
前記入口側貫通路は、径方向に進むにつれて軸方向一方に傾斜している、ポペット弁装置。
発明の詳細な説明
【技術分野】
【0001】
本開示は、弁通路の開度を調整するポペット弁装置、及びそれを備える液圧駆動システムに関する。
続きを表示(約 2,000 文字)
【背景技術】
【0002】
弁通路の開度を調整するポペット弁装置として、例えば特許文献1の流量制御弁が知られている。特許文献1の流量制御弁は、入口側流路と出口側流路との間に主弁座が形成され、主弁が主弁座に離着座することによって入口側流路と出口側流路との間を開閉する。また、主弁は、背圧室の液圧に応じてストロークし、ストローク量に応じた開度で入口側通路と出口側通路との間を開く。背圧室は、フィードバック流路を介して入口側流路に接続され、更にパイロット通路を介して出口側流路に接続されている。また、パイロット通路には、パイロット弁が介在しており、パイロット弁は、パイロット通路の開度を制御する。
【先行技術文献】
【特許文献】
【0003】
特開2022-166300号公報
【発明の概要】
【発明が解決しようとする課題】
【0004】
液圧ショベル等の建設機械では、ブームシリンダ等の液圧アクチュエータに対する作動液の流れを制御すべく流量制御弁を備えている。流量制御弁は、主にスプール弁で構成されているが、特許文献1の流量制御弁のようなポペット弁装置が採用されることが考えられている。他方、特許文献1の流量制御弁のようなポペット弁装置では、入口側流路の液圧と出口側流路の液圧との差圧が大きくなると、背圧が変動しやすく、流量に関する制御性が低下する。
【0005】
そこで本開示は、流量に関する制御性を向上させることができるポペット弁装置、及びそれを備える液圧駆動システムを提供することを目的としている。
【課題を解決するための手段】
【0006】
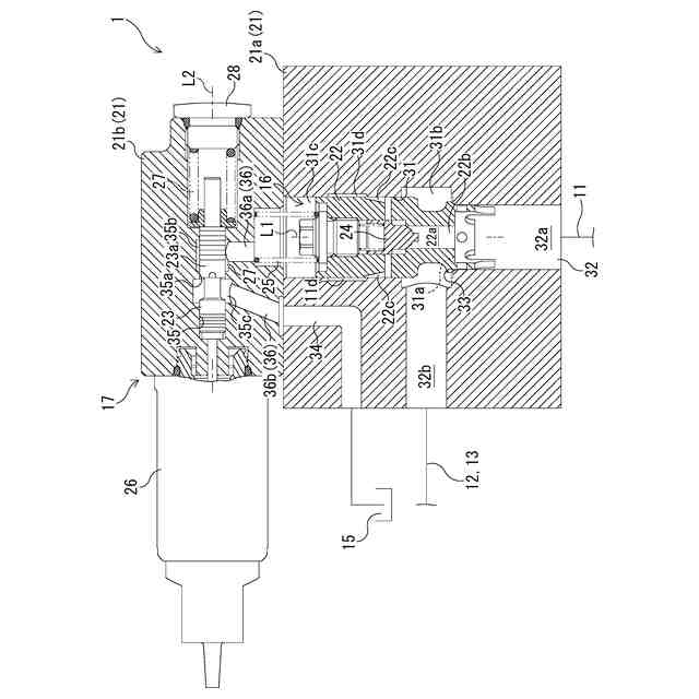
第1の開示のポペット弁装置は、弁通路と、前記弁通路に介在する弁座と、前記弁通路の上流圧が導かれる背圧室を有する弁孔と、前記背圧室に繋がる排出流路と、を含むハウジングと、前記弁座に対して着座及び離座可能に前記弁孔に収容され、前記背圧室の背圧に応じてストロークし且つストローク量に応じた開度で前記弁通路を開くポペット弁体と、前記排出流路の開度を制御することによって背圧を調整するスプールとを備え、前記排出流路は、タンクに接続されているものである。
【0007】
上記開示に従えば、排出流路は、タンクに接続されている。それ故、弁通路の上流圧と下流圧の差圧に拘らず背圧室の背圧を安定させることができる。これにより、ポペット弁装置における流量に関する制御性を向上させることができる。
【0008】
本開示の液圧駆動システムは、ポンプから液圧アクチュエータの2つのポートに対する作動液の流れを制御するものであって、前記液圧アクチュエータの一方のポートに供給される作動液の流量を制御する第1メータイン制御弁装置と、前記一方のポートから排出される作動液の流量を制御する第1メータアウト制御弁装置と、前記液圧アクチュエータの他方のポートに供給される作動液の流量を制御する第2メータイン制御弁装置と、前記他方のポートから排出される作動液の流量を制御する第2メータアウト制御弁装置と、を備え、前記第1メータイン制御弁装置、前記第1メータアウト制御弁装置、前記第2メータイン制御弁装置、及び前記第2メータアウト制御弁装置のうち少なくとも1つの制御弁装置は、前述するポペット弁装置であるものである。
【0009】
上記開示に従えば、第1メータイン制御弁装置、第1メータアウト制御弁装置、第2メータイン制御弁装置、及び第2メータアウト制御弁装置のうち少なくとも1つの制御弁装置は、前述するポペット弁装置である。それ故、液圧駆動システムのコストを低減することができる。
【0010】
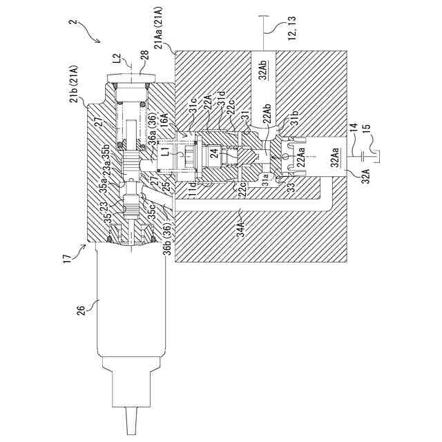
第2の開示のポペット弁装置は、弁通路と、前記弁通路に介在する弁座と、前記弁通路の上流圧が導かれる背圧室を有する弁孔と、前記背圧室に繋がる排出流路と、前記排出流路に介在するスプール孔と、を含むハウジングと、前記弁座に対して着座及び離座可能に前記弁孔に収容され、前記背圧室の背圧に応じてストロークし且つストローク量に応じた開度で前記弁通路を開くポペット弁体と、前記スプール孔に軸方向にストローク可能に挿入され、ストロークすることによって前記排出流路の開度を制御して背圧を調整するスプールとを備え、前記排出流路は、前記背圧室と前記スプール孔とに接続される入口側流路部と、前記スプール孔に接続される出口側流路部とを有し、前記スプールは、前記排出流路を閉じる閉位置から前記排出流路を開く開位置に切換る際に前記入口側流路部と前記出口側流路部とを繋ぐ第1ノッチを有し、前記第1ノッチは、切換る際に前記入口側流路部に繋がる入口側部分と、前記出口側流路部に繋がる出口側部分とを有し、前記入口側部分は、軸方向に直交する方向に延在し、前記出口側部分は、軸方向に延在しているものである。
(【0011】以降は省略されています)
この特許をJ-PlatPat(特許庁公式サイト)で参照する
関連特許
川崎重工業株式会社
水中構造体
1か月前
川崎重工業株式会社
遠心式ターボ機械
1か月前
川崎重工業株式会社
液化空気保護装置
2日前
川崎重工業株式会社
バーナおよび燃焼器
1か月前
川崎重工業株式会社
多段遠心ターボ機械
1か月前
川崎重工業株式会社
廃棄物処理システム
1か月前
川崎重工業株式会社
ダイクッション装置
1か月前
川崎重工業株式会社
ガスタービンエンジン
1か月前
川崎重工業株式会社
多段ラジアルタービン
23日前
川崎重工業株式会社
航空機の電気機械システム
1か月前
川崎重工業株式会社
クローズドインペラの製造方法
1か月前
川崎重工業株式会社
付加製造方法及び付加製造装置
1か月前
川崎重工業株式会社
付加製造方法及び付加製造装置
1か月前
川崎重工業株式会社
情報処理装置および情報提供方法
4日前
川崎重工業株式会社
熱交換器の製造方法及び熱交換器
1か月前
横浜ゴム株式会社
多層空洞音響材
23日前
川崎重工業株式会社
多段遠心圧縮機および圧縮機システム
1か月前
川崎重工業株式会社
廃棄物処理システムおよび廃棄物用振動装置
1か月前
川崎重工業株式会社
情報処理装置および情報処理装置の制御方法
2日前
川崎重工業株式会社
基板搬送ロボットおよび基板搬送ロボットの制御方法
1か月前
川崎重工業株式会社
二酸化炭素排出システム及び方法、並びに水中航走体
26日前
川崎重工業株式会社
多段遠心圧縮機のケーシング、及び、多段遠心圧縮機
10日前
川崎重工業株式会社
レーダ反射断面積切換装置及びレーダ反射断面積切換方法
1か月前
川崎重工業株式会社
ロボット
25日前
川崎重工業株式会社
モータ制御システム、ロボットシステム、および、モータ制御方法
4日前
川崎重工業株式会社
ロボット移動システム、ロボット移動方法及びロボット移動プログラム
3日前
川崎重工業株式会社
学習済モデルの構築方法
1か月前
川崎重工業株式会社
水素航空機の燃料供給システム
1か月前
横浜ゴム株式会社
水中音響材の被取り付け面への取り付け構造および水中音響材
23日前
川崎重工業株式会社
摩擦攪拌ツールの制御方法及び摩擦攪拌装置
1か月前
川崎重工業株式会社
状態監視装置、状態監視方法及び状態監視プログラム
1か月前
株式会社Eサーモジェンテック
熱電発電システムの製造方法
23日前
川崎重工業株式会社
手術支援システム、手術支援システムの制御方法およびプログラム
16日前
横浜ゴム株式会社
水中音響材の被取り付け面への取り付け構造および水中構造体の被取り付け面を水中音響材で覆う構造ならびに水中音響材
23日前
個人
留め具
1か月前
個人
鍋虫ねじ
3か月前
続きを見る
他の特許を見る