TOP
|
特許
|
意匠
|
商標
特許ウォッチ
Twitter
他の特許を見る
公開番号
2025174424
公報種別
公開特許公報(A)
公開日
2025-11-28
出願番号
2024080801
出願日
2024-05-17
発明の名称
液化空気保護装置
出願人
川崎重工業株式会社
代理人
弁理士法人三協国際特許事務所
主分類
F16L
57/00 20060101AFI20251120BHJP(機械要素または単位;機械または装置の効果的機能を生じ維持するための一般的手段)
要約
【課題】極低温流体が流れる配管の表面で発生した液化空気から周辺機器を保護する。
【解決手段】液化空気保護装置(1)は、極低温流体(H)が流れる配管(101)の下方に配置され、当該配管(101)の表面で発生して流下する液化空気(LA)を受け止める上側トレイ(2)と、上側トレイ(2)の下方に配置され、当該上側トレイ(2)の下面で発生して流下する液化空気(LA)を受け止める下側トレイ(3)と、を備える。
【選択図】図7
特許請求の範囲
【請求項1】
極低温流体が流れる配管の下方に配置され、当該配管の表面で発生して流下する液化空気を受け止める上側トレイと、
前記上側トレイの下方に配置され、当該上側トレイの下面で発生して流下する液化空気を受け止める下側トレイと、を備えた、液化空気保護装置。
続きを表示(約 1,000 文字)
【請求項2】
請求項1に記載の液化空気保護装置において、
前記下側トレイ上に配置され、多数の粒状物を含む気化促進材をさらに備えた、液化空気保護装置。
【請求項3】
請求項1に記載の液化空気保護装置において、
前記上側トレイは、下方に凸の断面形状を有し、
前記下側トレイは、前記上側トレイの底部を含む領域と上下方向視で重なるように配置される、液化空気保護装置。
【請求項4】
請求項1に記載の液化空気保護装置において、
前記上側トレイ及び前記下側トレイを支持する一対の支柱をさらに備え、
前記各支柱は、基礎面に立設されて前記下側トレイを支持する下側支柱と、当該下側支柱の上側に配置されて前記上側トレイを支持する上側支柱と、前記下側支柱及び前記上側支柱の間に配置された断熱材と、を含む、液化空気保護装置。
【請求項5】
請求項1に記載の液化空気保護装置において、
前記配管の上方を覆う非通水性のカバー部材をさらに備えた、液化空気保護装置。
【請求項6】
請求項5に記載の液化空気保護装置において、
前記カバー部材の下側の空間と上側の空間とを連通する通気管をさらに備えた、液化空気保護装置。
【請求項7】
請求項1~6のいずれか1項に記載の液化空気保護装置において、
前記配管は、基礎面に立設された配管サポートによって支持され、
前記上側トレイは、第1上側トレイと、当該第1上側トレイに対し前記配管サポートを挟んで前記配管の長手方向に隣接する第2上側トレイと、を含み、
前記下側トレイは、前記第1上側トレイの下方に位置する第1下側トレイと、当該第1下側トレイに対し前記配管サポートを挟んで前記長手方向に隣接し、前記第2上側トレイの下方に位置する第2下側トレイと、を含み、
上下方向において前記上側トレイ及び下側トレイの間に配置され、前記第1上側トレイ及び前記第2上側トレイの間の前記長手方向のギャップを下から覆う補助トレイをさらに備え、
前記補助トレイの前記長手方向の両端部は、前記第1上側トレイ及び前記第2上側トレイの各対向端部と上下方向視で重なるとともに、前記第1下側トレイ及び前記第2下側トレイの各対向端部と上下方向視で重なる、液化空気保護装置。
発明の詳細な説明
【技術分野】
【0001】
本開示は、極低温流体が流れる配管に適用される液化空気保護装置に関する。
続きを表示(約 1,800 文字)
【背景技術】
【0002】
極低温流体が流れる配管に関する技術として、下記特許文献1に記載の極低温流体用配管構造が知られている。この特許文献1の配管構造は、液化水素を貯留する船舶の構造材の上方に配置された低温配管と、当該低温配管を流通する液化水素の影響で低温配管の表面に形成された液化空気を受け止めるために上記構造材上に設けられた貯留領域区画部材と、を備える。貯留領域区画部材の内部には、低温配管から流下した液化空気を受け止めて蒸発させる蒸発促進液体が貯留される。
【先行技術文献】
【特許文献】
【0003】
特開2022-103902号公報
【発明の概要】
【発明が解決しようとする課題】
【0004】
上記特許文献1のように、構造材上の区画領域内に貯留された液体によって液化空気を受け止めるようにした場合には、例えば低温配管から構造材までの距離が大きいなどの条件によっては、液化空気の一部が受け止められずに構造材まで到達する可能性がある。また、低温配管と構造材との間に何らかの機器が存在した場合、当該機器に液化空気が接触する可能性もある。
【0005】
本開示は、上記のような事情に鑑みてなされたものであり、極低温流体が流れる配管の表面で発生した液化空気から周辺機器を効果的に保護することが可能な液化空気保護装置を提供することを目的とする。
【課題を解決するための手段】
【0006】
上記課題を解決するためのものとして、本開示の一局面に係る液化空気保護装置は、極低温流体が流れる配管の下方に配置され、当該配管の表面で発生して流下する液化空気を受け止める上側トレイと、前記上側トレイの下方に配置され、当該上側トレイの下面で発生して流下する液化空気を受け止める下側トレイと、を備えたものである。
【発明の効果】
【0007】
本開示の液化空気保護装置によれば、極低温流体が流れる配管の表面で発生した液化空気から周辺機器を効果的に保護することができる。
【図面の簡単な説明】
【0008】
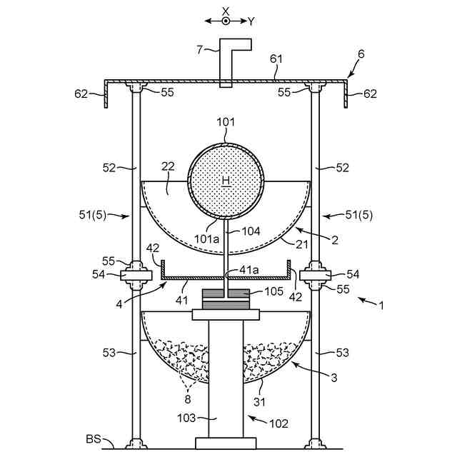
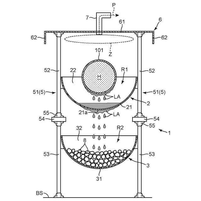
本開示の一実施形態に係る液化空気保護装置を含む配管システムを示す側面図である。
図1のII-II線に沿った断面図である。
図1のIII-III線に沿った断面図である。
上側トレイ及び下側トレイの立体形状を示す斜視図である。
補助トレイの立体形状を示す斜視図である。
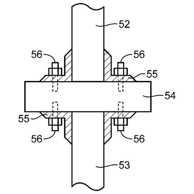
上下の支柱と断熱プレートとの結合部を拡大して示す断面図である。
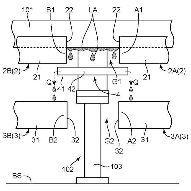
上記実施形態の作用を説明するための図2相当図である。
上記実施形態の作用を説明するための拡大側面図である。
【発明を実施するための形態】
【0009】
以下、図面を参照しつつ、本開示の液化空気保護装置の実施形態について詳細に説明する。本開示の液化空気保護装置は、極低温流体が流れる配管の表面で発生し得る液化空気から周辺機器を保護するための装置である。極低温流体は、空気が液化するような温度まで配管の表面を低下させる可能性のある流体であればその種類を問わないが、例えば、液化水素、液体ヘリウム、もしくはこれらの液化ガスが蒸発したもの(ボイルオフガス)が挙げられる。
【0010】
[全体構成]
図1は、本開示の一実施形態に係る液化空気保護装置1を含む配管システム100を示す側面図である。本図に示すように、配管システム100は、水素配管101と、水素配管101を基礎面BS上に支持する配管サポート102と、水素配管101の表面で発生し得る液化空気LA(図7)から周辺機器を保護するための上記液化空気保護装置1と、を備える。水素配管101は、極低温の水素H(図2)が内部を流通する配管であり、本開示における「配管」に対応している。すなわち、本実施形態では、配管を流れる極低温流体が水素Hである場合を例示する。水素Hは、液化水素でもよいし、当該液化水素が蒸発したものつまりボイルオフガスでもよい。液化水素は、常圧で約-253℃になる液相の水素Hであり、そのボイルオフガスは、常圧で-253℃よりもやや高い温度になる気相の水素Hである。基礎面BSは、コンクリート基礎等の地盤の上面であってもよいし、地盤の上方に設置されたグレーチング等の部材の上面であってもよい。
(【0011】以降は省略されています)
この特許をJ-PlatPat(特許庁公式サイト)で参照する
関連特許
川崎重工業株式会社
液化空気保護装置
今日
川崎重工業株式会社
多段ラジアルタービン
21日前
川崎重工業株式会社
情報処理装置および情報提供方法
2日前
横浜ゴム株式会社
多層空洞音響材
21日前
川崎重工業株式会社
情報処理装置および情報処理装置の制御方法
今日
川崎重工業株式会社
多段遠心圧縮機のケーシング、及び、多段遠心圧縮機
8日前
川崎重工業株式会社
モータ制御システム、ロボットシステム、および、モータ制御方法
2日前
川崎重工業株式会社
ロボット移動システム、ロボット移動方法及びロボット移動プログラム
1日前
株式会社Eサーモジェンテック
熱電発電システムの製造方法
21日前
川崎重工業株式会社
手術支援システム、手術支援システムの制御方法およびプログラム
14日前
個人
留め具
1か月前
個人
鍋虫ねじ
3か月前
個人
ホース保持具
7か月前
個人
紛体用仕切弁
3か月前
個人
回転伝達機構
3か月前
個人
差動歯車用歯形
5か月前
個人
給排気装置
1か月前
個人
ジョイント
2か月前
株式会社不二工機
電磁弁
6か月前
株式会社不二工機
電磁弁
4か月前
個人
地震の揺れ回避装置
4か月前
個人
ナット
2か月前
個人
ナット
23日前
個人
ゲート弁バルブ
8日前
個人
吐出量監視装置
2か月前
柿沼金属精機株式会社
分岐管
3か月前
カヤバ株式会社
ダンパ
5か月前
カヤバ株式会社
ダンパ
5か月前
カヤバ株式会社
緩衝器
1か月前
兼工業株式会社
バルブ
24日前
カヤバ株式会社
緩衝器
4か月前
カヤバ株式会社
緩衝器
4か月前
株式会社不二工機
電動弁
1か月前
株式会社不二工機
電磁弁
3か月前
アズビル株式会社
回転弁
2か月前
株式会社三五
ドライブシャフト
1か月前
続きを見る
他の特許を見る