TOP
|
特許
|
意匠
|
商標
特許ウォッチ
Twitter
他の特許を見る
10個以上の画像は省略されています。
公開番号
2025151957
公報種別
公開特許公報(A)
公開日
2025-10-09
出願番号
2024053602
出願日
2024-03-28
発明の名称
逆流防止弁
出願人
株式会社キッツ
,
川崎重工業株式会社
代理人
弁理士法人 HARAKENZO WORLD PATENT & TRADEMARK
主分類
F16K
15/06 20060101AFI20251002BHJP(機械要素または単位;機械または装置の効果的機能を生じ維持するための一般的手段)
要約
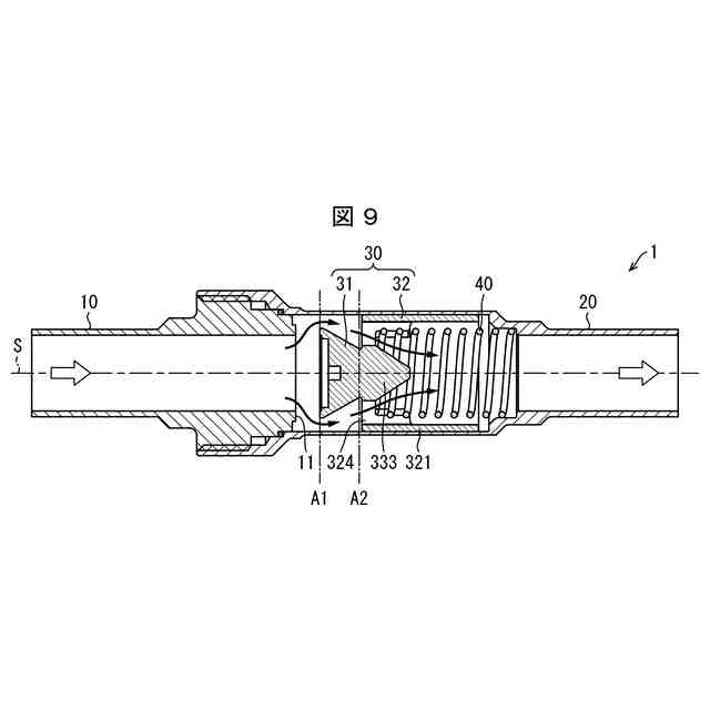
【課題】高いCv値を有するとともに流体の乱流発生を抑えた逆流防止弁を実現する。
【解決手段】逆流防止弁(1)の弁体(30)が上流側の弁座(11)に向けて付勢されている。弁体(30)は、下流側に向けて小さくなる頭部(31)、開口部(324)を含む胴部(32)及び下流側に向けて小さくなる整流部(333)を有する。
【選択図】図4
特許請求の範囲
【請求項1】
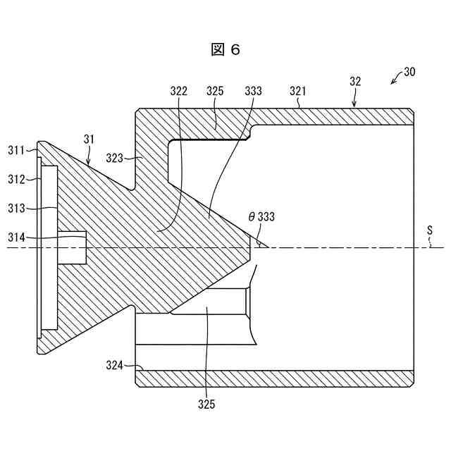
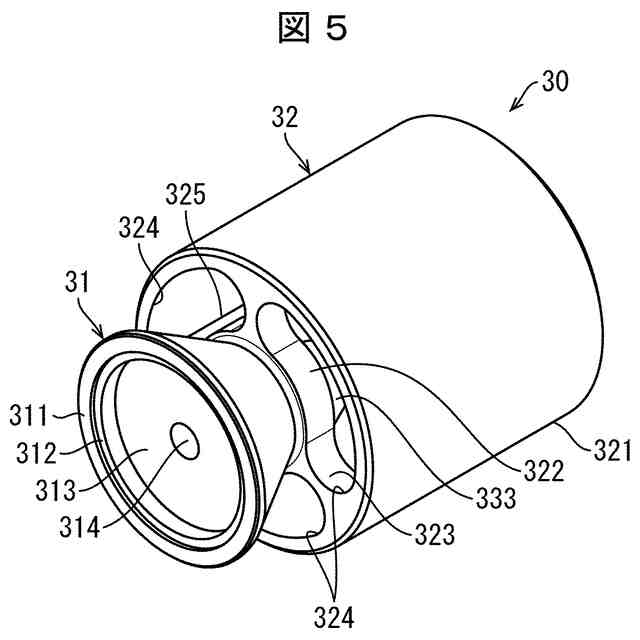
流体が流通する第一管部と、前記第一管部の下流端の開口縁部に位置する弁座と、前記第一管部よりも大きい内径を有するとともに前記第一管部の下流側に接続されている第二管部と、前記第二管部に収容されて前記第二管部内を前記第二管部の軸方向に移動自在な弁体と、前記第二管部に収容されて前記弁体を前記第一管部に向けて付勢して前記弁座に着座させる付勢部材と、を有する逆流防止弁であって、
前記弁体は、前記弁座に着座する頭部と、前記頭部の下流側に位置している開口部を含むとともに前記軸方向に沿って前記第二管部の上流側と下流側とを連通する連通部と、前記連通部における前記頭部の下流側の位置に配置されている整流部と、を有し、
前記頭部および前記整流部は、いずれも前記軸方向に直交する断面の径が下流側に向けて小さくなる形状を有する、逆流防止弁。
続きを表示(約 470 文字)
【請求項2】
前記軸方向に直交する断面における前記第二管部の流路面積と上流側から前記軸方向に沿って見たときの前記頭部の投影面積との差を第一流路面積とし、前記開口部の開口面積を第二流路面積としたときに、前記第一流路面積は、前記第二流路面積の0.9~1.1倍である、請求項1に記載の逆流防止弁。
【請求項3】
前記連通部は、前記第二管部に摺動可能な筒状の胴部であり、
前記開口部は、前記胴部の上流端に位置し、
前記整流部は、前記胴部内における上流端部に位置する、請求項1に記載の逆流防止弁。
【請求項4】
前記整流部は、上流側から下流側に向けて前記径が漸次減少するテーパ状の外形を有する、請求項1に記載の逆流防止弁。
【請求項5】
前記開口部は、径方向において、前記弁体を上流側から軸方向に沿って見たときの前記頭部よりも外周側の位置から、前記弁体を下流側から軸方向に沿って見たときの前記頭部の径が小さくなる部分の周面と重なる位置まで開口している、請求項1に記載の逆流防止弁。
発明の詳細な説明
【技術分野】
【0001】
本発明は、逆流防止弁に関する。
続きを表示(約 1,400 文字)
【背景技術】
【0002】
圧縮バネなどの付勢部材で弁体を弁座に向けて付勢して、流体の流通停止時にはそのばねの力で弁体を弁座に押付けて逆流を防止する逆止弁が知られている。この種の逆止弁においては、バネで弁体を弁座に向けて付勢しており、弁を開くにはこのバネを圧縮して弁体を移動させる必要がある。ところで、流体が管内を流れる際には管壁による管摩擦、あるいは流れの中に置かれた物などにより発生する乱流などにより圧力損失が生じる。
【0003】
この圧力損失を低減するべく、様々な試みがされている。例えば、特許文献1では、弁体を保持するためにケーシング内に固定配置された弁体支持部材の二次側に、スペーサが設けられている。このスペーサにより、支持部材とスペーサの周囲を流れる流れは極めて滑らかで、剥離が生じたりすることが防止され、圧力損失が低減されることが示されている。
【0004】
また、例えば特許文献2では、弁体部が円錐状である制御バルブが示されている。これは、弁体そのものが円錐状であり、この円錐状の部分でシート部と接触してシールを行うことが示されている。
【0005】
また、例えば特許文献3では、弁ケーシングの内部に固定された弁座の二次側が円錐状となっており、流体流通時にボール弁体と弁座が一体となって流線形をなす水中チェック弁が示されている。
【先行技術文献】
【特許文献】
【0006】
特開2009-250349号公報
特開2015-021609号公報
実開昭61-202763号公報
【発明の概要】
【発明が解決しようとする課題】
【0007】
近年、自動車用燃料電池の水素ステーションなど、気体又は液体水素を利用する技術が検討され、普及されつつあり、これらの水素を利用する機器にも逆流防止弁が用いられる。特に、水素を高圧で逆流防止弁に流す態様においては、逆流防止弁の二次側で発生する乱流は、逆流防止弁を始め、逆流防止弁の下流に配置される各種機器に対して大きな影響を与える可能性があり得る。
【0008】
本発明の一態様は、流体の乱流発生を抑えた逆流防止弁を実現することを目的とする。
【課題を解決するための手段】
【0009】
上記の課題を解決するために、本発明の一態様に係る逆流防止弁は、流体が流通する第一管部と、前記第一管部の下流端の開口縁部に位置する弁座と、前記第一管部よりも大きい内径を有するとともに前記第一管部の下流側に接続されている第二管部と、前記第二管部に収容されて前記第二管部内を前記第二管部の軸方向に移動自在な弁体と、前記第二管部に収容されて前記弁体を前記第一管部に向けて付勢して前記弁座に着座させる付勢部材と、を有する逆流防止弁であって、前記弁体は、前記1弁座に着座する頭部と、前記頭部の下流側に位置している開口部を含むとともに前記軸方向に沿って前記第二管部の上流側と下流側とを連通する連通部と、前記連通部における前記頭部の下流側の位置に配置されている整流部と、を有し、前記頭部および前記整流部は、いずれも前記軸方向に直交する断面の径が下流側に向けて小さくなる形状を有する。
【発明の効果】
【0010】
本発明の一態様によれば、流体の乱流発生を抑えた逆流防止弁を実現できる。
【図面の簡単な説明】
(【0011】以降は省略されています)
この特許をJ-PlatPat(特許庁公式サイト)で参照する
関連特許
株式会社キッツ
逆流防止弁
25日前
株式会社キッツエスシーティー
ダイヤフラムバルブ
5日前
株式会社キッツ
回転弁のグランド回転規制プレート構造とボールバルブ
1か月前
国立大学法人京都工芸繊維大学
二酸化炭素分離膜、二酸化炭素分離膜の製造方法、二酸化炭素分離方法及び二酸化炭素分離膜モジュール
1か月前
個人
留め具
20日前
個人
鍋虫ねじ
2か月前
個人
紛体用仕切弁
2か月前
個人
回転伝達機構
2か月前
個人
給排気装置
27日前
個人
ジョイント
1か月前
個人
地震の揺れ回避装置
3か月前
個人
ナット
1か月前
個人
吐出量監視装置
2か月前
カヤバ株式会社
緩衝器
26日前
柿沼金属精機株式会社
分岐管
2か月前
株式会社奥村組
制振機構
1か月前
株式会社奥村組
制振機構
1か月前
アズビル株式会社
回転弁
1か月前
株式会社三五
ドライブシャフト
12日前
株式会社不二工機
電動弁
27日前
株式会社不二工機
電磁弁
2か月前
株式会社ニフコ
クリップ
1か月前
株式会社タカギ
水栓装置
2か月前
株式会社ノーリツ
分配弁
1か月前
個人
誘導電流活用式差動制限装置
1か月前
株式会社ノナガセ
免震装置
13日前
個人
ワンウェイベアリング
3か月前
アイホン株式会社
電気機器
1か月前
株式会社不二越
転がり軸受
2か月前
株式会社ケアコム
取付器具
3か月前
アマテイ株式会社
釘
5日前
株式会社オンダ製作所
識別リング
3か月前
Astemo株式会社
緩衝器
4日前
株式会社TOP-UP
固定具
3か月前
個人
交互ピッチ湾曲保持ばね構造体
2か月前
Astemo株式会社
電磁弁
27日前
続きを見る
他の特許を見る