TOP
|
特許
|
意匠
|
商標
特許ウォッチ
Twitter
他の特許を見る
10個以上の画像は省略されています。
公開番号
2025152923
公報種別
公開特許公報(A)
公開日
2025-10-10
出願番号
2024055107
出願日
2024-03-28
発明の名称
手術ロボットシステムおよびその制御方法
出願人
川崎重工業株式会社
代理人
個人
,
個人
,
個人
,
個人
主分類
A61B
34/35 20160101AFI20251002BHJP(医学または獣医学;衛生学)
要約
【課題】所要の手術を、手術の継続性を十分に担保して支障なく行える手術ロボットシステムを提供する。
【解決手段】本システムは、各々に手術器具40が装着される複数のロボットアーム3であって、複数のロボットアーム3のそれぞれは複数の駆動軸を有し、複数の駆動軸の数が、手術器具40の位置および姿勢を制御するために必要な最小の自由度よりも大きい、複数のロボットアーム3と、手術器具40の位置および姿勢を制御するための操作者Sの操作入力を受け付ける操作装置2と、操作入力に基づいて複数のロボットアーム3を制御する制御装置28と、を備える。制御装置28は、複数の駆動軸のうちの少なくとも1つを冗長な駆動軸として規定し、冗長な駆動軸を、操作入力および冗長な駆動軸に関する拘束条件に基づいて制御し、操作者Sが操作装置2を操作して手術器具40を用いて所要の手術を行うときにロボットアーム3に要求される所要の動作に関連して拘束条件を決定する。
【選択図】図1
特許請求の範囲
【請求項1】
各々に手術器具が装着される複数のロボットアームであって、前記複数のロボットアームのそれぞれは複数の駆動軸を有し、前記複数の駆動軸の数が、前記手術器具の位置および姿勢を制御するために必要な最小の自由度よりも大きい、複数のロボットアームと、
前記手術器具の位置および姿勢を制御するための操作者の操作入力を受け付ける操作装置と、
前記操作入力に基づいて前記複数のロボットアームを制御する制御装置と、を備え、
前記制御装置は、
前記複数の駆動軸のうちの少なくとも1つを冗長な駆動軸として規定し、前記冗長な駆動軸を、前記操作入力および前記冗長な駆動軸に関する拘束条件に基づいて制御し、
前記操作者が前記操作装置を操作して前記手術器具を用いて所要の手術を行うときに前記ロボットアームに要求される所要の動作に関連して前記拘束条件を決定する、手術ロボットシステム。
続きを表示(約 1,200 文字)
【請求項2】
前記制御装置は、前記ロボットアームの仮想モデルに前記所要の動作を行わせることによって実行されたシミュレーションの結果に基づいて前記拘束条件を決定する、請求項1記載の手術ロボットシステム。
【請求項3】
前記制御装置は、前記シミュレーションの結果に基づいて予め作成された複数の拘束条件セットの中から、前記所要の手術の内容に応じて適切な拘束条件セットを選択し、前記複数の拘束条件セットは、手術の内容に関する設定条件を変えながら実行した前記シミュレーションの結果に基づいて作成される、請求項2記載の手術ロボットシステム。
【請求項4】
前記制御装置は、前記シミュレーションによって得られた結果を訓練データとして利用して学習させた機械学習モデルを用いて前記拘束条件を決定する、請求項2記載の手術ロボットシステム。
【請求項5】
前記制御装置は、前記所要の手術の最中に変化する状況に応じて前記拘束条件を変更する、請求項4記載の手術ロボットシステム。
【請求項6】
前記所要の動作は、前記手術器具が挿入される患者の体内に設定された施術領域内における前記手術器具の動作可能範囲を最大化する前記ロボットアームの動作を含む、請求項1または2に記載の手術ロボットシステム。
【請求項7】
前記施術領域は、前記所要の手術における手術部位に関する術野を含み、
前記術野は、前記手術部位を撮像する撮像装置の位置および姿勢の少なくとも一方に基づいて規定される、請求項6記載の手術ロボットシステム。
【請求項8】
前記所要の動作は、前記ロボットアーム同士の干渉を回避する動作を含む、請求項1または2に記載の手術ロボットシステム。
【請求項9】
前記手術器具は、長手軸線を有し、
前記冗長な駆動軸は、前記手術器具の少なくとも一部を前記長手軸線周りに回転させる、請求項1または2に記載の手術ロボットシステム。
【請求項10】
前記ロボットアームは、基端部と、前記基端部に配置されたねじり関節と、前記先端部と前記基端部との間に配置された曲げ関節と、を有し、
前記制御装置は、前記冗長な駆動軸に関する前記拘束条件について、
前記ロボットアームを制御して、前記曲げ関節の回転軸線を、前記長手軸線を含む参照平面と交差させ、且つ前記参照平面に対する前記曲げ関節の回転軸線の向きを固定し、
所定の中心点を設定し、前記ねじり関節の回転軸線の延長線または前記延長線の直交方向にオフセットして配置される線である参照線上に参照点を設定し、前記ロボットアームを制御して、前記長手軸線を前記中心点に位置付け且つ前記参照平面を前記参照点に位置付け、
前記延長線の直交方向における前記参照点のオフセット量を変更して前記冗長な駆動軸の動作方向および動作量を制御する、請求項9記載の手術ロボットシステム。
(【請求項11】以降は省略されています)
発明の詳細な説明
【技術分野】
【0001】
この開示は、手術ロボットシステムおよびその制御方法に関する。
続きを表示(約 2,300 文字)
【背景技術】
【0002】
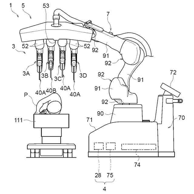
従来、手術器具を外科医が直接手に取って操作する手術方式に代えて、ロボットを利用して手術器具を操作して外科手術を行うための手術ロボットシステムが開示されている。手術ロボットシステムは、例えば、外科手術を受ける患者への負担を軽減することができる低侵襲外科手術(minimally invasive surgery)において使用される。
【0003】
手術ロボットシステムは、一般に、患者の傍に配置された手術ロボットと、外科医がリモートで手術ロボットを操作するための操作装置とを備えている。外科医が操作する操作装置は、例えば、患者が載置された手術ベッドが配置されている手術室の内部に配置される。手術ロボットは、ロボットアームを有し、ロボットアームには、手術器具が着脱可能に装着される。ロボットアームに装着される手術器具は、例えば、患者に設けられたポート部材に挿通可能な構成を備えている。ポート部材は、例えばトロカーまたはカニューレである。手術器具の種類は、鉗子、電気メス、ステープラー、内視鏡等であり、それらの中から手術の術式等に応じて適宜選択される。手術ロボットが複数のロボットアームを備えている場合には、ロボットアーム毎に異なる種類の手術器具を装着する場合もあるし、同じ種類の手術器具を2本またはより多くのロボットアームに装着する場合もある。例えば、1本のロボットアームに内視鏡を装着し、他の2本またはより多くのロボットアームに鉗子を装着する。
【0004】
外科医(操作者)は、操作装置を操作して手術ロボットを操作することによって、ロボットアームに装着された手術器具の位置および姿勢を制御することができる。鉗子のように手術器具自身が関節等の可動部を有している場合には、手術器具の可動部の操作も操作装置によって行うことができる。これにより、手術器具の位置および姿勢(可動部を有する場合は可動部についても)を、外科医は、操作装置によって制御することができる。例えば、手術器具が、シャフト部の先端に一対のジョーを設けた構成を備える場合、外科医は、操作装置を操作することによって、手術器具全体の位置および姿勢を制御すると共に、一対のジョーの開閉操作、あるいはピッチ軸および/またはヨー軸回りの回転操作を制御することができる。また、シャフト部自身がその長手軸線周りに回転可能に構成されている場合には、外科医は、操作装置を操作することによって、手術器具のシャフト部の回転操作(ロール軸回りの操作)を行うことができる。
【0005】
従来の手術ロボットシステムにおける手術ロボットは、一般に、そのロボットアームが複数の駆動軸(関節)を備えている。手術ロボットのロボットアームの複数の駆動軸(関節)は、一般に、回転関節を含んでおり、また直動関節を設ける場合もある。ロボットアームが備える駆動軸(関節)の数、すなわちロボットアームの自由度は、少なくとも、手術器具の位置および姿勢を制御するために必要な自由度と同じ自由度が必要となる。
【0006】
従来の手術ロボットシステムの中には、手術器具の位置および姿勢を制御するために必要な自由度よりも大きな自由度を持つロボットアームを有する手術ロボットを備えたものがある(例えば、特許文献1参照)。
【先行技術文献】
【特許文献】
【0007】
国際公開第2021/112193号
【発明の概要】
【発明が解決しようとする課題】
【0008】
特許文献1には、外科手術システムおよび外科手術マニピュレータアームの制御方法が記載されており、マニピュレータアームを動作させる際の、隣のマニピュレータアーム等の外科手術システムの他の機器や周囲の環境等との干渉の問題を解決するための発明が記載されている。しかしながら、特許文献1に記載の発明は、さらに改善する余地がある。
【0009】
この開示は、上記のような課題を解決するためになされたものであり、この開示の1つの目的は、ロボットアームに装着した手術器具によって、所要の手術を、手術の継続性を十分に担保して支障なく行うことができる手術ロボットシステムおよびその制御方法を提供することである。
【課題を解決するための手段】
【0010】
(態様1)
この開示の態様1は、
各々に手術器具が装着される複数のロボットアームであって、前記複数のロボットアームのそれぞれは複数の駆動軸を有し、前記複数の駆動軸の数が、前記手術器具の位置および姿勢を制御するために必要な最小の自由度よりも大きい、複数のロボットアームと、
前記手術器具の位置および姿勢を制御するための操作者の操作入力を受け付ける操作装置と、
前記操作入力に基づいて前記複数のロボットアームを制御する制御装置と、を備え、
前記制御装置は、
前記複数の駆動軸のうちの少なくとも1つを冗長な駆動軸として規定し、前記冗長な駆動軸を、前記操作入力および前記冗長な駆動軸に関する拘束条件に基づいて制御し、
前記操作者が前記操作装置を操作して前記手術器具を用いて所要の手術を行うときに前記ロボットアームに要求される所要の動作に関連して前記拘束条件を決定する、手術ロボットシステムである。
(【0011】以降は省略されています)
この特許をJ-PlatPat(特許庁公式サイト)で参照する
関連特許
川崎重工業株式会社
水中構造体
1か月前
川崎重工業株式会社
遠心式ターボ機械
1か月前
川崎重工業株式会社
液化空気保護装置
2日前
川崎重工業株式会社
バーナおよび燃焼器
1か月前
川崎重工業株式会社
多段遠心ターボ機械
1か月前
川崎重工業株式会社
廃棄物処理システム
1か月前
川崎重工業株式会社
ダイクッション装置
1か月前
川崎重工業株式会社
ガスタービンエンジン
1か月前
川崎重工業株式会社
多段ラジアルタービン
23日前
川崎重工業株式会社
航空機の電気機械システム
1か月前
川崎重工業株式会社
クローズドインペラの製造方法
1か月前
川崎重工業株式会社
付加製造方法及び付加製造装置
1か月前
川崎重工業株式会社
付加製造方法及び付加製造装置
1か月前
川崎重工業株式会社
情報処理装置および情報提供方法
4日前
川崎重工業株式会社
熱交換器の製造方法及び熱交換器
1か月前
横浜ゴム株式会社
多層空洞音響材
23日前
川崎重工業株式会社
多段遠心圧縮機および圧縮機システム
1か月前
川崎重工業株式会社
廃棄物処理システムおよび廃棄物用振動装置
1か月前
川崎重工業株式会社
情報処理装置および情報処理装置の制御方法
2日前
川崎重工業株式会社
基板搬送ロボットおよび基板搬送ロボットの制御方法
1か月前
川崎重工業株式会社
二酸化炭素排出システム及び方法、並びに水中航走体
26日前
川崎重工業株式会社
多段遠心圧縮機のケーシング、及び、多段遠心圧縮機
10日前
川崎重工業株式会社
レーダ反射断面積切換装置及びレーダ反射断面積切換方法
1か月前
川崎重工業株式会社
ロボット
25日前
川崎重工業株式会社
モータ制御システム、ロボットシステム、および、モータ制御方法
4日前
川崎重工業株式会社
ロボット移動システム、ロボット移動方法及びロボット移動プログラム
3日前
川崎重工業株式会社
学習済モデルの構築方法
1か月前
川崎重工業株式会社
水素航空機の燃料供給システム
1か月前
横浜ゴム株式会社
水中音響材の被取り付け面への取り付け構造および水中音響材
23日前
川崎重工業株式会社
摩擦攪拌ツールの制御方法及び摩擦攪拌装置
1か月前
川崎重工業株式会社
状態監視装置、状態監視方法及び状態監視プログラム
1か月前
株式会社Eサーモジェンテック
熱電発電システムの製造方法
23日前
川崎重工業株式会社
手術支援システム、手術支援システムの制御方法およびプログラム
16日前
横浜ゴム株式会社
水中音響材の被取り付け面への取り付け構造および水中構造体の被取り付け面を水中音響材で覆う構造ならびに水中音響材
23日前
個人
貼付剤
1か月前
個人
簡易担架
16日前
続きを見る
他の特許を見る