TOP
|
特許
|
意匠
|
商標
特許ウォッチ
Twitter
他の特許を見る
公開番号
2025150765
公報種別
公開特許公報(A)
公開日
2025-10-09
出願番号
2024051826
出願日
2024-03-27
発明の名称
ロボットの診断システム
出願人
川崎重工業株式会社
代理人
弁理士法人前田特許事務所
主分類
B25J
19/06 20060101AFI20251002BHJP(手工具;可搬型動力工具;手工具用の柄;作業場設備;マニプレータ)
要約
【課題】複数の支持ロボットがワークの支持を行う場合に、複数の支持ロボットの寿命を個別に診断する。
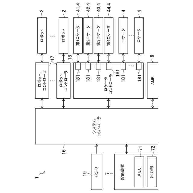
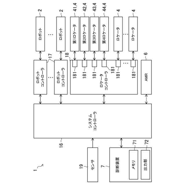
【解決手段】ロボットの診断システムは、第1支持機構40を有し、かつワーク(ボデー11)における第1部位に係合する第1支持機構によって、ワークを支持する第1支持ロボット(ロケータ4)と、第2支持機構を有し、かつワークにおける第1部位とは異なる第2部位に係合する第2支持機構によって、第1支持ロボットと共にワークを支持する第2支持ロボット(ロケータ4)と、第1支持ロボット及び第2支持ロボットがワークを支持する際の第1支持機構の動作パラメータ及び第2支持機構の動作パラメータに基づいて、第1支持機構の寿命及び第2支持機構の寿命を個別に診断する診断装置7と、を備える。
【選択図】図3
特許請求の範囲
【請求項1】
少なくとも一のモータを含む第1支持機構を有し、かつワークにおける第1部位に係合する前記第1支持機構によって、前記ワークを支持する第1支持ロボットと、
少なくとも一のモータを含む第2支持機構を有し、かつ前記ワークにおける前記第1部位とは異なる第2部位に係合する前記第2支持機構によって、前記第1支持ロボットと共に前記ワークを支持する第2支持ロボットと、
前記第1支持ロボット及び前記第2支持ロボットが前記ワークを支持する際の前記第1支持機構の動作パラメータ及び前記第2支持機構の動作パラメータに基づいて、前記第1支持機構の寿命及び前記第2支持機構の寿命を個別に診断する診断装置と、
を備える、ロボットの診断システム。
続きを表示(約 1,000 文字)
【請求項2】
請求項1に記載のロボットの診断システムにおいて、
前記診断装置は、前記第1支持ロボット及び前記第2支持ロボットが前記ワークを支持する度に、前記第1支持機構の動作パラメータ及び前記第2支持機構の動作パラメータを記憶するメモリを有し、
前記診断装置は、前記メモリの情報に基づいて、前記第1支持機構の寿命及び前記第2支持機構の寿命を個別に診断する、
ロボットの診断システム。
【請求項3】
請求項2に記載のロボットの診断システムにおいて、
前記第1支持ロボット及び前記第2支持ロボットに接続され、かつ前記第1支持機構及び前記第2支持機構へ電流を供給するコントローラをさらに備え、
前記第1支持ロボットは、第1識別情報を前記コントローラへ出力し、前記第2支持ロボットは、第2識別情報を前記コントローラへ出力する、
ロボットの診断システム。
【請求項4】
請求項1に記載のロボットの診断システムにおいて、
前記動作パラメータは、前記第1支持機構及び前記第2支持機構それぞれの前記モータへ供給される電流値に関するパラメータである、
ロボットの診断システム。
【請求項5】
請求項1に記載のロボットの診断システムにおいて、
前記動作パラメータは、前記第1支持機構及び前記第2支持機構それぞれの前記モータの回転数に関するパラメータである、
ロボットの診断システム。
【請求項6】
請求項4又は5に記載のロボットの診断システムにおいて、
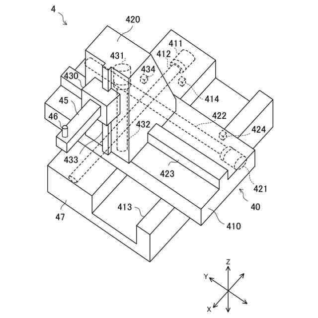
前記第1支持ロボット及び前記第2支持ロボットは、3軸直交ロボットであり、
前記第1支持機構及び前記第2支持機構はそれぞれ、前記ワークを下側から支持する係合部を、水平面内において互いに直交するX軸及びY軸、並びに、鉛直なZ軸それぞれの方向へ変位させ、
前記第1支持機構及び前記第2支持機構はそれぞれ、前記X軸に対応する第1モータ、前記Y軸に対応する第2モータ、及び前記Z軸に対応する第3モータを含む、
ロボットの診断システム。
【請求項7】
請求項1に記載のロボットの診断システムにおいて、
前記第1支持ロボット及び前記第2支持ロボットは、搬送機構によって作業エリアに搬送されかつ前記搬送機構から引き渡された前記ワークを、前記作業エリアにおいて、作業ロボットが前記ワークに対する作業を行っている最中に支持する、
ロボットの診断システム。
発明の詳細な説明
【技術分野】
【0001】
ここに開示する技術は、ロボットの診断システムに関する。
続きを表示(約 1,800 文字)
【背景技術】
【0002】
特許文献1には、従来のロボットシステムが記載されている。従来のロボットシステムは、自動車の車体の組み立てラインに採用されている。従来のロボットシステムには、モニタリング装置が採用されている。
【0003】
モニタリング装置は、組み立てラインにおいて動作及び休止区間が繰り返し駆動される複数のモータを監視する。モニタリング装置は、初期データ格納部と、観測データ格納部と、モニタリング情報提供部とを含む。初期データ格納部は、モータ別に、モータの正常状態で測定した時間による電流値を基に、動作区間の時間長さ、動作区間のピーク電流、動作区間に含まれている定速区間の平均電流、動作区間を分割したサブ区間別電流の積分面積に関する情報をモータの初期データとして格納する。観測データ格納部は、モータの動作時に観測される動作区間ごとに、動作区間の時間長さ、ピーク電流、定速区間の平均電流、サブ区間別の積分面積に関する情報を監視因子別観測データとして格納する。モニタリング情報提供部は、観測データの各情報を、初期データの各情報に対応して既に設定された臨界レベルと個別に比較して、監視因子別にモータの状態モニタリング情報を提供する。従来のモニタリング装置は、ロボットシステムのモータの故障を検知できる。
【先行技術文献】
【特許文献】
【0004】
特表2018-520947号公報
【発明の概要】
【発明が解決しようとする課題】
【0005】
ロボットが長期間動作することにより、モータを含む基幹部品は劣化する。基幹部品の劣化は、ロボットの動作精度を低下させる。また、基幹部品の劣化は、ロボットの故障を招く場合もある。ロボットに対して、適切なタイミングでのメンテナンスが必要である。ロボットの動作時のデータを収集することは、基幹部品の劣化の予測を可能にする。基幹部品の劣化が予測できれば、保守員は、ロボットを適切なタイミングでメンテナンスできる。
【0006】
ところで、ロボットがワークに対して作業を行う作業エリアにおいて、複数の支持ロボットが協働することにより、ワークの支持と位置決めとを行う場合がある。例えば、複数の支持ロボットがワークの互いに異なる部位に係合すると共に、複数の支持ロボットが同期することにより、ワークを持ち上げて支持する。
【0007】
ワークを支持する複数の支持ロボットに、負荷が均等にかかるとは限らない。例えば、複数の支持ロボットがワークを持ち上げるタイミングがずれると、先にワークを持ち上げた支持ロボットにかかる負荷が相対的に大きくなってしまう。また、複数の支持ロボットに支持されているワークの重心位置が、複数の支持ロボット間の中央からずれていると、特定の支持ロボットにかかる負荷が相対的に大きくなってしまう。
【0008】
複数の支持ロボットは、実質的に同じ動作を行っていても、劣化の進行には、ばらつきが生じる場合がある。複数の支持ロボットの寿命を個別に診断することが求められる。
【課題を解決するための手段】
【0009】
ここに開示する技術は、ロボットの診断システムに係る。ロボットの診断システムは、
少なくとも一のモータを含む第1支持機構を有し、かつワークにおける第1部位に係合する前記第1支持機構によって、前記ワークを支持する第1支持ロボットと、
少なくとも一のモータを含む第2支持機構を有し、かつ前記ワークにおける前記第1部位とは異なる第2部位に係合する前記第2支持機構によって、前記第1支持ロボットと共に前記ワークを支持する第2支持ロボットと、
前記第1支持ロボット及び前記第2支持ロボットが前記ワークを支持する際の前記第1支持機構の動作パラメータ及び前記第2支持機構の動作パラメータに基づいて、前記第1支持機構の寿命及び前記第2支持機構の寿命を個別に診断する診断装置と、
を備える。
【発明の効果】
【0010】
ロボットの診断システムは、協働してワークを支持する複数の支持ロボットの寿命を、個別に診断できる。
【図面の簡単な説明】
(【0011】以降は省略されています)
この特許をJ-PlatPat(特許庁公式サイト)で参照する
関連特許
個人
手持ち挟持具
21日前
トヨタ自動車株式会社
学習装置
6日前
株式会社マキタ
ハンマドリル
1か月前
株式会社マキタ
ハンマドリル
1か月前
株式会社安川電機
ロボット
27日前
株式会社不二越
垂直多関節ロボット
6日前
株式会社三共コーポレーション
工具保持具
21日前
トヨタ自動車株式会社
ロボットハンド
27日前
株式会社マキタ
現場用作業機
1か月前
株式会社マキタ
電動工具
6日前
学校法人立命館
ロボットハンド制御システム
1か月前
株式会社マキタ
作業機
1か月前
ニデックインスツルメンツ株式会社
産業用ロボット
19日前
ファナック株式会社
経路データセット生成
29日前
株式会社人機一体
有脚ロボット
29日前
株式会社ケイズベルテック
物品定量取り分け装置
1か月前
株式会社田村製作所
エンドエフェクタ及びロボット装置
19日前
積水ハウス株式会社
固定ピン保持用アタッチメント
27日前
日本発條株式会社
ケーブルユニット及びその製造方法
19日前
株式会社デンソー
ワーク投入装置
19日前
泰芳機械股分有限公司
コレット収納装置
1か月前
株式会社秦製作所
ジャック差込口ナット締め用の供回り防止レンチ
7日前
SMC株式会社
チャック装置およびチャックシステム
27日前
パナソニック株式会社
インパクト回転工具
6日前
トヨタ自動車株式会社
ロボットの保護カバーの挟み込み防止構造
22日前
工機ホールディングス株式会社
作業機
27日前
株式会社リガー
工具ホルダー
1か月前
マクセルイズミ株式会社
電動工具
20日前
株式会社三五
配管用マーキング装置
19日前
三ツ星ベルト株式会社
筒状体取付方法および筒状体取付装置
今日
パナソニック株式会社
電動工具及び電動工具システム
21日前
日鉄テックスエンジ株式会社
切断用ツール把持装置
28日前
株式会社CoLab
制御装置、制御方法、及びプログラム
19日前
株式会社CoLab
制御装置、制御方法、及びプログラム
19日前
株式会社CoLab
制御装置、制御方法、及びプログラム
19日前
THK株式会社
ロボット
29日前
続きを見る
他の特許を見る