TOP
|
特許
|
意匠
|
商標
特許ウォッチ
Twitter
他の特許を見る
10個以上の画像は省略されています。
公開番号
2025167461
公報種別
公開特許公報(A)
公開日
2025-11-07
出願番号
2024072089
出願日
2024-04-26
発明の名称
配管用マーキング装置
出願人
株式会社三五
代理人
弁理士法人プロスペック特許事務所
主分類
B25H
7/04 20060101AFI20251030BHJP(手工具;可搬型動力工具;手工具用の柄;作業場設備;マニプレータ)
要約
【課題】被接続管の管端からの距離が確実に担保された位置にマーキングすることができる配管用マーキング装置を提供する。
【解決手段】配管用マーキング装置の筐体を有底筒状の外側ケースと有底筒状の内側ケースとからなる二重構造とし、マーキング手段が被接続管に近付く軌道と開口端とが干渉するように配置された内側ケースに被接続管を適正に挿入し底部側に向かって押圧して内側ケースの底部を外側ケースの底部に当接させると内側ケースが上記軌道から退避するように配管用マーキング装置を構成する。
【選択図】図1
特許請求の範囲
【請求項1】
被接続管の外周面において前記被接続管の端面から所定の距離である第1距離だけ離れた位置である第1位置に所定のマークを付与する配管用マーキング装置であって、
前記被接続管が摺動自在に嵌挿される有底筒状の内側ケースと、
前記内側ケースが摺動自在に嵌挿される有底筒状の外側ケースと、
前記外側ケースの径方向における外側において前記外側ケースの軸方向と平行な平面内において回動自在であるように、前記外側ケースの軸方向において開口端から所定の距離である第2距離だけ底部側に離れた位置である第2位置において軸支されたアームと、
を備え、
前記アームの前記第2位置から前記第2距離よりも大きい所定の距離である第3距離だけ離れた位置である第3位置に前記マークを付与する手段であるマーキング手段が取り付けられており、
前記内側ケースの底部が前記外側ケースの底部に当接せずに離隔している位置にある状態である第1状態においては、前記アームの回動に伴う前記マーキング手段の回動軌道の一部と前記内側ケースの開口端とが干渉し、
前記内側ケースの底部が前記外側ケースの底部に当接している位置にある状態である第2状態においては、前記アームの回動に伴う前記マーキング手段の回動軌道と前記内側ケースの開口端とが干渉しない、
配管用マーキング装置。
続きを表示(約 500 文字)
【請求項2】
請求項1に記載された配管用マーキング装置であって、
前記内側ケースの底部と前記外側ケースの底部とを離隔させる方向に付勢する手段である第1付勢手段を更に備える、
配管用マーキング装置。
【請求項3】
請求項1又は請求項2に記載された配管用マーキング装置であって、
前記内側ケースの中心軸から前記マーキング手段を遠ざける方向に付勢する手段である第2付勢手段を更に備える、
配管用マーキング装置。
【請求項4】
請求項1又は請求項2に記載された配管用マーキング装置であって、
前記アームの回動範囲を制限することにより前記第2状態における前記被接続管の前記第1位置と前記マーキング手段の先端との位置関係を所定の位置関係に定める手段である回動制限手段を更に備える、
配管用マーキング装置。
【請求項5】
請求項1又は請求項2に記載された配管用マーキング装置であって、
前記第2状態が達成されたか否かを検出する手段である当接検出手段を更に備える、
配管用マーキング装置。
発明の詳細な説明
【技術分野】
【0001】
本発明は、配管用マーキング装置に関する。
続きを表示(約 1,700 文字)
【背景技術】
【0002】
配管の接続施工時においては、継手及び/又は機器等への被接続管の挿入代を適正に設定する必要があることから、適正な挿入代を示す印(例えば、ラインマーク等)を被接続管の外周面に付しておくことが慣用的に行われている。上記印が適正に付されていれば、施工時に継手等の端部と上記印とが所定の位置関係にある(例えば、両者が合致する等)ことを目視する等して、適正な挿入代にて被接続管が挿入されていることを作業者が確認した上で、カシメや螺合等の締結作業を施すことができる。
【0003】
例えば、特許文献1(実開昭52-139591号公報)には、被接続管の管端にスケールの一端に設けられたストッパ(突説部)を係止すると共にスケールの他端側の所定の位置に取り付けられたマーキングペンによって被接続管の外周面に挿入目安線(ラインマーク)を付与する工具が開示されている。また、特許文献2(特開平2-57788号公報)には、(従来技術として)管継手に接続される被接続管の端部を突き当てゲージに当接させた状態にて被接続管を回転させて2本のラインマークを描画する工具が開示されている。
【0004】
しかしながら、上記従来技術の何れにおいても、被接続管とスケールとの係止状態及び被接続管のゲージへの当接状態が適正でない状態においても、被接続管の外周面にラインマークを付与することが可能である。被接続管とスケールとの係止状態及び被接続管のゲージへの当接状態が適正でなければ、被接続管の外周面においてラインマークが付与される位置(管端からの距離)もまた適正ではなくなってしまうという問題がある。このように、当該技術分野においては、ラインマークを適正な位置に確実に付与することができる描画工具が求められている。
【先行技術文献】
【特許文献】
【0005】
実開昭52-139591号公報
特開平2-57788号公報
【発明の概要】
【発明が解決しようとする課題】
【0006】
前述したように、当該技術分野においては、ラインマークを適正な位置に確実に付与することができる描画工具が求められている。従って、本発明の1つの目的は、被接続管の管端からの距離が確実に担保された位置にマーキングすることができる配管用マーキング装置を提供することである。
【課題を解決するための手段】
【0007】
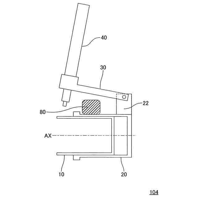
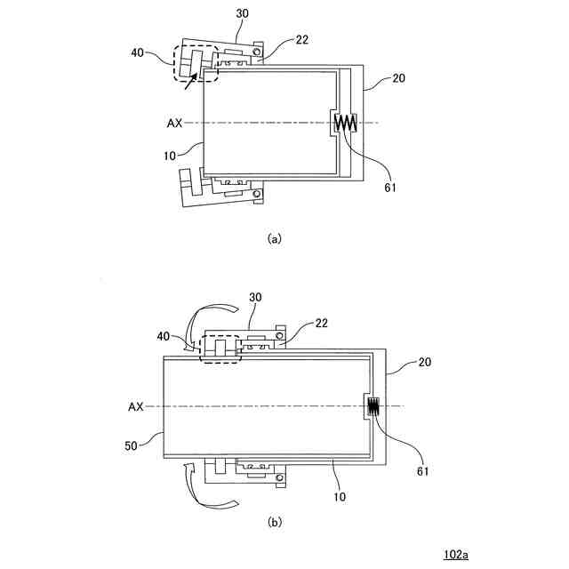
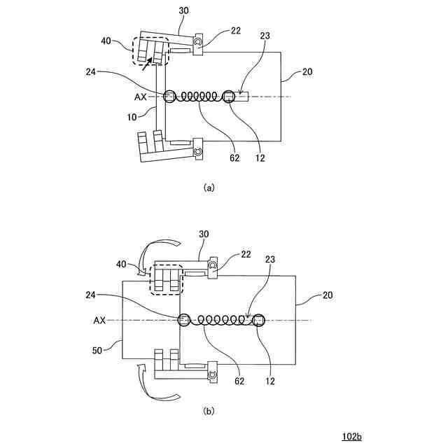
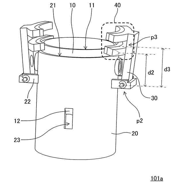
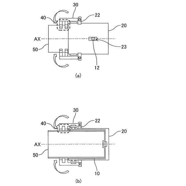
そこで、本発明者は鋭意研究の結果、配管用マーキング装置の筐体を有底筒状の内側ケースと有底筒状の外側ケースとからなる二重構造とし、マーキング手段が被接続管に近付く軌道と開口端とが干渉するように配置された内側ケースに被接続管を適正に挿入し底部側に向かって押圧して内側ケースの底部を外側ケースの底部に当接させると内側ケースが上記軌道から退避するように配管用マーキング装置を構成することにより、上記課題を解決することができることを見出した。
【0008】
具体的には、本発明に係る配管用マーキング装置(以降、「本発明装置」と称呼される場合がある。)は、被接続管の外周面において被接続管の端面から所定の距離である第1距離だけ離れた位置である第1位置に所定のマークを付与する配管用マーキング装置である。
【0009】
本発明装置は、内側ケースと、外側ケースと、アームとを備える。内側ケースは、被接続管が摺動自在に嵌挿される有底筒状のケースである。外側ケースは、内側ケースが摺動自在に嵌挿される有底筒状のケースである。アームは、外側ケースの径方向における外側において外側ケースの軸方向と平行な平面内において回動自在であるように、外側ケースの軸方向において開口端から所定の距離である第2距離だけ底部側に離れた位置である第2位置において軸支されている。
【0010】
更に、アームの第2位置から第2距離よりも大きい所定の距離である第3距離だけ離れた位置である第3位置にマークを付与する手段であるマーキング手段が取り付けられている。
(【0011】以降は省略されています)
この特許をJ-PlatPat(特許庁公式サイト)で参照する
関連特許
株式会社三五
消音器
3か月前
株式会社三五
排気装置
3か月前
株式会社三五
排気浄化装置
3日前
株式会社三五
排気浄化装置
18日前
株式会社三五
ドライブシャフト
1か月前
株式会社三五
筒状部材の形成方法
1か月前
株式会社三五
配管用マーキング装置
1か月前
株式会社三五
配管用マーキング装置
3か月前
株式会社三五
ハイブリッド車の排気システム
19日前
株式会社三五
テーパ部を有する円筒体の成形方法
1か月前
株式会社三五
フランジ部を有する中空部材の形成方法
1か月前
株式会社三五
スプラインの形成装置及びスプラインの形成方法
3か月前
株式会社三五
差厚パイプの押出成形装置及び差厚パイプの押出成形方法
1か月前
株式会社三五
排気系の容器体及びその製造方法
10日前
個人
フラワーホッチキス。
1か月前
個人
手持ち挟持具
1か月前
川崎重工業株式会社
ロボット
2か月前
株式会社不二越
ロボット
2か月前
株式会社竹中工務店
補助セット
2か月前
CKD株式会社
把持装置
3日前
トヨタ自動車株式会社
学習装置
18日前
川崎重工業株式会社
ハンド
1か月前
ダイセイ株式会社
ロボット自動刻印装置
3日前
株式会社マキタ
ハンマドリル
1か月前
株式会社マキタ
ハンマドリル
1か月前
トヨタ自動車株式会社
ロボット
2か月前
瓜生製作株式会社
電動締付工具
11日前
工機ホールディングス株式会社
作業機
1か月前
株式会社安川電機
ロボット
1か月前
川崎重工業株式会社
塗装システム
1か月前
株式会社不二越
垂直多関節ロボット
18日前
株式会社三共コーポレーション
工具保持具
1か月前
株式会社マキタ
集塵アタッチメント
10日前
トヨタ自動車株式会社
軌道生成装置
2か月前
アネックスツール株式会社
ドライバービット
2か月前
工機ホールディングス株式会社
作業機
1か月前
続きを見る
他の特許を見る