TOP
|
特許
|
意匠
|
商標
特許ウォッチ
Twitter
他の特許を見る
公開番号
2025171484
公報種別
公開特許公報(A)
公開日
2025-11-20
出願番号
2024076888
出願日
2024-05-10
発明の名称
排気浄化装置
出願人
株式会社三五
代理人
弁理士法人プロスペック特許事務所
主分類
F01N
3/20 20060101AFI20251113BHJP(機械または機関一般;機関設備一般;蒸気機関)
要約
【課題】排気中における尿素水溶液、尿素及びアンモニアの一様度を高めると共に、尿素の加水分解によるアンモニアの生成を促進することにより、排気の温度にかかわらず所望の排気浄化効率を達成する。
【解決手段】排気の流れにおける上流側に配設された第1ユニットと、第1ユニットの下流側に配設され且つ少なくとも選択還元触媒を含む第2ユニットと、第1ユニットから第2ユニットへと排気を導く流路を画定する部材である連結管と、連結管の内部に尿素水溶液を噴射する還元剤添加装置とを備える排気浄化装置において、連結管における第1ユニットと第2ユニットとの中間点よりも上流側にある所定の位置である第1位置に発熱手段を有するリアクタを配設し、連結管におけるリアクタよりも上流側にある所定の位置である第2位置からリアクタに向かって尿素水溶液を噴射するように還元剤添加装置を構成する。
【選択図】図5
特許請求の範囲
【請求項1】
排気の流れにおける上流側に配設された第1ユニットと、前記第1ユニットの下流側に配設され且つ少なくとも選択還元触媒を含む第2ユニットと、前記第1ユニットから前記第2ユニットへと前記排気を導く流路を画定する部材である連結管と、前記連結管の内部に尿素水溶液を噴射する還元剤添加装置と、を備える排気浄化装置であって、
前記連結管における前記第1ユニットと前記第2ユニットとの中間点よりも上流側にある所定の位置である第1位置に、発熱手段を有するリアクタが配設されており、
前記還元剤添加装置は、前記連結管における前記リアクタよりも上流側にある所定の位置である第2位置から前記リアクタに向かって前記尿素水溶液を噴射するように構成されている、
排気浄化装置。
続きを表示(約 670 文字)
【請求項2】
請求項1に記載された排気浄化装置であって、
前記リアクタの最も下流側の端部の位置である第3位置を通り且つ前記連結管の前記第2位置から前記第3位置までの区間である第1区間の軸に直交する平面への垂直投影図において、前記還元剤添加装置によって噴射される前記尿素水溶液の噴霧が前記第1区間において飛散する範囲である第1範囲が、前記リアクタの外輪郭の中に含まれる、
排気浄化装置。
【請求項3】
請求項1又は請求項2に記載された排気浄化装置であって、
前記連結管の前記第2位置よりも下流側における少なくとも1箇所において前記連結管の内部に流れる前記排気の向きが屈曲するように構成されている、
排気浄化装置。
【請求項4】
請求項1又は請求項2に記載された排気浄化装置であって、
前記連結管の前記第2位置から前記リアクタの最も下流側の端部の位置である第3位置までの区間である第1区間と、前記還元剤添加装置によって噴射される前記尿素水溶液の噴霧が前記第1区間において飛散する範囲である第1範囲と、前記リアクタと、が互いに同軸となるように配置されている、
排気浄化装置。
【請求項5】
請求項1又は請求項2に記載された排気浄化装置であって、
前記還元剤添加装置によって噴射される前記尿素水溶液の噴霧と接触する前記リアクタの表面の少なくとも一部が加水分解触媒機能を有する物質を含む材料によって被覆されている、
排気浄化装置。
発明の詳細な説明
【技術分野】
【0001】
本発明は、排気浄化装置に関する。
続きを表示(約 1,900 文字)
【背景技術】
【0002】
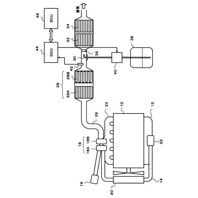
ディーゼルエンジンの排気に含まれる一酸化窒素(NO)及び二酸化窒素(NO
2
)を含む窒素酸化物(NOx)を還元し浄化する排気浄化装置が知られている。斯かる排気浄化装置においては、エンジンに接続された排気管の上流側及び下流側に浄化ユニットがそれぞれ介装され、これらの浄化ユニットの間を接続する排気管(連結管)の内部に還元剤としての尿素水溶液を添加するための噴射ノズルが設けられることが一般的である。
【0003】
また、上流側の浄化ユニットは、少なくとも酸化触媒(DOC)及びディーゼルパティキュレートフィルタ(DPF)を有し、排気に含まれるNOをNO
2
へと酸化させると共に、粒子状物質(PM)を捕集・除去する。一方、下流側の浄化ユニットは、少なくとも選択還元触媒(SCR触媒)を有し、噴射ノズルにより添加される尿素水溶液に含まれる尿素の加水分解によって生成されるアンモニアを使用して、SCR触媒にてNOxを選択還元浄化する。
【0004】
上述した尿素の加水分解によるアンモニアの生成は主として排気の熱によって行われ、フィンを有するリアクタを噴射ノズルの下流側に配置して、リアクタへの衝突による尿素水溶液の微粒化、フィンによる尿素水溶液の攪拌及びフィンを介する熱伝導等によって、尿素の加水分解を促進させることも行われる。
【0005】
上記のように、尿素の加水分解によるアンモニアの生成は、上流側の浄化ユニットから排出される排気が高温であることが前提となる。従って、例えばエンジンの暖機中(始動直後)又は低負荷運転時等、排気の温度が十分に高くない場合においては、尿素の加水分解によるアンモニアの生成が不十分となり、結果としてSCR触媒によるNOxの選択還元浄化が不十分となる懸念があった。
【0006】
また、排気の温度が低い状態が続くことにより、尿素水溶液に含まれる尿素の一部が加水分解されずに析出し、リアクタのフィンに付着してデポジットとなり、排気管の通気抵抗(背圧)を増大させる懸念もある。そこで、特許文献1(特許第5688963号公報)においては、リアクタに電熱線を装着してリアクタ自体を発熱させて高温を維持することにより、排気の温度にかかわらず熱源不足を補うことが提案されている。
【0007】
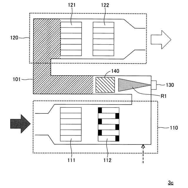
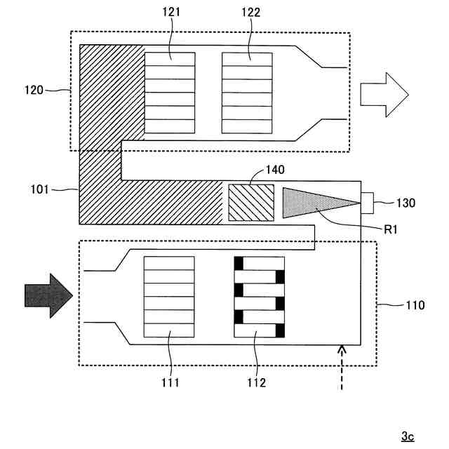
しかしながら、特許文献1に記載された排気浄化装置においては、図7に示すように、SCR触媒(32)の上流側に近接して電熱リアクタ(36)が配設されている。このため、添加された尿素水溶液が電熱リアクタによって加熱されるものの尿素の加水分解に要する時間を経る前にSCR触媒(32)に到達してしまい、結果としてSCR触媒によるNOxの選択還元浄化に必要とされるアンモニアがSCR触媒(32)に十分に供給されず、排気の浄化が十分に行われない懸念がある。
【0008】
また、尿素水溶液の噴射ノズル(30)とリアクタ(36)との間の距離及びリアクタ(36)とSCR触媒(32)の担体の前面との間の距離が短い。このため、添加された尿素水溶液が排気中に十分に拡散する前にリアクタに到達したり、リアクタ(36)を通過した後の(尿素の加水分解によって生成された)アンモニアが十分に拡散・攪拌される前にSCR触媒(32)の担体の前面に到達したりする虞がある。このように排気中における尿素水溶液、尿素及び/又はアンモニアの一様度が低い場合、リアクタの全体ではなくリアクタ(36)の一部においてのみ局所的に尿素の加水分解反応が起こったり、SCR触媒(32)の担体の前面の全体に行き渡らずにSCR触媒(32)の担体の前面の一部においてのみ局所的にNOxの還元反応が起こったりして、排気の浄化効率が低下する虞がある。
【先行技術文献】
【特許文献】
【0009】
特許5688963号公報
【発明の概要】
【発明が解決しようとする課題】
【0010】
前述したように、当該技術分野においては、排気中における尿素水溶液、尿素及びアンモニアの一様度を高めると共に、尿素の加水分解によるアンモニアの生成を促進することにより、排気の温度にかかわらず所望の排気浄化効率を達成することができる技術が求められている。
【課題を解決するための手段】
(【0011】以降は省略されています)
この特許をJ-PlatPat(特許庁公式サイト)で参照する
関連特許
株式会社三五
消音器
3か月前
株式会社三五
排気浄化装置
6日前
株式会社三五
排気浄化装置
21日前
株式会社三五
ドライブシャフト
1か月前
株式会社三五
筒状部材の形成方法
1か月前
株式会社三五
配管用マーキング装置
1か月前
株式会社三五
車両のトーションビーム
1日前
株式会社三五
ハイブリッド車の排気システム
22日前
株式会社三五
テーパ部を有する円筒体の成形方法
1か月前
株式会社三五
フランジ部を有する中空部材の形成方法
1か月前
株式会社三五
スプラインの形成装置及びスプラインの形成方法
3か月前
株式会社三五
差厚パイプの押出成形装置及び差厚パイプの押出成形方法
1か月前
株式会社三五
排気系の容器体及びその製造方法
13日前
株式会社三五
排気浄化装置
6日前
株式会社SUBARU
排気浄化装置
13日前
スズキ株式会社
内燃機関の制御装置
13日前
トヨタ自動車株式会社
エンジン
21日前
スズキ株式会社
エンジン冷却システム
今日
トヨタ自動車株式会社
エンジン
13日前
株式会社ミクニ
二次空気供給システム
7日前
株式会社三五
ハイブリッド車の排気システム
22日前
トヨタ自動車株式会社
エンジン
22日前
株式会社SUBARU
エンジン制御装置
1か月前
トヨタ自動車株式会社
水素エンジン
1か月前
トヨタ自動車株式会社
排気浄化装置
22日前
トヨタ自動車株式会社
異常診断装置
1か月前
トヨタ自動車株式会社
油量判定装置
1か月前
トヨタ自動車株式会社
車両装置
13日前
株式会社アイシン
冷却モジュール
1か月前
株式会社IHI
翼車
今日
日産自動車株式会社
内燃機関
1か月前
トヨタ自動車株式会社
内燃機関の制御装置
1か月前
トヨタ自動車株式会社
内燃機関の制御装置
1か月前
本田技研工業株式会社
冷却液タンク
13日前
個人
エネルギー変換機構およびそれを利用した流体機械
2日前
トヨタ自動車株式会社
オイルタンク
22日前
続きを見る
他の特許を見る