TOP
|
特許
|
意匠
|
商標
特許ウォッチ
Twitter
他の特許を見る
10個以上の画像は省略されています。
公開番号
2025176392
公報種別
公開特許公報(A)
公開日
2025-12-04
出願番号
2024082510
出願日
2024-05-21
発明の名称
二次空気供給システム
出願人
株式会社ミクニ
代理人
個人
主分類
F01N
3/34 20060101AFI20251127BHJP(機械または機関一般;機関設備一般;蒸気機関)
要約
【課題】二次空気供給システムにおいて、部品点数の削減、低コスト化、レイアウトの自由度の増加、騒音の低減等を図れる構造を提供する。
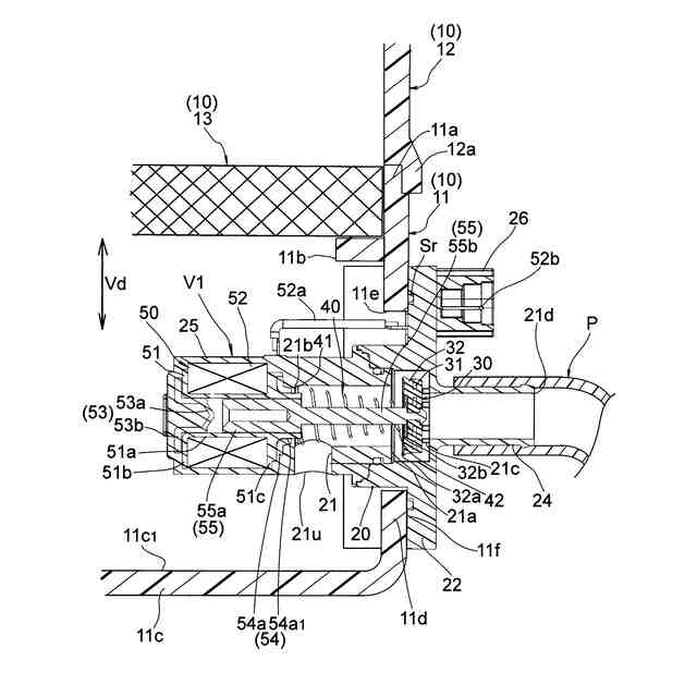
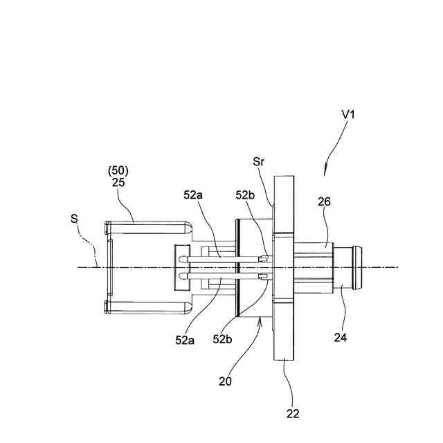
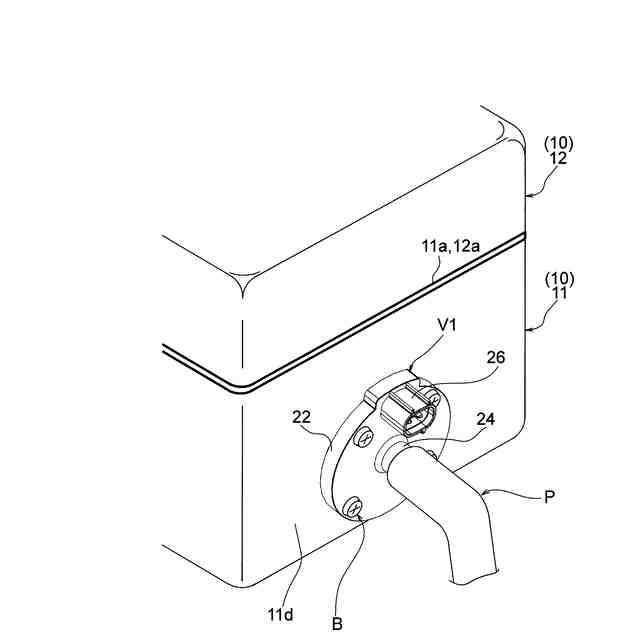
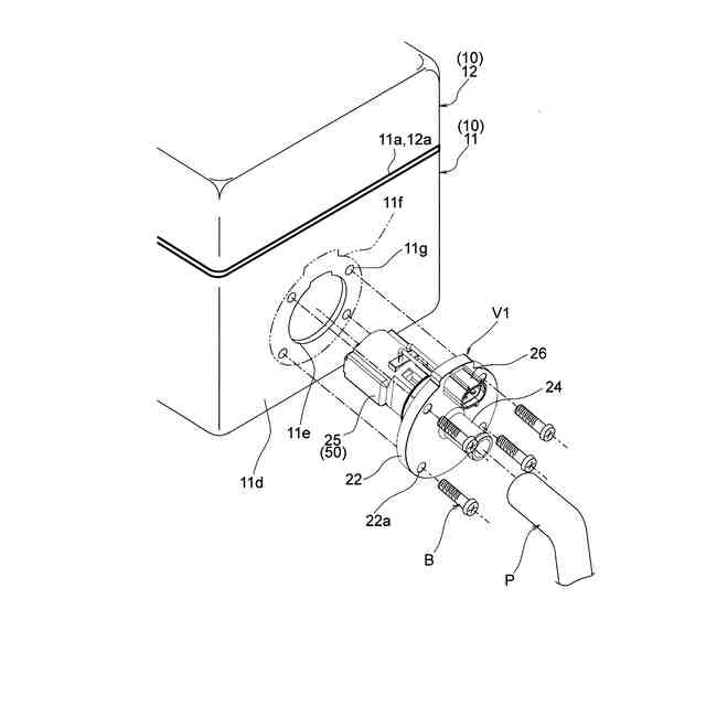
【解決手段】エアクリーナ10内の空気を,駆動部50を有する開閉弁V1の内部通路21を経由して,排気通路に供給するエンジンの二次空気供給システムにおいて、エアクリーナ10は、その壁部を貫通する貫通孔11eを含み、開閉弁V1は、貫通孔11eの領域において、少なくとも駆動部50及び内部通路21の上流開口端21uがエアクリーナ10内に臨むと共に内部通路21の下流開口端21dがエアクリーナ10の外部に臨むように配置されて壁部に固定されている。
【選択図】図4
特許請求の範囲
【請求項1】
エアクリーナ内の空気を,駆動部を有する開閉弁の内部通路を経由して,排気通路に供給するエンジンの二次空気供給システムであって、
前記エアクリーナは、その壁部を貫通する貫通孔を含み、
前記開閉弁は、前記貫通孔の領域において、少なくとも前記駆動部及び前記内部通路の上流開口端が前記エアクリーナ内に臨むと共に前記内部通路の下流開口端が前記エアクリーナの外部に臨むように配置されて前記壁部に固定されている、
ことを特徴とする二次空気供給システム。
続きを表示(約 1,100 文字)
【請求項2】
前記内部通路の上流開口端は、鉛直方向において、前記エアクリーナの底面よりも上方に設けられている、
ことを特徴とする請求項1に記載の二次空気供給システム。
【請求項3】
前記上流開口端は、前記壁部の内壁面から内側に離隔した位置に配置されている、
ことを特徴とする請求項2に記載の二次空気供給システム。
【請求項4】
前記上流開口端は、鉛直方向において下方を向くように配置されている、
ことを特徴とする請求項3に記載の二次空気供給システム。
【請求項5】
前記開閉弁の内部通路と前記排気通路を連通させる配管を含む、
ことを特徴とする請求項1に記載の二次空気供給システム。
【請求項6】
前記開閉弁は、前記駆動部と、前記駆動部により駆動されて前記内部通路を開閉する弁体と、前記内部通路,前記壁部に固定される固定部,前記配管が接続されるパイプ部を画定する本体と、を含み、
前記開閉弁は、前記パイプ部が前記エアクリーナの外部に露出した状態で前記固定部が前記エアクリーナの壁部に固定されている、
ことを特徴とする請求項5に記載の二次空気供給システム。
【請求項7】
前記エアクリーナは、前記貫通孔の周りにおいて、前記壁部の外壁面に形成されて前記固定部が接合される接合面を含み、
前記固定部と前記接合面の間には、シール部材が配置されている、
ことを特徴とする請求項6に記載の二次空気供給システム。
【請求項8】
前記本体は、前記固定部に隣接して前記貫通孔に嵌合される嵌合部を含む、
ことを特徴とする請求項7に記載の二次空気供給システム。
【請求項9】
前記エアクリーナは、前記接合面の領域において、雌ネジ穴を含み、
前記本体は、前記固定部において、前記雌ネジ穴に捩じ込むネジを通す円孔を含み、
前記開閉弁は、前記ネジを前記円孔に通して前記雌ネジ穴に捩じ込むことにより、前記エアクリーナに固定されている、
ことを特徴とする請求項7に記載の二次空気供給システム。
【請求項10】
前記本体は、前記固定部において、タッピンネジを通す円孔を含み、
前記開閉弁は、前記タッピンネジを前記円孔に通して前記エアクリーナの前記接合面の領域に捩じ込むことにより、前記エアクリーナに固定されている、
ことを特徴とする請求項7に記載の二次空気供給システム。
(【請求項11】以降は省略されています)
発明の詳細な説明
【技術分野】
【0001】
本発明は、車両、特に自動二輪車等に搭載されたエンジンの吸排気系において、エアクリーナを通過した空気を排気通路に供給する二次空気供給システムに関する。
続きを表示(約 1,400 文字)
【背景技術】
【0002】
従来の二次空気供給システムとしては、自動二輪車に搭載のエンジンのエアクリーナと排気管との間において、エアクリーナの外壁に固定された電磁弁(開閉弁)と、エアクリーナの外壁に固定されたリード弁と、エアクリーナと電磁弁を接続して空気を通す上流側の配管と、電磁弁とリード弁を接続して空気を通す中間領域の配管と、リード弁と排気管を接続して空気を通す下流側の配管を備えた構成が知られている(例えば、特許文献1を参照)。
【0003】
この二次空気供給システムにおいては、電磁弁とエアクリーナを専用の配管で接続するため、専用の配管スペースが必要になり、レイアウトの自由度が減り、部品点数及びコストが増加し、配置部品の集約化等も難しくなる。また、電磁弁の作動音が騒音として懸念される。
【0004】
また、他の二次空気供給システムとしては、自動二輪車に搭載のエンジンのエアクリーナと排気管との間において、シリンダヘッドカバーの上面に対向する領域においてエアクリーナに固定された二次空気バルブ(開閉弁)と、二次空気バルブとエアクリーナを接続して空気を通す二次空気導入ホースと、エンジンの排気ポートに連通するべくシリンダヘッドカバーに設けられたコネクタと二次空気バルブを接続して空気を通す二次空気供給ホースを備えた構成が知られている(例えば、特許文献2を参照)。
【0005】
この二次空気供給システムにおいても、前述同様に、二次空気バルブとエアクリーナを専用の配管(二次空気導入ホース)で接続するため、専用の配管スペースが必要になり、レイアウトの自由度が減り、部品点数及びコストが増加し、配置部品の集約化等も難しくなる。また、電磁弁の作動音が騒音として懸念される。
【先行技術文献】
【特許文献】
【0006】
特開2015-180812号公報
特開2010-59923号公報
【発明の概要】
【発明が解決しようとする課題】
【0007】
本発明は、上記の事情に鑑みて成されたものであり、その目的とするところは、部品点数の削減、低コスト化、レイアウトの自由度の増加、騒音の低減等を図れる二次空気供給システムを提供することにある。
【課題を解決するための手段】
【0008】
本発明の二次空気供給システムは、エアクリーナ内の空気を,駆動部を有する開閉弁の内部通路を経由して,排気通路に供給するエンジンの二次空気供給システムであって、エアクリーナは、その壁部を貫通する貫通孔を含み、開閉弁は、貫通孔の領域において、少なくとも駆動部及び内部通路の上流開口端がエアクリーナ内に臨むと共に内部通路の下流開口端がエアクリーナの外部に臨むように配置されて壁部に固定されている、構成となっている。
【0009】
上記二次空気供給システムにおいて、内部通路の上流開口端は、鉛直方向において、エアクリーナの底面よりも上方に設けられている、構成を採用してもよい。
【0010】
上記二次空気供給システムにおいて、内部通路の上流開口端は、エアクリーナの壁部の内壁面から内側に離隔した位置に配置されている、構成を採用してもよい。
(【0011】以降は省略されています)
この特許をJ-PlatPat(特許庁公式サイト)で参照する
関連特許
株式会社ミクニ
電動ポンプ
1か月前
株式会社ミクニ
電動ポンプ
1か月前
株式会社ミクニ
制御回路ユニット
14日前
株式会社ミクニ
制御回路ユニット
14日前
株式会社ミクニ
制御回路ユニット
14日前
株式会社ミクニ
二次空気供給システム
今日
株式会社ミクニ
二次空気供給システム
今日
株式会社ミクニ
予混合装置および給湯装置
14日前
株式会社ミクニ
エンジンのスロットル装置
27日前
株式会社ミクニ
メッシュフェンス及びメッシュフェンスの製造方法
27日前
株式会社ミクニ
クローズドインペラ、電動ポンプおよびクローズドインペラの製造方法
1か月前
トヨタ自動車株式会社
計測システム
1か月前
スズキ株式会社
内燃機関の制御装置
6日前
株式会社SUBARU
排気浄化装置
6日前
株式会社豊田自動織機
エンジン式産業車両
1か月前
株式会社三五
ハイブリッド車の排気システム
15日前
本田技研工業株式会社
排気装置
1か月前
株式会社ミクニ
二次空気供給システム
今日
トヨタ自動車株式会社
エンジン
14日前
本田技研工業株式会社
排気装置
1か月前
本田技研工業株式会社
排気装置
1か月前
トヨタ自動車株式会社
エンジン
6日前
トヨタ自動車株式会社
エンジン
15日前
株式会社SUBARU
エンジン制御装置
27日前
株式会社クボタ
多目的車両
1か月前
株式会社クボタ
多目的車両
1か月前
トヨタ自動車株式会社
油量判定装置
28日前
トヨタ自動車株式会社
排気浄化装置
15日前
トヨタ自動車株式会社
水素エンジン
1か月前
トヨタ自動車株式会社
異常診断装置
1か月前
トヨタ自動車株式会社
車両装置
6日前
マレリ株式会社
消音器
1か月前
株式会社アイシン
冷却モジュール
27日前
トヨタ自動車株式会社
内燃機関の制御装置
1か月前
日産自動車株式会社
内燃機関
27日前
トヨタ自動車株式会社
内燃機関の制御装置
1か月前
続きを見る
他の特許を見る