TOP
|
特許
|
意匠
|
商標
特許ウォッチ
Twitter
他の特許を見る
10個以上の画像は省略されています。
公開番号
2025158542
公報種別
公開特許公報(A)
公開日
2025-10-17
出願番号
2024061188
出願日
2024-04-05
発明の名称
電動ポンプ
出願人
株式会社ミクニ
代理人
SSIP弁理士法人
主分類
F04D
13/06 20060101AFI20251009BHJP(液体用容積形機械;液体または圧縮性流体用ポンプ)
要約
【課題】モータのトルクの向上と、ロータとステータとの間の空隙への異物の噛み込みの抑制とを両立することが可能な電動ポンプを提供する。
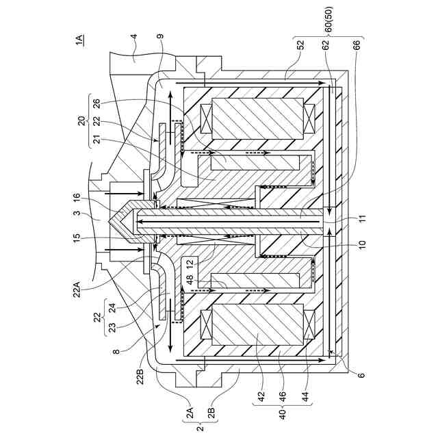
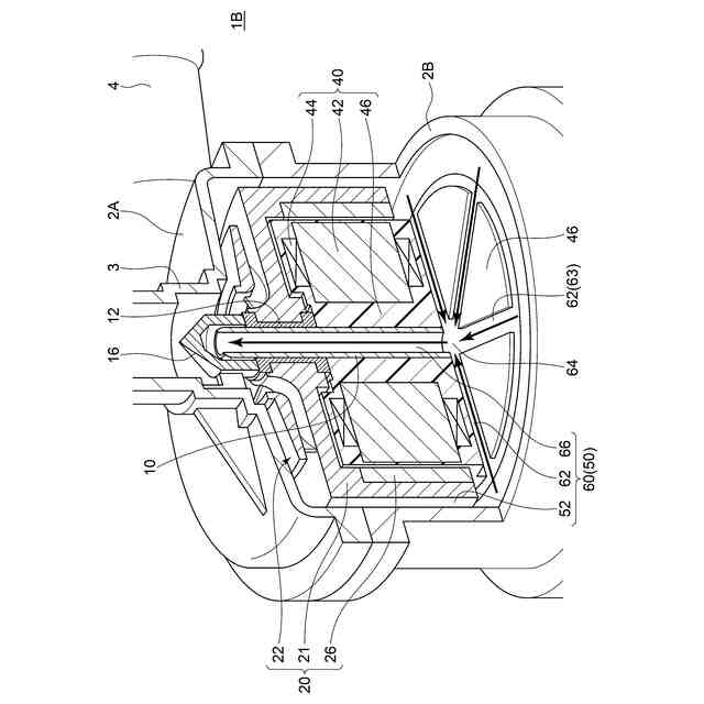
【解決手段】電動ポンプ1(1A~1C)は、支持軸10と、インペラ22およびマグネット26を含み、支持軸10の径方向外側において支持軸10によって支持されるロータ20と、マグネット26との間に磁気ギャップGを隔てて配置されるステータコア42を含み、磁気ギャップGの形成範囲内において空隙48を隔ててロータ20と非接触で対向するステータ40と、インペラ22の吐出口22Bとインペラ22の吸入口22Aとを連通し、インペラ22を通過した流体をインペラ22の吸入口22Aへと戻すようにロータ20およびステータ40の径方向外側を少なくとも通過して設けられたリターン流路50と、を備える。リターン流路50は、ロータ20とステータ40とを隔てる空隙48をバイパスするバイパス路60を含む。
【選択図】図1
特許請求の範囲
【請求項1】
支持軸と、
インペラおよびマグネットを含み、前記支持軸の径方向外側において前記支持軸によって支持されるロータと、
前記マグネットとの間に磁気ギャップを隔てて配置されるステータコアを含み、前記磁気ギャップの形成範囲内において空隙を隔てて前記ロータと非接触で対向するステータと、
前記インペラの吐出口と前記インペラの吸入口とを連通し、前記インペラを通過した流体を前記インペラの前記吸入口へと戻すように前記ロータおよび前記ステータの径方向外側を少なくとも通過して設けられたリターン流路と、
を備え、
前記リターン流路は、前記ロータと前記ステータとを隔てる前記空隙をバイパスするバイパス路を含む
電動ポンプ。
続きを表示(約 1,400 文字)
【請求項2】
前記ロータ、前記ステータおよび前記支持軸を収容するケーシングを備え、
前記ステータは、
ステータコイルと、
前記ステータコア及び前記ステータコイルを覆うモールド材と、
を含み、
前記リターン流路は、前記ロータ又は前記モールド材の外周面と前記ケーシングの内周面との間に形成される環状流路を含む
請求項1に記載の電動ポンプ。
【請求項3】
前記バイパス路は、
前記環状流路の下流端に接続され、前記マグネット及び前記ステータコアを挟んで前記インペラの反対側の軸方向位置において、前記マグネット及び前記ステータコアが占める径方向位置範囲を通過する第1流路
を含む
請求項2に記載の電動ポンプ。
【請求項4】
前記バイパス路は、
前記第1流路の下流端に接続され、前記マグネット及び前記ステータコアの径方向内側において、前記マグネット及び前記ステータコアが占める軸方向位置範囲を通過する第2流路
を含む
請求項3に記載の電動ポンプ。
【請求項5】
前記ロータを回転可能に前記支持軸に支持するための軸受を備え、
前記バイパス路は、前記軸受の軸受隙間および前記空隙の両方をバイパスする
請求項1又は2に記載の電動ポンプ。
【請求項6】
前記バイパス路は、中空構造の前記支持軸の内部流路を含む
請求項5に記載の電動ポンプ。
【請求項7】
前記バイパス路の流路断面積は、前記空隙の流路断面積よりも大きい
請求項1又は2に記載の電動ポンプ。
【請求項8】
前記ロータ、前記ステータおよび前記支持軸を収容するケーシングを備え、
前記ロータは、前記ステータの径方向外側において前記空隙を隔てて前記ステータに対向して配置され、
前記リターン流路は、前記ロータの外周面と前記ケーシングの内周面との間に形成される環状流路を含み、
前記バイパス路は、前記環状流路の下流側において前記空隙をバイパスするように構成された
請求項1又は2に記載の電動ポンプ。
【請求項9】
前記ロータ、前記ステータおよび前記支持軸を収容するケーシングを備え、
前記ステータは、
ステータコイルと、
前記ステータコア及び前記ステータコイルを覆うモールド材と、
を含み、
前記ロータは、前記ステータの径方向内側において前記空隙を隔てて前記ステータに対向して配置され、
前記バイパス路の少なくとも一部は、前記モールド材の外周面と前記ケーシングの内周面との間に形成される
請求項1又は2に記載の電動ポンプ。
【請求項10】
前記ロータ、前記ステータおよび前記支持軸を収容するケーシング
を備え、
前記ステータは、
ステータコイルと、
前記ステータコア及び前記ステータコイルを覆うモールド材と、
を含み、
前記ロータは、前記空隙を挟んで軸方向の反対側に位置する前記ステータに対向して配置され、
前記バイパス路の少なくとも一部は、前記ロータの外周面および前記モールド材の外周面と前記ケーシングの内周面との間に形成される
請求項1又は2に記載の電動ポンプ。
(【請求項11】以降は省略されています)
発明の詳細な説明
【技術分野】
【0001】
本開示は、電動ポンプに関する。
続きを表示(約 1,700 文字)
【背景技術】
【0002】
従来から、流体を昇圧させるインペラと、インペラを回転させるためのモータ部とを同一ケーシング内に配置した電動ポンプが知られている。
この種の電動ポンプでは、インペラおよびマグネットを含むロータと、マグネットとの間に磁気ギャップを隔てて配置されるステータコアを含むステータとが、ポンプ室と連通する空隙を隔てて対向する。
【0003】
例えば、特許文献1には、ケーシングに固定された軸部材と、軸部材の外側に挿入される軸受部と、インペラが固定されるロータとを含む電動ポンプが記載されている。
特許文献1記載の電動ポンプは、例えば軸受部の潤滑やモータ部の冷却を目的として、インペラ通過後の流体の一部をケーシング内で循環させるようになっている。具体的には、軸受部とロータとの間に排出路が設けられ、インペラを通過した流体の一部は、ロータとステータとの間の空隙を経由してこの排出路に流入した後、インペラの吸入口に戻される。
【先行技術文献】
【特許文献】
【0004】
特開2016-23635号公報
【発明の概要】
【発明が解決しようとする課題】
【0005】
一般に、モータのトルクを向上させる観点から、マグネットとステータコアとの間の磁気ギャップは狭いことが望ましい。
しかしながら、特許文献1記載の電動ポンプのように、インペラ通過後の流体の一部をケーシング内で循環させる場合、循環流体に随伴する異物がロータとステータとの間の空隙に噛み込んでしまうリスクがある。このため、ロータとステータとの間の空隙を十分に確保する必要があり、マグネットとステータコアとの間の磁気ギャップを狭くすることが難しい。
【0006】
上述の事情に鑑みて、本発明の少なくとも幾つかの実施形態は、モータのトルクの向上と、ロータとステータとの間の空隙への異物の噛み込みの抑制とを両立することが可能な電動ポンプを提供することを目的とする。
【課題を解決するための手段】
【0007】
[1]本発明の少なくとも幾つかの実施形態に係る電動ポンプは、
支持軸と、
インペラおよびマグネットを含み、支持軸の径方向外側において支持軸によって支持されるロータと、
マグネットとの間に磁気ギャップを隔てて配置されるステータコアを含み、磁気ギャップの形成範囲内において空隙を隔ててロータと非接触で対向するステータと、
インペラの吐出口とインペラの吸入口とを連通し、インペラを通過した流体をインペラの吸入口へと戻すようにロータおよびステータの径方向外側を少なくとも通過して設けられたリターン流路と、
を備え、
リターン流路は、ロータとステータとを隔てる空隙をバイパスするバイパス路を含む。
【0008】
[2]幾つかの実施形態では、上記[1]の構成において、
電動ポンプは、ロータ、ステータおよび支持軸を収容するケーシングを備え、
ステータは、
ステータコイルと、
ステータコア及びステータコイルを覆うモールド材と、
を含み、
リターン流路は、ロータ又はモールド材の外周面とケーシングの内周面との間に形成される環状流路を含む。
【0009】
[3]幾つかの実施形態では、上記[2]の構成において、
バイパス路は、
環状流路の下流端に接続され、マグネット及びステータコアを挟んでインペラの反対側の軸方向位置において、マグネット及びステータコアが占める径方向位置範囲を通過する第1流路
を含む。
【0010】
[4]幾つかの実施形態では、上記[3]の構成において、
バイパス路は、
第1流路の下流端に接続され、マグネット及びステータコアの径方向内側において、マグネット及びステータコアが占める軸方向位置範囲を通過する第2流路
を含む。
(【0011】以降は省略されています)
この特許をJ-PlatPat(特許庁公式サイト)で参照する
関連特許
株式会社ミクニ
電動ポンプ
5日前
株式会社ミクニ
電動ポンプ
5日前
株式会社ミクニ
ベーパセパレータ、ベーパセパレータの製造方法及び船外機
27日前
株式会社ミクニ
クローズドインペラ、電動ポンプおよびクローズドインペラの製造方法
5日前
個人
海流製造装置。
1か月前
株式会社スギノマシン
圧縮機
13日前
株式会社ツインバード
送風装置
1か月前
株式会社ツインバード
送風装置
1か月前
カヤバ株式会社
電動ポンプ
2か月前
日機装株式会社
遠心ポンプ
5日前
ビッグボーン株式会社
送風装置
1か月前
株式会社不二越
蓄圧装置
2か月前
株式会社ノーリツ
ロータリ圧縮機
1か月前
株式会社不二越
ベーンポンプ
2か月前
サンデン株式会社
スクロール圧縮機
19日前
サンデン株式会社
スクロール圧縮機
19日前
サンデン株式会社
スクロール圧縮機
19日前
小倉クラッチ株式会社
ルーツブロア
2か月前
樫山工業株式会社
真空ポンプ
14日前
株式会社チロル
送風機、送風機付衣服
1か月前
株式会社島津製作所
真空ポンプ
1か月前
エドワーズ株式会社
真空ポンプ
27日前
株式会社豊田自動織機
流体機械
1か月前
株式会社アイシン
ポンプケース
26日前
株式会社島津製作所
真空ポンプ
1か月前
株式会社豊田自動織機
電動圧縮機
2か月前
株式会社ナノバブル研究所
気液駆動装置
27日前
株式会社豊田自動織機
電動圧縮機
1か月前
株式会社豊田自動織機
電動圧縮機
1か月前
NTN株式会社
電動オイルポンプ
20日前
已久工業股ふん有限公司
空気圧縮機構造
2か月前
株式会社豊田自動織機
電動圧縮機
1か月前
株式会社豊田自動織機
電動圧縮機
2か月前
株式会社豊田自動織機
電動圧縮機
1か月前
株式会社豊田自動織機
電動圧縮機
2か月前
株式会社豊田自動織機
電動圧縮機
2か月前
続きを見る
他の特許を見る