TOP
|
特許
|
意匠
|
商標
特許ウォッチ
Twitter
他の特許を見る
10個以上の画像は省略されています。
公開番号
2025177599
公報種別
公開特許公報(A)
公開日
2025-12-05
出願番号
2024084591
出願日
2024-05-24
発明の名称
インテークマニホールド
出願人
株式会社ミクニ
代理人
個人
主分類
F02M
35/104 20060101AFI20251128BHJP(燃焼機関;熱ガスまたは燃焼生成物を利用する機関設備)
要約
【課題】部品点数の削減、構造の簡素化、成型の容易化、振動溶着の容易化及び確実化等を図り、消炎要素を確実に保持し得るインテークマニホールドを提供する。
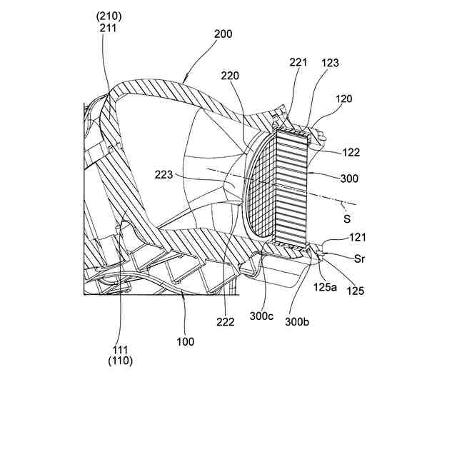
【解決手段】直線X方向に長尺なサージタンクSt及び複数の分岐管Bpの第1半体,直線Xと交差する軸心Sを中心とし吸気口及び受け部並びに嵌合孔を順次に有する筒状部120,及び第1接合部を画定するベース部材100、サージタンク及び前記複数の分岐管の第2半体,及び第1接合部に接合される第2接合部を画定しベース部材に接合されるカバー部材200、消炎要素300を備え、第1接合部130と第2接合部230は、接合面130a
1
,230a
1
が直線Xと平行な面で第1接合部と嵌合孔の間に空所部124を画定するべく直線方向において嵌合孔から離隔し、カバー部材は、受け部と反対側において空所部に臨み消炎要素の周縁部に隣接してその抜けを規制する規制部220を含む。
【選択図】図17
特許請求の範囲
【請求項1】
所定の直線の方向に長尺なサージタンク及び複数の分岐管の第1半体,前記直線に交差する軸心を中心とし吸気口及び受け部並びに嵌合孔を順次に有する筒状部,及び第1接合部を画定する第1成形部材と、
前記サージタンク及び前記複数の分岐管の第2半体,及び前記第1接合部に接合される第2接合部を画定し,前記第1成形部材に接合される第2成形部材と、
前記受け部に当接するように前記嵌合孔に嵌合された消炎要素と、を備え、
前記第1接合部及び前記第2接合部は、両方の接合面が前記直線と平行な面をなすと共に,前記第1接合部と前記嵌合孔の間に空所部を画定するべく前記直線の方向において前記嵌合孔から離隔して形成され、
前記第2成形部材は、前記受け部と反対側において,前記空所部に臨み前記消炎要素の周縁部に隣接して前記消炎要素の抜けを規制する規制部を含む、
ことを特徴とするインテークマニホールド。
続きを表示(約 1,100 文字)
【請求項2】
前記第1接合部は、前記サージタンクの領域において前記直線の方向に伸長する第1長尺接合部と、前記第1長尺接合部の途中から立ち上がるように介在して前記嵌合孔の周りを囲繞する第1囲繞接合部を含み、
前記第1囲繞接合部は、前記第1長尺接合部からの立ち上がり領域と前記嵌合孔の間において前記空所部を画定するべく,前記嵌合孔から離隔して形成され、
前記空所部は、前記規制部に対して前記軸心の方向に隣接する平坦面を含む、
ことを特徴とする請求項1に記載のインテークマニホールド。
【請求項3】
前記受け部は、前記軸心に垂直な環状受け面をなす、
ことを特徴とする請求項1に記載のインテークマニホールド。
【請求項4】
前記第1囲繞接合部は、前記立ち上がり領域の接合面が凹状湾曲面をなすと共に前記平坦面に対して所定の傾斜角度で伸長する領域を含む、
ことを特徴とする請求項2に記載のインテークマニホールド。
【請求項5】
前記平坦面及び前記規制部は、前記軸心及び前記直線に垂直な方向において、前記軸心を含む平面上まで延在している、
ことを特徴とする請求項2に記載のインテークマニホールド。
【請求項6】
前記第1囲繞接合部は、矩形状に屈曲して形成されている、
ことを特徴とする請求項2に記載のインテークマニホールド。
【請求項7】
前記第2接合部は、前記第1長尺接合部に接合される第2長尺接合部と、前記第1囲繞接合部に接合される第2囲繞接合部を含み、
前記規制部は、前記第2囲繞接合部の内側領域において、前記消炎要素の半周縁部及び前記平坦面に隣接して対向する対向面を含む、
ことを特徴とする請求項2に記載のインテークマニホールド。
【請求項8】
前記平坦面は、前記軸心の方向において、前記嵌合孔に嵌合された前記消炎要素の端部と面一になるように形成されている、
ことを特徴とする請求項2に記載のインテークマニホールド。
【請求項9】
前記規制部は、前記対向面と反対側に位置する裏面が、前記サージタンクの前記第2半体を画定する壁部の内壁面と流線的に接続される湾曲面をなす、
ことを特徴とする請求項1に記載のインテークマニホールド。
【請求項10】
前記第1成形部材は、前記複数の分岐管の端部においてエンジンのシリンダヘッドに接合されるフランジ部を含み、
前記フランジ部の取付面は、前記直線に平行に延在する、
ことを特徴とする請求項2に記載のインテークマニホールド。
(【請求項11】以降は省略されています)
発明の詳細な説明
【技術分野】
【0001】
本発明は、エンジンの吸気系に適用される樹脂製のインテークマニホールドに関し、特に、吸気口の近傍に消炎要素(フレームアレスタ)が配置されて、複数の成形部材を振動溶着により結合して形成されたインテークマニホールドに関する。
続きを表示(約 1,700 文字)
【背景技術】
【0002】
従来のインテークマニホールドとしては、吸気口,吸気口の内側に形成された半円筒面をなす凹部状の載置部,チャンバ室及び分岐通路の半分を画定するベース部材と、載置部に嵌め込まれた消炎要素としての消炎装置と、消炎装置を径方向に押える消炎装置固定部材と、消炎装置固定部材を被覆する被覆部,チャンバ室及び分岐通路の半分を画定するカバー部材とを備え、ベース部材、消炎装置固定部材、及びカバー部材を接合部にて同時に振動溶着により結合するものが知られている(例えば、特許文献1を参照)。
【0003】
このインテークマニホールドにおいては、消炎装置を径方向に固定する専用の消炎装置固定部材が必要であり、部品点数の増加、構造の複雑化、高コスト化を招く。
また、消炎装置固定部材と吸気口の間の円弧状接合部は吸気口の軸心を中心とする略半円筒面として形成され、チャンバ室及び分岐通路の領域における接合部はチャンバ室の長手方向の軸線に平行な帯状の平面及び湾曲面として形成されている。
【0004】
ところで、振動溶着を行う際には、ベース部材とカバー部材の接合部の全ての接合面が、振動溶着の加振方向に平行であると共に加振方向に長尺であることが好ましい。
一方、上記従来のインテークマニホールドにおいては、円弧状接合部の接合面に平行な吸気口の軸心方向を振動溶着の加振方向とする必要があるものの、チャンバ室の領域に形成された接合面は加振方向に対して捩れた向きに長尺であり、振動溶着が容易ではなく不十分になる虞がある。また、カバー部材の円弧状接合部は、ベース部材の矩形状をなすフランジ部と近接しているため、振動振幅を十分に確保できない虞もある。
【先行技術文献】
【特許文献】
【0005】
特開2015-59431号公報
【発明の概要】
【発明が解決しようとする課題】
【0006】
本発明は、上記の事情に鑑みて成されたものであり、その目的とするところは、部品点数の削減、構造の簡素化、樹脂材料による成型の容易化、振動溶着による接合の容易化及び確実化を図りつつ、組み込まれた消炎要素を所定位置に確実に保持し得る、インテークマニホールドを提供することにある。
【課題を解決するための手段】
【0007】
本発明のインテークマニホールドは、所定の直線の方向に長尺なサージタンク及び複数の分岐管の第1半体,直線に交差する軸心を中心とし吸気口及び受け部並びに嵌合孔を順次に有する筒状部,及び第1接合部を画定する第1成形部材と、サージタンク及び複数の分岐管の第2半体,及び第1接合部に接合される第2接合部を画定し第1成形部材に接合される第2成形部材と、受け部に当接するように嵌合孔に嵌合された消炎要素とを備え、第1接合部及び第2接合部は、両方の接合面が直線と平行な面をなすと共に,第1接合部と嵌合孔の間に空所部を画定するべく直線の方向において嵌合孔から離隔して形成され、第2成形部材は、受け部と反対側において,空所部に臨み消炎要素の周縁部に隣接して消炎要素の抜けを規制する規制部を含む、構成となっている。
【0008】
上記インテークマニホールドにおいて、第1接合部は、サージタンクの領域において直線の方向に伸長する第1長尺接合部と、第1長尺接合部の途中から立ち上がるように介在して嵌合孔の周りを囲繞する第1囲繞接合部を含み、第1囲繞接合部は、第1長尺接合部からの立ち上がり領域と嵌合孔の間において空所部を画定するべく嵌合孔から離隔して形成され、空所部は、規制部に対して軸心の方向に隣接する平坦面を含む、構成を採用してもよい。
【0009】
上記インテークマニホールドにおいて、受け部は、軸心に垂直な環状受け面をなす、構成を採用してもよい。
【0010】
上記インテークマニホールドにおいて、第1囲繞接合部は、立ち上がり領域の接合面が凹状湾曲面をなすと共に平坦面に対して所定の傾斜角度で伸長する領域を含む、構成を採用してもよい。
(【0011】以降は省略されています)
この特許をJ-PlatPat(特許庁公式サイト)で参照する
関連特許
株式会社ミクニ
電動ポンプ
1か月前
株式会社ミクニ
電動ポンプ
1か月前
株式会社ミクニ
制御回路ユニット
16日前
株式会社ミクニ
制御回路ユニット
16日前
株式会社ミクニ
制御回路ユニット
16日前
株式会社ミクニ
二次空気供給システム
2日前
株式会社ミクニ
二次空気供給システム
2日前
株式会社ミクニ
インテークマニホールド
1日前
株式会社ミクニ
インテークマニホールド
1日前
株式会社ミクニ
予混合装置および給湯装置
16日前
株式会社ミクニ
エンジンのスロットル装置
29日前
株式会社ミクニ
メッシュフェンス及びメッシュフェンスの製造方法
29日前
株式会社ミクニ
ベーパセパレータ、ベーパセパレータの製造方法及び船外機
2か月前
株式会社ミクニ
クローズドインペラ、電動ポンプおよびクローズドインペラの製造方法
1か月前
個人
擬似オイル発電装置
22日前
個人
ガバナー
9日前
スズキ株式会社
車両の制御装置
1か月前
スズキ株式会社
車両の制御装置
1か月前
ダイハツ工業株式会社
発電装置
17日前
株式会社クボタ
作業車
1か月前
トヨタ自動車株式会社
制御装置
1日前
株式会社クボタ
作業車両
1か月前
株式会社ミクニ
二次空気供給システム
2日前
株式会社ミクニ
インテークマニホールド
1日前
株式会社ミクニ
インテークマニホールド
1日前
トヨタ自動車株式会社
車両制御装置
1か月前
トヨタ自動車株式会社
制御装置
16日前
トヨタ自動車株式会社
エンジン制御装置
1か月前
トヨタ自動車株式会社
燃料噴射制御装置
10日前
国立大学法人 名古屋工業大学
小型化無振動機構機器
8日前
日産自動車株式会社
吸気装置
10日前
トヨタ自動車株式会社
フレックス燃料車両
29日前
トヨタ自動車株式会社
内燃機関の制御装置
16日前
Astemo株式会社
内燃機関の制御装置
16日前
川崎重工業株式会社
ガスタービンエンジン
1か月前
トヨタ自動車株式会社
内燃機関の制御装置
29日前
続きを見る
他の特許を見る