TOP
|
特許
|
意匠
|
商標
特許ウォッチ
Twitter
他の特許を見る
公開番号
2025171657
公報種別
公開特許公報(A)
公開日
2025-11-20
出願番号
2024077226
出願日
2024-05-10
発明の名称
内燃機関の制御装置
出願人
Astemo株式会社
代理人
個人
,
個人
主分類
F02D
45/00 20060101AFI20251113BHJP(燃焼機関;熱ガスまたは燃焼生成物を利用する機関設備)
要約
【課題】オイルの希釈による車両性能の低下を適切に抑止できる、内燃機関の制御装置を提供する。
【解決手段】本発明に係る内燃機関の制御装置は、その一態様において、ブローバイガス還流装置の開閉弁の開閉状態に関する信号、及び、内燃機関の空燃比に関する信号を取得し、前記開閉弁の開閉状態に関する信号、及び、前記内燃機関の空燃比に関する信号に基づいて、燃料の混入によって希釈されたオイルの希釈度合いを推定し、推定したオイルの希釈度合いが閾値を超えたことに基づいて、前記オイルの希釈度合いの復帰を図る復帰制御を行なう。
【選択図】図2
特許請求の範囲
【請求項1】
内燃機関のブローバイガスを、開閉弁を介して前記内燃機関の吸気通路に還流させるブローバイガス還流装置を備えた前記内燃機関に適用される、内燃機関の制御装置であって、
前記開閉弁の開閉状態に関する信号、及び、前記内燃機関の空燃比に関する信号を取得し、
前記開閉弁の開閉状態に関する信号、及び、前記内燃機関の空燃比に関する信号に基づいて、燃料の混入によって希釈されたオイルの希釈度合いを推定し、
推定したオイルの希釈度合いが閾値を超えたことに基づいて、前記オイルの希釈度合いの復帰を図る復帰制御を行なう、
内燃機関の制御装置。
続きを表示(約 640 文字)
【請求項2】
請求項1に記載の内燃機関の制御装置であって、
前記オイルの希釈度合いを、前記開閉弁が開いたときの空燃比のリッチ方向への変化に基づいて推定する、
内燃機関の制御装置。
【請求項3】
請求項1に記載の内燃機関の制御装置であって、
前記復帰制御として、前記内燃機関の動力を駆動軸に伝達する変速機の変速比を低速側に変更する変速比制御を行なう、
内燃機関の制御装置。
【請求項4】
請求項1に記載の内燃機関の制御装置であって、
前記開閉弁は電気的駆動弁であり、
前記復帰制御として、前記電気的駆動弁を開制御して前記ブローバイガスを前記吸気通路に還流させる運転領域を拡大させる還流制御を行なう、
内燃機関の制御装置。
【請求項5】
請求項1に記載の内燃機関の制御装置であって、
前記復帰制御として、前記内燃機関が搭載される車両の運転者にオイル交換を促す通知を実施する通知制御を行なう、
内燃機関の制御装置。
【請求項6】
請求項1に記載の内燃機関の制御装置であって、
前記開閉弁はチェックバルブであって、
前記チェックバルブは、前記チェックバルブの開閉を検出する開閉検出器を備え、
前記開閉検出器が出力する開閉検出信号を、前記開閉弁の開閉状態に関する信号として取得する、
内燃機関の制御装置。
発明の詳細な説明
【技術分野】
【0001】
本発明は、内燃機関の制御装置に関する。
続きを表示(約 1,400 文字)
【背景技術】
【0002】
特許文献1のディーゼルエンジンの制御装置は、燃料の混入によって希釈されたオイルの希釈度合いを推定し、希釈度合いとオイル温度に関連するパラメータ値とに基づいて、オイルの動粘度を算出し、動粘度が所定値より大きいときにオイルを異常と判定し、オイル異常を判定したときに、エンジン回転速度の高速回転化を抑制する回転抑制制御を実施する。
【先行技術文献】
【特許文献】
【0003】
特開2010-185282号公報
【発明の概要】
【発明が解決しようとする課題】
【0004】
近年、ガソリンエンジンにおいては、燃費向上のため、潤滑用のオイルとして粘度の低いオイルを使用する傾向にある。
しかし、粘度の低いオイルの使用は、燃費向上に寄与できる反面、オイルに燃料が混入し易くなるため、オイルの希釈による潤滑性能の低下によって車両性能が低下する懸念があった。
【0005】
本発明は、従来の実情に鑑みてなされたものであり、その目的は、オイルの希釈による車両性能の低下を適切に抑止できる、内燃機関の制御装置を提供することにある。
【課題を解決するための手段】
【0006】
そのため、本発明は、その一態様として、ブローバイガス還流装置の開閉弁の開閉状態に関する信号、及び、内燃機関の空燃比に関する信号を取得し、前記開閉弁の開閉状態に関する信号、及び、前記内燃機関の空燃比に関する信号に基づいて、燃料の混入によって希釈されたオイルの希釈度合いを推定し、推定したオイルの希釈度合いが閾値を超えたことに基づいて、前記オイルの希釈度合いの復帰を図る復帰制御を行なう。
【発明の効果】
【0007】
上記発明によると、オイルの希釈による車両性能の低下を適切に抑止できる。
【図面の簡単な説明】
【0008】
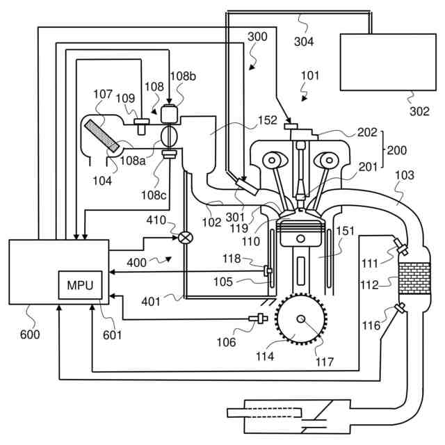
ブローバイガス還流装置の開閉弁がチェックバルブである内燃機関の一態様を示すシステム構成図である。
開閉弁がチェックバルブである場合でのオイルの希釈度合いの推定処理、及び、復帰制御の手順を示すフローチャートである。
開閉弁がチェックバルブである場合でのオイルの希釈度合いの推定処理、及び、復帰制御の手順を示すフローチャートである。
ブローバイガス還流装置の開閉弁が電磁弁である内燃機関の一態様を示すシステム構成図である。
開閉弁が電磁弁である場合でのオイルの希釈度合いの推定処理、及び、復帰制御の手順を示すフローチャートである。
開閉弁が電磁弁である場合でのオイルの希釈度合いの推定処理、及び、復帰制御の手順を示すフローチャートである。
【発明を実施するための形態】
【0009】
以下に本発明の実施の形態を説明する。
図1は、内燃機関101の一態様を示すシステム構成図である。
内燃機関101は、ガソリンエンジンであって、図示を省略した車両に動力源として搭載される。
【0010】
内燃機関101は、点火装置200、燃料噴射装置300、電子制御式スロットル108、排気浄化触媒112を備える。
点火装置200は、点火プラグ201と、パワートランジスタを内蔵した点火コイル202とを有し、燃焼室110内の混合気を火花点火によって着火燃焼させる。
(【0011】以降は省略されています)
この特許をJ-PlatPat(特許庁公式サイト)で参照する
関連特許
他の特許を見る