TOP
|
特許
|
意匠
|
商標
特許ウォッチ
Twitter
他の特許を見る
10個以上の画像は省略されています。
公開番号
2025171917
公報種別
公開特許公報(A)
公開日
2025-11-20
出願番号
2024186137
出願日
2024-10-22
発明の名称
制御回路ユニット
出願人
株式会社ミクニ
代理人
弁理士法人相原国際知財事務所
主分類
H05K
5/00 20250101AFI20251113BHJP(他に分類されない電気技術)
要約
【課題】部品点数を減少できると共に、基板を保護する耐水機能、耐振機能及び放熱機能を確保した上で、密封樹脂を形成するための封止工程を廃止して製造コストを低減できる制御回路ユニットを提供する。
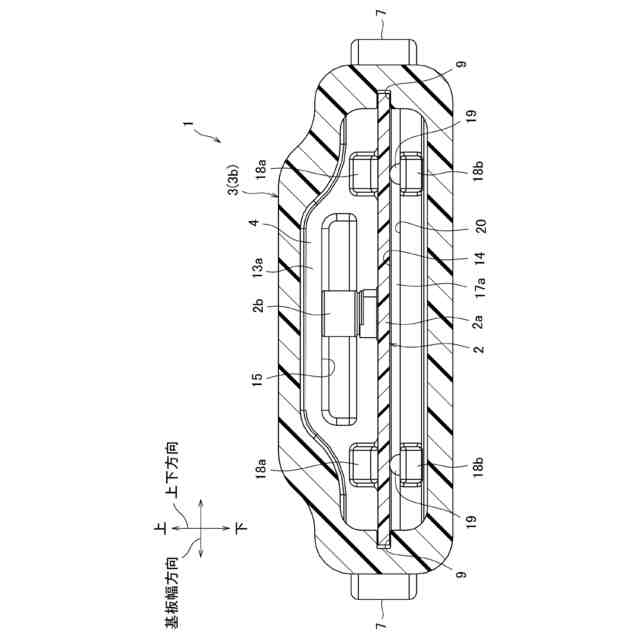
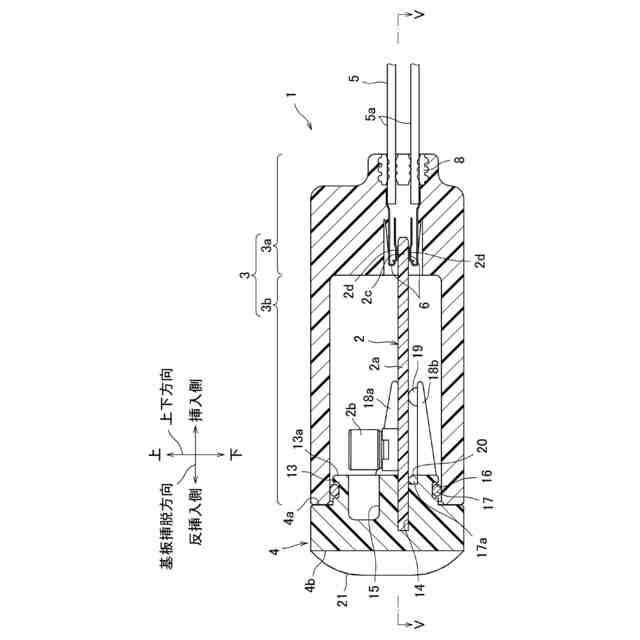
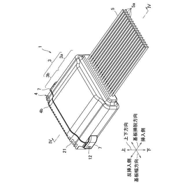
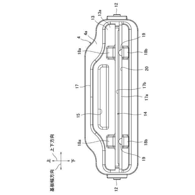
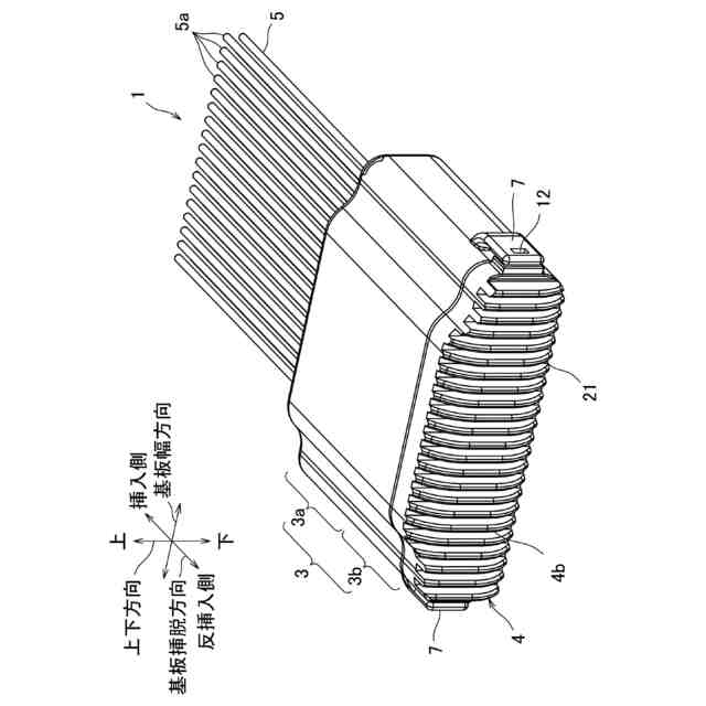
【解決手段】外部の機器類と接続される端子金具6を内蔵した端子内蔵部3aと、端子内蔵部3aに一体形成されて筒状をなして、一端に開口部を有する基板収容室3bとを備えたメスコネクタ3に接続される制御回路ユニット1であって、電子部品2bと電気的に接続された端子部2cが設けられ、端子部2c側から開口部を経て基板収容室3b内に挿入・配置されて、端子部2cが端子金具6に接続される基板2と、内面を基板2に係合させると共に、開口部を閉鎖して、基板収容室3b内に基板2を封止する蓋体4と、蓋体4の外面4bに設けられた凹凸形状のヒートシンク部21とを備えた。
【選択図】図2
特許請求の範囲
【請求項1】
外部の機器類と接続される端子金具を内蔵した端子内蔵部と、前記端子内蔵部に一体形成されて筒状をなして、一端に開口部を有する基板収容室とを備えたメスコネクタに接続される制御回路ユニットであって、
電子部品が実装されて制御回路として機能すると共に、前記電子部品と電気的に接続された端子部が設けられ、前記端子部側から前記開口部を経て前記基板収容室内に挿入・配置されて、前記端子部が前記端子金具に接続される基板と、
内面を前記基板に対して係合させると共に、前記開口部を閉鎖して、前記基板収容室内に前記基板を封止するように構成された蓋体と、
前記蓋体の外面に設けられた放熱部と、
を備えたことを特徴とする制御回路ユニット。
続きを表示(約 1,100 文字)
【請求項2】
前記蓋体は、外面の周縁に拡張部が一体形成され、
前記拡張部は、前記基板収容室の外側面との間に間隙を形成して、前記基板収容室の外側面に沿って前記基板の前記基板収容室内への挿入方向へと延設され、
前記放熱部は、少なくとも前記拡張部の外面に形成されている
ことを特徴とする請求項1に記載の制御回路ユニット。
【請求項3】
前記放熱部は、前記蓋体の外面から前記拡張部の外面に亘って形成されている
ことを特徴とする請求項2に記載の制御回路ユニット。
【請求項4】
前記放熱部は、凹凸形状をなすヒートシンク部である
ことを特徴とする請求項1に記載の制御回路ユニット。
【請求項5】
前記制御回路ユニットは、前記メスコネクタに接続されて車両に搭載され、前記メスコネクタの前記端子金具が前記車両の機器類に接続され、
前記蓋体は、前記車両側の部位に連結されるブラケット部が一体形成されている
ことを特徴とする請求項1乃至4の何れか1項に記載の制御回路ユニット。
【請求項6】
前記車両側の部位は、前記車両の車体フレームであり、
前記制御回路ユニットは、前記ブラケット部のみを介して前記車体フレームに連結される
ことを特徴とする請求項5に記載の制御回路ユニット。
【請求項7】
前記蓋体に設けられて前記基板の前記基板収容室内への挿入方向に向けて延設され、前記基板の一側面に当接する基板保持部をさらに備えた
ことを特徴とする請求項1乃至4の何れか1項に記載の制御回路ユニット。
【請求項8】
前記基板保持部は、前記基板の上側に位置する上基板保持部及び前記基板の下側に位置する下基板保持部からなり、
前記基板は、前記上基板保持部と前記下基板保持部とにより上下から挟み込まれ、
前記上基板保持部は、下面全体が前記基板の上面に当接し、
前記下基板保持部は、上面全体が前記基板の下面に当接している
ことを特徴とする請求項7に記載の制御回路ユニット。
【請求項9】
前記蓋体は、前記内面に基板溝が形成され、
前記基板は、前記基板収容室内への挿入方向と反対側の端部が前記基板溝内に嵌め込まれている
ことを特徴とする請求項1乃至4の何れか1項に記載の制御回路ユニット。
【請求項10】
前記蓋体に設けられて前記基板の前記基板収容室内への挿入方向に向けて延設され、前記電子部品と接触する熱伝導部をさらに備えた
ことを特徴とする請求項1乃至4の何れか1項に記載の制御回路ユニット。
(【請求項11】以降は省略されています)
発明の詳細な説明
【技術分野】
【0001】
本発明は、制御回路ユニットに関する。
続きを表示(約 1,600 文字)
【背景技術】
【0002】
この種の制御回路ユニットは、例えば自動二輪車に搭載されたエンジンを制御するために使用される。制御回路ユニットは、電子部品モジュールを備える。自動二輪車に搭載されたエンジンの燃料噴射弁や点火装置、或いは各種センサ類はハーネスを介してメスコネクタに接続されており、このメスコネクタに制御用の基板を備えた電子部品モジュールが脱着可能に接続される。これにより、各種センサ類からの検出情報がハーネス及びメスコネクタを介して基板に入力され、それに基づき基板から出力される駆動信号により燃料噴射弁や点火装置が駆動されてエンジンの燃料噴射や点火時期が制御される。
【0003】
例えば特許文献1に記載の技術では、ECUケース内に電子部品が実装された制御用の基板を密封樹脂で封止することにより、電子部品モジュールが構成されている。詳しくは、ECUケースの一側には基板収容室が開口形成され、他側にはメスコネクタが嵌合するコネクタ嵌合部が開口形成され、基板収容室とコネクタ嵌合部との間の隔壁にはスリットが貫通している。基板は、開口部から基板収容室内に挿入されて密封樹脂で封止されると共に、基板の先端に設けられたカードエッジコネクタが、スリットを介してコネクタ嵌合部側に突出している。このような電子部品モジュールのコネクタ嵌合部にメスコネクタが接続されると、メスコネクタの端子金具が基板のカードエッジコネクタと接続され、基板により車両のエンジンを制御可能となる。
【先行技術文献】
【特許文献】
【0004】
特開2020-145373号公報
【発明の概要】
【発明が解決しようとする課題】
【0005】
ところが、特許文献1に記載の制御回路ユニットは、部品点数が多く且つ製造工程が煩雑であることから、製造コストの面で改良の余地があった。
【0006】
まず、部品点数について、制御回路ユニットは、電子部品モジュールを構成するECUケース、基板、密封樹脂を備える。部品点数が多くなるほど射出成形等の材料費が高騰すると共に、個々の構成部品の組付工数が増加するため、製造コストの観点から部品点数の減少が望まれる。
【0007】
また、製造工程について、各構成部品を単に組み付けるだけでなく、基板収容室内に基板を密封樹脂で封止する封止工程を要する。例えば特許文献1の技術では、以下の手順で封止工程が実施される。
【0008】
まず、コネクタ嵌合部を上方に向けた姿勢にECUケースを保ち、その開口部からコネクタ嵌合部内に注入ノズルを挿入し、スリットの周囲に第1樹脂剤を注入する。第1樹脂剤が硬化して第1密封樹脂を形作ると、スリットと基板との間隙が塞がれる。次いで、ECUケースの姿勢を上下に反転させ、上方に向いた基板収容室の開口部から内部に基板を挿入する。その後に、開口部から基板収容室内に注入ノズルを挿入して第2樹脂剤を注入する。第2樹脂剤が硬化して基板収容室内で第2密封樹脂を形作ると、その内部に基板が封止される。
【0009】
封止工程は、このような煩雑な操作を要する上に、第1及び第2樹脂剤が硬化するまでの待機時間を要するため作業効率が悪い。このため、製造コストの観点から封止工程を廃止することが望まれる。
【0010】
しかしながら、第2密封樹脂は、封止している基板を水分等から保護する耐水機能、基板を振動から保護する耐振機能、及び基板上の電子部品の熱を外部に逃がす放熱機能を奏する重要な部品である。従って、これらの機能を確保するために封止工程を廃止することはできなかった。
(【0011】以降は省略されています)
特許ウォッチbot のツイートを見る
この特許をJ-PlatPat(特許庁公式サイト)で参照する
関連特許
株式会社ミクニ
電動ポンプ
1か月前
株式会社ミクニ
電動ポンプ
1か月前
株式会社ミクニ
制御回路ユニット
2日前
株式会社ミクニ
制御回路ユニット
2日前
株式会社ミクニ
制御回路ユニット
2日前
株式会社ミクニ
予混合装置および給湯装置
2日前
株式会社ミクニ
エンジンのスロットル装置
15日前
株式会社ミクニ
メッシュフェンス及びメッシュフェンスの製造方法
15日前
株式会社ミクニ
ベーパセパレータ、ベーパセパレータの製造方法及び船外機
1か月前
株式会社ミクニ
クローズドインペラ、電動ポンプおよびクローズドインペラの製造方法
1か月前
個人
電子部品の実装方法
1か月前
個人
非衝突型ガウス加速器
3か月前
日本精機株式会社
回路基板
2か月前
個人
電気式バーナー
1か月前
愛知電機株式会社
装柱金具
1か月前
日星電気株式会社
面状ヒータ
8日前
キヤノン株式会社
電子機器
2か月前
アイホン株式会社
電気機器
2か月前
日本放送協会
基板固定装置
2か月前
イビデン株式会社
配線基板
1か月前
アイホン株式会社
電気機器
3か月前
メクテック株式会社
配線基板
2か月前
東レ株式会社
霧化状活性液体供給装置
2か月前
個人
静電気中和除去装置
23日前
株式会社デンソー
電子装置
1か月前
イビデン株式会社
プリント配線板
2か月前
株式会社デンソー
電子装置
16日前
サクサ株式会社
筐体の壁掛け構造
2か月前
サクサ株式会社
開き角度規制構造
1か月前
株式会社レクザム
剥離装置
1か月前
FDK株式会社
基板
1か月前
イビデン株式会社
配線基板
2か月前
シャープ株式会社
加熱機器
29日前
新電元工業株式会社
電子装置
2か月前
オムロン株式会社
端子折り曲げ治具
1か月前
日産自動車株式会社
電子機器
2日前
続きを見る
他の特許を見る