TOP
|
特許
|
意匠
|
商標
特許ウォッチ
Twitter
他の特許を見る
10個以上の画像は省略されています。
公開番号
2025158546
公報種別
公開特許公報(A)
公開日
2025-10-17
出願番号
2024061197
出願日
2024-04-05
発明の名称
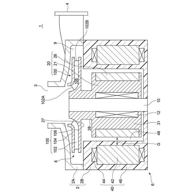
クローズドインペラ、電動ポンプおよびクローズドインペラの製造方法
出願人
株式会社ミクニ
代理人
SSIP弁理士法人
主分類
F04D
29/22 20060101AFI20251009BHJP(液体用容積形機械;液体または圧縮性流体用ポンプ)
要約
【課題】クローズドインペラの構成材料の制約を緩和可能であり、かつ、シュラウド-ハブ間のギャップを高精度に管理可能であるクローズドインペラ、電動ポンプ、および、クローズドインペラの製造方法を提供する。
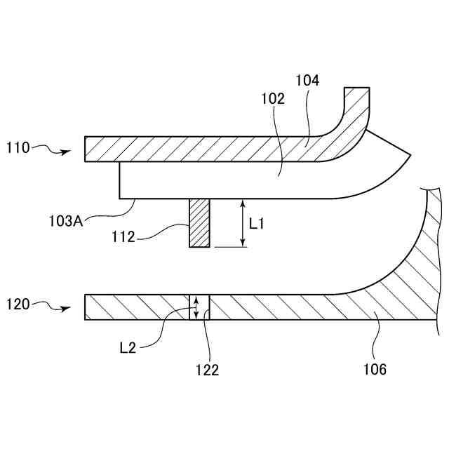
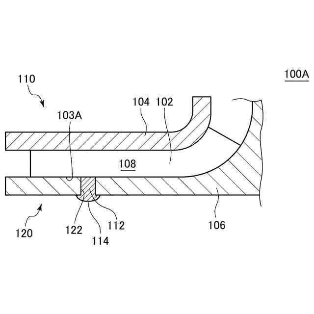
【解決手段】クローズドインペラ100(100A~100C)は、ブレード102と、ブレード102を覆うシュラウド104と、軸方向においてブレード102を挟んでシュラウド104の反対側に位置するハブ106と、を備える。シュラウド104又はハブ106の一方を含む第1部品110は、カシメ用凸部112を有する。シュラウド104又はハブ106の他方を含む第2部品120は、第1部品110のカシメ用凸部112を受け入れるための開口122を有する。第1部品110は、カシメ用凸部112のうち開口122の外に突出した部分がカシメにより変形して形成された抜け止め部114を有する。
【選択図】図2A
特許請求の範囲
【請求項1】
ブレードと、
前記ブレードを覆うシュラウドと、
軸方向において前記ブレードを挟んで前記シュラウドの反対側に位置するハブと、
を備え、
前記シュラウド又は前記ハブの一方を含む第1部品は、カシメ用凸部を有し、
前記シュラウド又は前記ハブの他方を含む第2部品は、前記第1部品の前記カシメ用凸部を受け入れるための開口を有し、
前記第1部品は、前記カシメ用凸部のうち前記開口の外に突出した部分がカシメにより変形して形成された抜け止め部を有する
クローズドインペラ。
続きを表示(約 1,200 文字)
【請求項2】
前記抜け止め部は、前記第2部品を挟んで、前記シュラウドと前記ハブとの間の流路空間の反対側に位置する請求項1に記載のクローズドインペラ。
【請求項3】
前記抜け止め部は、前記第2部品としての前記シュラウドを挟んで前記流路空間の反対側に位置する請求項2に記載のクローズドインペラ。
【請求項4】
前記ブレードは、前記シュラウド又は前記ハブの何れかに一体的に設けられる
請求項1又は2に記載のクローズドインペラ。
【請求項5】
前記カシメ用凸部を有する前記第1部品は樹脂製であり、
前記第2部品は金属製である
請求項1又は2に記載のクローズドインペラ。
【請求項6】
前記第1部品は、前記ブレードおよび前記ハブを含む樹脂部品であり、
前記第2部品としての前記シュラウドは、前記ハブよりも薄い板厚を有する金属プレス品である請求項1又は2に記載のクローズドインペラ。
【請求項7】
前記第1部品は前記ブレードを含み、
前記カシメ用凸部は、前記ブレードの前記第2部品との当接面に設けられる
請求項1又は2に記載のクローズドインペラ。
【請求項8】
前記第2部品は前記ブレードを含み、
前記第1部品は、前記シュラウドと前記ハブとの間の流路空間内において前記ブレードの後縁に隣接するように前記第2部品に向かって突出する整流部を有し、
前記カシメ用凸部は、前記整流部の前記第2部品との当接面に設けられる
請求項1又は2に記載のクローズドインペラ。
【請求項9】
支持軸と、
インペラおよびマグネットを含み、前記支持軸の径方向外側において前記支持軸によって支持されるロータと、
前記マグネットとの間に磁気ギャップを隔てて配置されるステータコアを含み、前記磁気ギャップの形成範囲内において空隙を隔てて前記ロータと非接触で対向するステータと、
を備え、
前記インペラは、請求項1又は2に記載のクローズドインペラにより構成される
電動ポンプ。
【請求項10】
ブレードと、
前記ブレードを覆うシュラウドと、
軸方向において前記ブレードを挟んで前記シュラウドの反対側に位置するハブと、
を含むクローズドインペラの製造方法であって、
前記シュラウド又は前記ハブの一方を含む第1部品のカシメ用凸部を、前記シュラウド又は前記ハブの他方を含む第2部品の開口に嵌入し、
前記カシメ用凸部のうち前記開口の外に突出した部分をカシメにより変形させて抜け止め部を形成し、前記第1部品と前記第2部品とを結合する
クローズドインペラの製造方法。
発明の詳細な説明
【技術分野】
【0001】
本開示は、クローズドインペラ、電動ポンプおよびクローズドインペラの製造方法に関する。
続きを表示(約 1,300 文字)
【背景技術】
【0002】
従来から、ブレードがシュラウドに覆われたクローズドインペラが知られている。
【0003】
例えば特許文献1には、自動車の冷却系等に使用される電動流体ポンプに用いられるインペラとして、羽根(ブレード)とシュラウドとを溶着により結合した樹脂製のクローズドインペラが記載されている。
【0004】
また、特許文献2には、車両熱管理システムのポンプに用いられるインペラとして、翼板(ブレード)と下方プレート(ハブ)とを超音波溶接により組み立てたクローズドインペラが記載されている。
【先行技術文献】
【特許文献】
【0005】
特開2018-31329号公報
特許第6333313号明細書
【発明の概要】
【発明が解決しようとする課題】
【0006】
しかしながら、溶着及び溶接は基本的に同じ材料間での結合に限定され、例えば金属と樹脂のような異種材料間の結合には使用できない。この点で、クローズドインペラを構成する材料の制約が生じる。
また、特許文献1記載のように、超音波振動装置を用いた溶着によりクローズドインペラを組み立てる場合、ブレードにシュラウドを圧接しながら超音波により生じる熱を利用して樹脂を溶融させる。この際、樹脂溶融量にばらつきが生じるため、組み立て後のクローズドインペラのシュラウド-ハブ間のギャップを高精度に管理することが難しく、このインペラを備えたポンプが所望の性能を発揮できない場合がある。
【0007】
上述の事情に鑑みて、本発明の少なくとも幾つかの実施形態は、クローズドインペラの構成材料の制約を緩和可能であり、かつ、シュラウド-ハブ間のギャップを高精度に管理可能であるクローズドインペラ、電動ポンプ、および、クローズドインペラの製造方法を提供することを目的とする。
【課題を解決するための手段】
【0008】
[1]本発明の少なくとも幾つかの実施形態に係るクローズドインペラは、
ブレードと、
ブレードを覆うシュラウドと、
軸方向においてブレードを挟んでシュラウドの反対側に位置するハブと、
を備え、
シュラウド又はハブの一方を含む第1部品は、カシメ用凸部を有し、
シュラウド又はハブの他方を含む第2部品は、第1部品のカシメ用凸部を受け入れるための開口を有し、
第1部品は、カシメ用凸部のうち開口の外に突出した部分がカシメにより変形して形成された抜け止め部を有する。
【0009】
[2]幾つかの実施形態では、上記[1]の構成において、
抜け止め部は、第2部品を挟んで、シュラウドとハブとの間の流路空間の反対側に位置する。
【0010】
[3]幾つかの実施形態では、上記[2]の構成において、
抜け止め部は、第2部品としてのシュラウドを挟んで流路空間の反対側に位置する。
(【0011】以降は省略されています)
この特許をJ-PlatPat(特許庁公式サイト)で参照する
関連特許
株式会社ミクニ
電動ポンプ
1か月前
株式会社ミクニ
電動ポンプ
1か月前
株式会社ミクニ
制御回路ユニット
17日前
株式会社ミクニ
制御回路ユニット
17日前
株式会社ミクニ
制御回路ユニット
17日前
株式会社ミクニ
二次空気供給システム
3日前
株式会社ミクニ
二次空気供給システム
3日前
株式会社ミクニ
インテークマニホールド
2日前
株式会社ミクニ
インテークマニホールド
2日前
株式会社ミクニ
予混合装置および給湯装置
17日前
株式会社ミクニ
エンジンのスロットル装置
1か月前
株式会社ミクニ
メッシュフェンス及びメッシュフェンスの製造方法
1か月前
株式会社ミクニ
クローズドインペラ、電動ポンプおよびクローズドインペラの製造方法
1か月前
個人
海流製造装置。
2か月前
株式会社スギノマシン
圧縮機
1か月前
株式会社ツインバード
送風装置
2か月前
株式会社ツインバード
送風装置
2か月前
日機装株式会社
遠心ポンプ
1か月前
カヤバ株式会社
電動ポンプ
4か月前
カヤバ株式会社
電動ポンプ
1か月前
株式会社不二越
電動油圧ポンプ
2日前
ビッグボーン株式会社
送風装置
3か月前
株式会社不二越
蓄圧装置
4か月前
株式会社不二越
電動油圧ポンプ
2日前
株式会社酉島製作所
ポンプ
5か月前
株式会社ノーリツ
ロータリ圧縮機
3か月前
サンデン株式会社
スクロール圧縮機
2か月前
株式会社不二越
ベーンポンプ
4か月前
小倉クラッチ株式会社
ルーツブロア
4か月前
樫山工業株式会社
真空ポンプ
2か月前
株式会社ノーリツ
ロータリー圧縮機
5か月前
サンデン株式会社
可変容量型圧縮機
1か月前
株式会社坂製作所
スクロール圧縮機
5か月前
サンデン株式会社
スクロール圧縮機
2か月前
サンデン株式会社
スクロール圧縮機
2か月前
株式会社クボタ
作業機
1か月前
続きを見る
他の特許を見る