TOP
|
特許
|
意匠
|
商標
特許ウォッチ
Twitter
他の特許を見る
10個以上の画像は省略されています。
公開番号
2025176388
公報種別
公開特許公報(A)
公開日
2025-12-04
出願番号
2024082506
出願日
2024-05-21
発明の名称
二次空気供給システム
出願人
株式会社ミクニ
代理人
個人
主分類
F02M
35/024 20060101AFI20251127BHJP(燃焼機関;熱ガスまたは燃焼生成物を利用する機関設備)
要約
【課題】二次空気供給システムにおいて、部品点数を抑え、システムの小型化、低コスト化等を図れる構造を提供する。
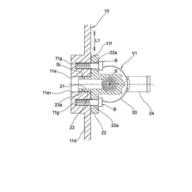
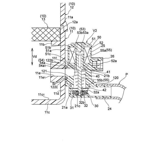
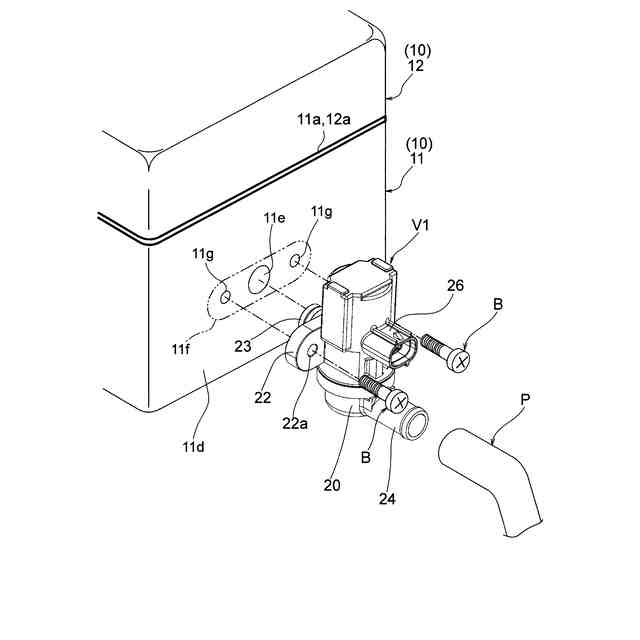
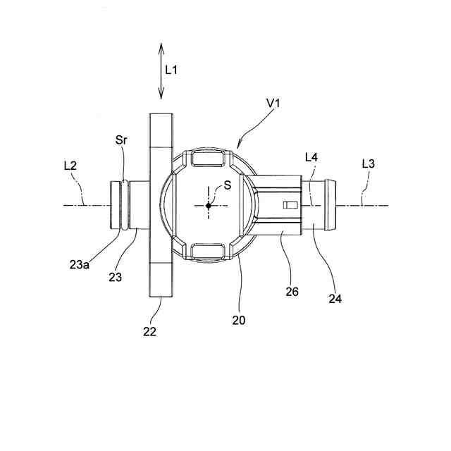
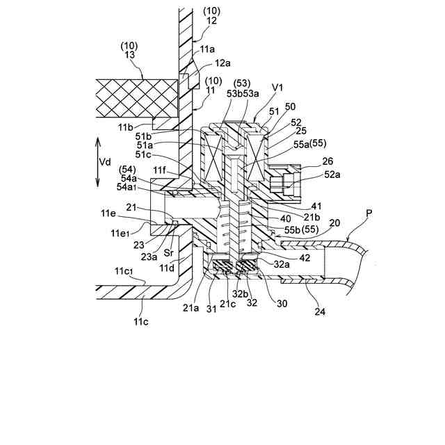
【解決手段】エアクリーナ10内の空気を開閉弁V1の内部通路21を経由して排気通路に供給するエンジンの二次空気供給システムにおいて、エアクリーナ10は、その壁部11dを貫通する貫通路11eを含み、開閉弁V1は、貫通路11eの領域から空気を内部通路21に直接通すべくエアクリーナ10の外壁面に隣接して固定されている。
【選択図】図4
特許請求の範囲
【請求項1】
エアクリーナ内の空気を開閉弁の内部通路を経由して排気通路に供給するエンジンの二次空気供給システムであって、
前記エアクリーナは、その壁部を貫通する貫通路を含み、
前記開閉弁は、前記貫通路の領域から空気を前記内部通路に直接通すべく前記エアクリーナの外壁面に隣接して固定されている、
ことを特徴とする二次空気供給システム。
続きを表示(約 1,200 文字)
【請求項2】
前記貫通路の内部開口端は、鉛直方向において、前記エアクリーナの底面よりも上方に設けられている、
ことを特徴とする請求項1に記載の二次空気供給システム。
【請求項3】
前記内部開口端は、前記壁部の内壁面から内側に突出した位置に形成されている、
ことを特徴とする請求項2に記載の二次空気供給システム。
【請求項4】
前記開閉弁の内部通路と前記排気通路を連通させる配管を含む、
ことを特徴とする請求項1に記載の二次空気供給システム。
【請求項5】
前記開閉弁は、前記内部通路,前記外壁面に固定される固定部,前記配管が接続されるパイプ部を画定する本体と、前記内部通路を開閉する弁体と、前記弁体を駆動する駆動部と、を含む、
ことを特徴とする請求項4に記載の二次空気供給システム。
【請求項6】
前記エアクリーナは、前記貫通路の周りにおいて、前記外壁面に形成されて前記固定部が接合される接合面を含み、
前記本体は、前記内部通路の一部を画定すると共に前記貫通路に嵌合される筒状嵌合部を含み、
前記筒状嵌合部と前記貫通路の間には、シール部材が配置されている、
ことを特徴とする請求項5に記載の二次空気供給システム。
【請求項7】
前記エアクリーナは、前記貫通路の周りにおいて、前記外壁面に形成されて前記固定部が接合される接合面を含み、
前記固定部と前記接合面の間には、シール部材が配置されている、
ことを特徴とする請求項5に記載の二次空気供給システム。
【請求項8】
前記エアクリーナは、前記接合面の領域において、雌ネジ穴を含み、
前記本体は、前記固定部において、前記雌ネジ穴に捩じ込むネジを通す円孔を含み、
前記開閉弁は、前記ネジを前記円孔に通して前記雌ネジ穴に捩じ込むことにより、前記エアクリーナに固定されている、
ことを特徴とする請求項6又は7に記載の二次空気供給システム。
【請求項9】
前記本体は、前記固定部において、タッピンネジを通す円孔を含み、
前記開閉弁は、前記タッピンネジを前記円孔に通して前記エアクリーナの前記接合面の領域に捩じ込むことにより、前記エアクリーナに固定されている、
ことを特徴とする請求項6又は7に記載の二次空気供給システム。
【請求項10】
前記エアクリーナは、前記接合面の周りの領域において、二つの突出嵌合ピンを含み、
前記本体は、前記固定部において、前記突出嵌合ピンを嵌合させる二つの環状弾性部材を含み、
前記開閉弁は、前記突出嵌合ピンを前記環状弾性部材に嵌合させることにより、前記エアクリーナに固定されている、
ことを特徴とする請求項6に記載の二次空気供給システム。
(【請求項11】以降は省略されています)
発明の詳細な説明
【技術分野】
【0001】
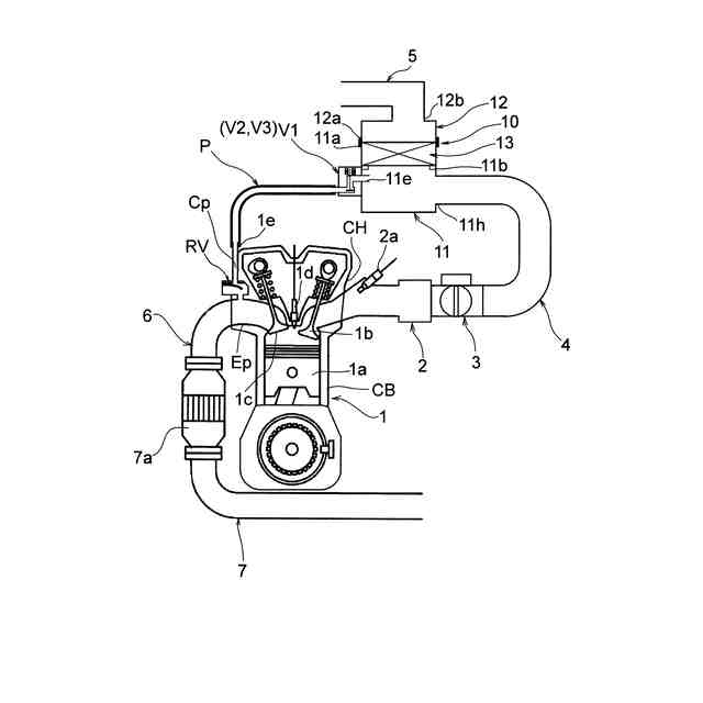
本発明は、車両、特に自動二輪車等に搭載されたエンジンの吸排気系において、エアクリーナを通過した空気を排気通路に供給する二次空気供給システムに関する。
続きを表示(約 1,300 文字)
【背景技術】
【0002】
従来の二次空気供給システムとしては、自動二輪車に搭載のエンジンのエアクリーナと排気管との間において、エアクリーナの外壁に固定された電磁弁(開閉弁)と、エアクリーナの外壁に固定されたリード弁と、エアクリーナと電磁弁を接続して空気を通す上流側の配管と、電磁弁とリード弁を接続して空気を通す中間領域の配管と、リード弁と排気管を接続して空気を通す下流側の配管を備えた構成が知られている(例えば、特許文献1を参照)。
【0003】
この二次空気供給システムにおいては、電磁弁とエアクリーナを専用の配管で接続するため、専用の配管スペースが必要になり、レイアウトの自由度が減り、部品点数及びコストが増加し、配置部品の集約化等も難しくなる。
【0004】
また、他の二次空気供給システムとしては、自動二輪車に搭載のエンジンのエアクリーナと排気管との間において、シリンダヘッドカバーの上面に対向する領域においてエアクリーナに固定された二次空気バルブ(開閉弁)と、二次空気バルブとエアクリーナを接続して空気を通す二次空気導入ホースと、エンジンの排気ポートに連通するべくシリンダヘッドカバーに設けられたコネクタと二次空気バルブを接続して空気を通す二次空気供給ホースを備えた構成が知られている(例えば、特許文献2を参照)。
【0005】
この二次空気供給システムにおいても、前述同様に、二次空気バルブとエアクリーナを専用の配管(二次空気導入ホース)で接続するため、専用の配管スペースが必要になり、レイアウトの自由度が減り、部品点数及びコストが増加し、配置部品の集約化等も難しくなる。
【先行技術文献】
【特許文献】
【0006】
特開2015-180812号公報
特開2010-59923号公報
【発明の概要】
【発明が解決しようとする課題】
【0007】
本発明は、上記の事情に鑑みて成されたものであり、その目的とするところは、部品点数の削減、低コスト化、レイアウトの自由度の増加等を図れる二次空気供給システムを提供することにある。
【課題を解決するための手段】
【0008】
本発明の二次空気供給システムは、エアクリーナ内の空気を開閉弁の内部通路を経由して排気通路に供給するエンジンの二次空気供給システムであって、エアクリーナは、その壁部を貫通する貫通路を含み、開閉弁は、貫通路の領域から空気を内部通路に直接通すべくエアクリーナの外壁面に隣接して固定されている、構成となっている。
【0009】
上記二次空気供給システムにおいて、貫通路の内部開口端は、鉛直方向において、エアクリーナの底面よりも上方に設けられている、構成を採用してもよい。
【0010】
上記二次空気供給システムにおいて、貫通路の内部開口端は、エアクリーナの壁部の内壁面から内側に突出した位置に形成されている、構成を採用してもよい。
(【0011】以降は省略されています)
この特許をJ-PlatPat(特許庁公式サイト)で参照する
関連特許
株式会社ミクニ
電動ポンプ
1か月前
株式会社ミクニ
電動ポンプ
1か月前
株式会社ミクニ
制御回路ユニット
14日前
株式会社ミクニ
制御回路ユニット
14日前
株式会社ミクニ
制御回路ユニット
14日前
株式会社ミクニ
二次空気供給システム
今日
株式会社ミクニ
二次空気供給システム
今日
株式会社ミクニ
予混合装置および給湯装置
14日前
株式会社ミクニ
エンジンのスロットル装置
27日前
株式会社ミクニ
内燃機関の触媒劣化診断装置
3か月前
株式会社ミクニ
メッシュフェンス及びメッシュフェンスの製造方法
27日前
株式会社ミクニ
ベーパセパレータ、ベーパセパレータの製造方法及び船外機
2か月前
株式会社ミクニ
クローズドインペラ、電動ポンプおよびクローズドインペラの製造方法
1か月前
個人
擬似オイル発電装置
20日前
個人
バンケル型内燃機関の改良
1か月前
個人
ガバナー
7日前
スズキ株式会社
車両の制御装置
1か月前
スズキ株式会社
車両の制御装置
1か月前
ダイハツ工業株式会社
発電装置
15日前
株式会社クボタ
作業車
1か月前
株式会社ミクニ
二次空気供給システム
今日
株式会社クボタ
作業車両
1か月前
トヨタ自動車株式会社
車両制御装置
1か月前
トヨタ自動車株式会社
制御装置
14日前
国立大学法人 名古屋工業大学
小型化無振動機構機器
6日前
トヨタ自動車株式会社
燃料噴射制御装置
8日前
トヨタ自動車株式会社
エンジン制御装置
1か月前
トヨタ自動車株式会社
内燃機関の制御装置
27日前
トヨタ自動車株式会社
フレックス燃料車両
27日前
川崎重工業株式会社
ガスタービンエンジン
1か月前
日産自動車株式会社
吸気装置
8日前
トヨタ自動車株式会社
内燃機関の制御装置
14日前
Astemo株式会社
内燃機関の制御装置
14日前
ダイハツ工業株式会社
副燃焼室付きエンジン
6日前
三菱重工業株式会社
燃焼筒の取付方法
1か月前
富士電機株式会社
駆動回路
1か月前
続きを見る
他の特許を見る