TOP
|
特許
|
意匠
|
商標
特許ウォッチ
Twitter
他の特許を見る
公開番号
2025158551
公報種別
公開特許公報(A)
公開日
2025-10-17
出願番号
2024061203
出願日
2024-04-05
発明の名称
電動ポンプ
出願人
株式会社ミクニ
代理人
SSIP弁理士法人
主分類
F04D
13/02 20060101AFI20251009BHJP(液体用容積形機械;液体または圧縮性流体用ポンプ)
要約
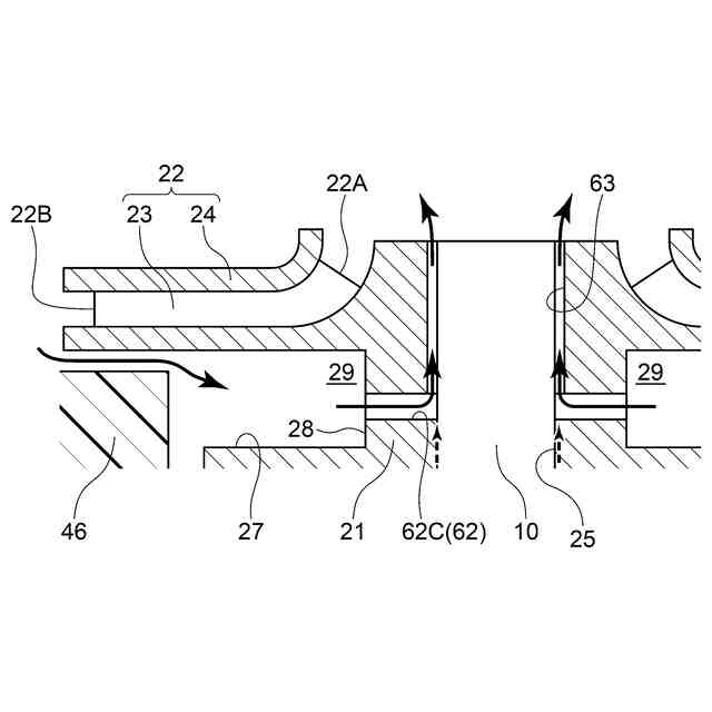
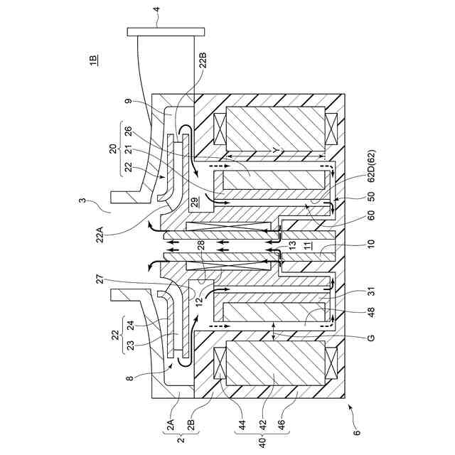
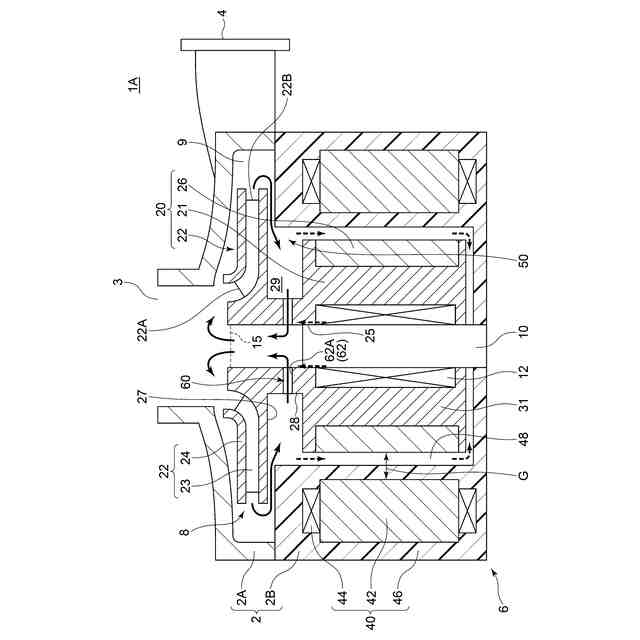
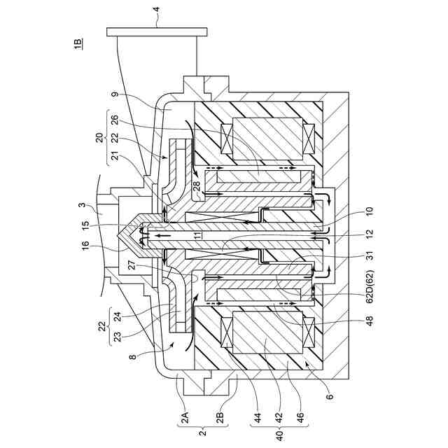
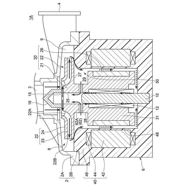
【課題】モータのトルクの向上と、ロータとステータとの間の空隙への異物の噛み込みの抑制とを両立することが可能な電動ポンプを提供する。
【解決手段】電動ポンプ1(1A,1B)は、支持軸10と、インペラ22およびマグネット26を含み、支持軸の径方向外側において支持軸10によって支持されるロータ20と、マグネット26との間に磁気ギャップGを隔てて配置されるステータコア42を含み、磁気ギャップGの形成範囲内において空隙を隔ててロータ20と非接触で対向するステータ40と、インペラ22の吐出口22Bとインペラ22の吸入口22Aとを連通し、インペラ22を通過した流体をインペラ22の吸入口22Aへと戻すためのリターン流路50と、を備える。リターン流路50は、ロータ20とステータ40とを隔てる空隙48をバイパスするように、インペラ22の背面側において空隙48よりも内側の径方向位置に設けられるバイパス路60を含む。
【選択図】図1
特許請求の範囲
【請求項1】
支持軸と、
インペラおよびマグネットを含み、前記支持軸の径方向外側において前記支持軸によって支持されるロータと、
前記マグネットとの間に磁気ギャップを隔てて配置されるステータコアを含み、前記磁気ギャップの形成範囲内において空隙を隔てて前記ロータと非接触で対向するステータと、
前記インペラの吐出口と前記インペラの吸入口とを連通し、前記インペラを通過した流体を前記インペラの前記吸入口へと戻すためのリターン流路と、
を備え、
前記リターン流路は、前記ロータと前記ステータとを隔てる前記空隙をバイパスするように、前記インペラの背面側において前記空隙よりも内側の径方向位置に設けられるバイパス路を含む
電動ポンプ。
続きを表示(約 1,200 文字)
【請求項2】
前記ロータは、軸方向における前記インペラと前記マグネットとの間において、前記インペラの外周面および前記マグネットの外周面よりも径方向内側にくびれたネックを有し、
前記ネックは、前記空隙に連通するキャビティを前記インペラの背面側に画定し、
前記バイパス路は、前記キャビティに開口するように前記ロータに形成された内部流路を含む
請求項1に記載の電動ポンプ。
【請求項3】
前記ロータは、
前記支持軸が挿入される中空部と、
前記ネックを貫通して前記キャビティを前記中空部に連通させる第1貫通孔と、
を含み、
前記バイパス路は、前記内部流路としての前記第1貫通孔を含む
請求項2に記載の電動ポンプ。
【請求項4】
前記支持軸は、前記第1貫通孔の前記中空部への開口が少なくとも部分的に開放されるように、前記中空部の途中で途切れる
請求項3に記載の電動ポンプ。
【請求項5】
前記第1貫通孔の前記中空部への開口位置を挟んで軸方向にて前記インペラの反対側に位置し、前記ロータを前記支持軸に回転可能に支持するための軸受を備える
請求項3又は4に記載の電動ポンプ。
【請求項6】
前記ロータは、
前記ネックよりも外径が大きく、軸方向において前記ネックを挟んで前記インペラとは反対側に位置して前記マグネットを外周側に保持するショルダと、
前記空隙の径方向内側を通過するように前記ショルダを貫通する第2貫通孔と、
を含み、
前記バイパス路は、前記内部流路としての前記第2貫通孔を含む
請求項2に記載の電動ポンプ。
【請求項7】
前記ロータを前記支持軸に回転可能に支持するための軸受を備え、
前記第2貫通孔は、前記空隙の径方向内側を通過し、前記空隙の下流側かつ前記軸受と前記支持軸との間の軸受隙間の上流側に前記キャビティを連通させる
請求項6に記載の電動ポンプ。
【請求項8】
前記支持軸は、前記支持軸を貫通するように前記支持軸の軸方向に沿って延在する軸方向流路を有し、
前記リターン流路は、
前記第2貫通孔と、
前記第2貫通孔に連通する前記支持軸の前記軸方向流路と、
を含む
請求項6又は7に記載の電動ポンプ。
【請求項9】
前記電動ポンプを制御するための電子部品が搭載された基板と、
前記ステータ及び前記ロータが収容されるポンプモータ室と、前記基板が収容される基板室とを隔てる隔壁部と、
を備え、
前記ロータに面する前記隔壁部の壁面は、前記第2貫通孔を通過した前記流体を前記軸方向流路に導くための中間流路を形成する
請求項8に記載の電動ポンプ。
発明の詳細な説明
【技術分野】
【0001】
本開示は、電動ポンプに関する。
続きを表示(約 1,600 文字)
【背景技術】
【0002】
従来から、流体を昇圧させるインペラと、インペラを回転させるためのモータ部とを同一ケーシング内に配置した電動ポンプが知られている。
この種の電動ポンプでは、インペラおよびマグネットを含むロータと、マグネットとの間に磁気ギャップを隔てて配置されるステータコアを含むステータとが、ポンプ室と連通する空隙を隔てて対向する。
【0003】
例えば、特許文献1には、ケーシングに固定された軸部材と、軸部材の外側に挿入される軸受部と、インペラが固定されるロータとを含む電動ポンプが記載されている。
特許文献1記載の電動ポンプは、例えば軸受部の潤滑やモータ部の冷却を目的として、インペラ通過後の流体の一部をケーシング内で循環させるようになっている。具体的には、軸受部とロータとの間に排出路が設けられ、インペラを通過した流体の一部は、ロータとステータとの間の空隙を経由してこの排出路に流入した後、インペラの吸入口に戻される。
【先行技術文献】
【特許文献】
【0004】
特開2016-23635号公報
【発明の概要】
【発明が解決しようとする課題】
【0005】
一般に、モータのトルクを向上させる観点から、マグネットとステータコアとの間の磁気ギャップは狭いことが望ましい。
しかしながら、特許文献1記載の電動ポンプのように、インペラ通過後の流体の一部をケーシング内で循環させる場合、循環流体に随伴する異物がロータとステータとの間の空隙に噛み込んでしまうリスクがある。このため、ロータとステータとの間の空隙を十分に確保する必要があり、マグネットとステータコアとの間の磁気ギャップを狭くすることが難しい。
【0006】
上述の事情に鑑みて、本発明の少なくとも幾つかの実施形態は、モータのトルクの向上と、ロータとステータとの間の空隙への異物の噛み込みの抑制とを両立することが可能な電動ポンプを提供することを目的とする。
【課題を解決するための手段】
【0007】
[1]本発明の少なくとも幾つかの実施形態に係る電動ポンプは、
支持軸と、
インペラおよびマグネットを含み、支持軸の径方向外側において支持軸によって支持されるロータと、
マグネットとの間に磁気ギャップを隔てて配置されるステータコアを含み、磁気ギャップの形成範囲内において空隙を隔ててロータと非接触で対向するステータと、
インペラの吐出口とインペラの吸入口とを連通し、インペラを通過した流体をインペラの吸入口へと戻すためのリターン流路と、
を備え、
リターン流路は、ロータとステータとを隔てる空隙をバイパスするように、インペラの背面側において空隙よりも内側の径方向位置に設けられるバイパス路を含む。
【0008】
[2]幾つかの実施形態では、上記[1]の構成において、
ロータは、軸方向におけるインペラとマグネットとの間において、インペラの外周面およびマグネットの外周面よりも径方向内側にくびれたネックを有し、
ネックは、空隙に連通するキャビティをインペラの背面側に画定し、
バイパス路は、キャビティに開口するようにロータに形成された内部流路を含む。
【0009】
[3]幾つかの実施形態では、上記[2]の構成において、
ロータは、
支持軸が挿入される中空部と、
ネックを貫通してキャビティを中空部に連通させる第1貫通孔と、
を含み、
バイパス路は、内部流路としての第1貫通孔を含む。
【0010】
[4]幾つかの実施形態では、上記[3]の構成において、
支持軸は、第1貫通孔の中空部への開口が少なくとも部分的に開放されるように、中空部の途中で途切れる。
(【0011】以降は省略されています)
この特許をJ-PlatPat(特許庁公式サイト)で参照する
関連特許
株式会社ミクニ
電動ポンプ
1か月前
株式会社ミクニ
電動ポンプ
1か月前
株式会社ミクニ
制御回路ユニット
15日前
株式会社ミクニ
制御回路ユニット
15日前
株式会社ミクニ
制御回路ユニット
15日前
株式会社ミクニ
二次空気供給システム
1日前
株式会社ミクニ
二次空気供給システム
1日前
株式会社ミクニ
インテークマニホールド
今日
株式会社ミクニ
インテークマニホールド
今日
株式会社ミクニ
予混合装置および給湯装置
15日前
株式会社ミクニ
エンジンのスロットル装置
28日前
株式会社ミクニ
メッシュフェンス及びメッシュフェンスの製造方法
28日前
株式会社ミクニ
クローズドインペラ、電動ポンプおよびクローズドインペラの製造方法
1か月前
個人
海流製造装置。
2か月前
株式会社スギノマシン
圧縮機
1か月前
株式会社ツインバード
送風装置
2か月前
株式会社ツインバード
送風装置
2か月前
日機装株式会社
遠心ポンプ
1か月前
カヤバ株式会社
電動ポンプ
3か月前
カヤバ株式会社
電動ポンプ
28日前
株式会社不二越
蓄圧装置
4か月前
株式会社不二越
電動油圧ポンプ
今日
株式会社不二越
電動油圧ポンプ
今日
ビッグボーン株式会社
送風装置
3か月前
株式会社ノーリツ
ロータリ圧縮機
3か月前
小倉クラッチ株式会社
ルーツブロア
4か月前
株式会社不二越
ベーンポンプ
4か月前
サンデン株式会社
スクロール圧縮機
2か月前
サンデン株式会社
可変容量型圧縮機
1か月前
サンデン株式会社
スクロール圧縮機
2か月前
サンデン株式会社
スクロール圧縮機
2か月前
樫山工業株式会社
真空ポンプ
1か月前
株式会社坂製作所
スクロール圧縮機
5か月前
株式会社ノーリツ
ロータリー圧縮機
5か月前
株式会社豊田自動織機
流体機械
3か月前
株式会社アイシン
ポンプケース
2か月前
続きを見る
他の特許を見る