TOP
|
特許
|
意匠
|
商標
特許ウォッチ
Twitter
他の特許を見る
10個以上の画像は省略されています。
公開番号
2025167107
公報種別
公開特許公報(A)
公開日
2025-11-07
出願番号
2024071411
出願日
2024-04-25
発明の名称
エンジンのスロットル装置
出願人
株式会社ミクニ
代理人
弁理士法人相原国際知財事務所
主分類
F02D
9/10 20060101AFI20251030BHJP(燃焼機関;熱ガスまたは燃焼生成物を利用する機関設備)
要約
【課題】部品点数を増加させることなく、簡単な操作で圧力検出用ホース等の中間箇所を拘束でき、これにより製造コストを低減できるエンジンのスロットル装置を提供する。
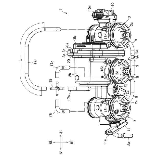
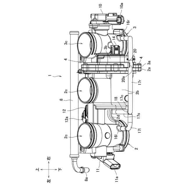
【解決手段】スロットルボア2c,3c内でスロットル軸5によりスロットル弁6が開閉可能に支持された主スロットルボディ2及び副スロットルボディ3と、一端が副スロットルボディ3のスロットルボア3cに接続された右圧力検出用ホース17rと、副スロットルボディ3に一体形成されて右圧力検出用ホース17rの中間箇所を固定するホース保持部20とを備えた。
【選択図】図1
特許請求の範囲
【請求項1】
スロットルボア内でスロットル軸によりスロットル弁が開閉可能に支持されたスロットルボディと、
一端が前記スロットルボアに接続されたホースと、
前記スロットルボディに一体形成されて前記ホースの中間箇所を固定するホース保持部と、
を備えたことを特徴とするエンジンのスロットル装置。
続きを表示(約 1,300 文字)
【請求項2】
前記ホース保持部は、側方に向けて開口する断面形状をなす環状溝が形成され、
前記ホースは、変形を伴って前記環状溝の開口を経て前記環状溝内に嵌め込まれている
ことを特徴とする請求項1に記載のエンジンのスロットル装置。
【請求項3】
前記環状溝は、車両加速度及びエンジン振動の主成分と略直交する方向に開口している
ことを特徴とする請求項2に記載のエンジンのスロットル装置。
【請求項4】
前記スロットルボディは、複数の前記スロットルボアを有し、
前記ホースは、一端が前記複数のスロットルボアにそれぞれ接続されると共に、他端が接手部材を介して互いに接続され、
前記ホース保持部は、前記接手部材を固定している
ことを特徴とする請求項1に記載のエンジンのスロットル装置。
【請求項5】
前記スロットルボディは、成形用金型で成形された成形品であり、
前記ホース保持部は、前記成形用金型の型抜きが可能な前記スロットルボディ上の位置に、前記成形用金型の型抜きが可能な形状で形成されている
ことを特徴とする請求項1に記載のエンジンのスロットル装置。
【請求項6】
前記スロットルボディは、前記スロットルボアをそれぞれ有する第1スロットルボディと第2スロットルボディとからなり、
前記第1スロットルボディと前記第2スロットルボディとは、それぞれに形成されたフランジ部が互いに重ねられた姿勢で結合され、
前記ホース保持部は、前記第1スロットルボディと前記第2スロットルボディとの少なくとも何れかの前記フランジ部上に形成されている
ことを特徴とする請求項1に記載のエンジンのスロットル装置。
【請求項7】
前記ホースは、前記スロットルボア内と吸気圧センサとを連通させて、前記スロットルボア内の吸気圧を前記吸気圧センサに伝達する圧力検出用ホースである
ことを特徴とする請求項1に記載のエンジンのスロットル装置。
【請求項8】
前記ホースは、前記スロットルボア内とチャコールキャニスターとを連通させて、前記チャコールキャニスターに吸着された蒸散ガスを前記スロットルボア内に案内するエバポレータホースである
ことを特徴とする請求項1に記載のエンジンのスロットル装置。
【請求項9】
前記圧力検出用ホースは、前記スロットルボディの下側を経て前記吸気圧センサへと配索され、前記ホース保持部の固定により弛みを防止されると共に、水平に保たれた水平最下領域が最下部に形成されている
ことを特徴とする請求項7に記載のエンジンのスロットル装置。
【請求項10】
前記スロットルボディは、下方に凹状をなす逃げ部が形成され、
前記圧力検出用ホースは、前記逃げ部の下側を経て前記吸気圧センサへと配索されている
ことを特徴とする請求項9に記載のエンジンのスロットル装置。
発明の詳細な説明
【技術分野】
【0001】
本発明は、エンジンのスロットル装置に関する。
続きを表示(約 1,400 文字)
【背景技術】
【0002】
エンジンのスロットル装置は、エンジンの各気筒に対応してスロットルボディにスロットルボアを貫設し、各スロットルボア内にスロットル軸により開閉可能にスロットル弁を支持してなる。スロットルボディ上には各スロットルボアに対応して燃料噴射弁を配設し、燃料供給管を経て各燃料噴射弁に燃料を供給している。エンジンの運転中には、スロットル弁の開度に応じて吸気がスロットルボア内を流通し、燃料噴射弁から噴射された燃料と混合した混合気としてエンジンの各気筒に供給され、これによりエンジンが運転される。
【0003】
各スロットルボアには、種々の用途のホースが接続されている。例えばエンジンの燃料噴射制御のために吸気圧に関する情報を必要とする場合には、各スロットルボアの圧力取出し用ニップルに圧力検出用ホースの一端が接続され、各ホースは互いに集合して他端が共通の吸気圧センサに接続される。各スロットルボア内を流通する吸気の圧力は圧力検出用ホースを介して吸気圧センサに伝達されて吸気圧として検出される。
【0004】
圧力検出用ホースの一端は各スロットルボアの圧力取出し用ニップルと接続され、他端は吸気圧センサと接続されてそれぞれ拘束されているが、それ以外の中間箇所も拘束する必要がある。ホースの中間箇所が拘束されずに弛んでいる場合、加減速や旋回に伴う車両加速度及びエンジン振動を受けて中間箇所が揺動し、周辺部品との頻繁な接触により損傷してしまうためである。その対策として、例えば特許文献1の技術では、圧力検出用ホースの中間箇所を燃料供給管に対し複数のバンドクランプにより固定している。
【先行技術文献】
【特許文献】
【0005】
特開2007-64068公報
【発明の概要】
【発明が解決しようとする課題】
【0006】
しかしながら、特許文献1の技術では、圧力検出用ホースの中間箇所を固定するためにバンドクランプを用いるため、スロットル装置の部品点数が増加してしまうという問題がある。
【0007】
また、環状をなすバンドクランプを用いた固定では、その内部に圧力検出用ホースを挿通した上でクランプする必要があり、固定のための操作が煩雑である。このため、上記した部品点数の増加と相俟ってスロットル装置の製造コストを高騰させる要因になっていた。
【0008】
本発明はこのような問題点を解決するためになされたもので、その目的とするところは、部品点数を増加させることなく、簡単な操作で圧力検出用ホース等の中間箇所を拘束でき、これにより製造コストを低減することができるエンジンのスロットル装置を提供することにある。
【課題を解決するための手段】
【0009】
上記の目的を達成するため、本発明のエンジンのスロットル装置は、スロットルボア内でスロットル軸によりスロットル弁が開閉可能に支持されたスロットルボディと、一端がスロットルボアに接続されたホースと、スロットルボディに一体形成されてホースの中間箇所を固定するホース保持部と、を備えたことを特徴とする。
【0010】
その他の態様として、ホース保持部に、側方に向けて開口する断面形状をなす環状溝が形成され、ホースが、変形を伴って環状溝の開口を経て環状溝内に嵌め込まれていてもよい。
(【0011】以降は省略されています)
この特許をJ-PlatPat(特許庁公式サイト)で参照する
関連特許
株式会社ミクニ
電動ポンプ
1か月前
株式会社ミクニ
電動ポンプ
1か月前
株式会社ミクニ
制御回路ユニット
16日前
株式会社ミクニ
制御回路ユニット
16日前
株式会社ミクニ
制御回路ユニット
16日前
株式会社ミクニ
二次空気供給システム
2日前
株式会社ミクニ
二次空気供給システム
2日前
株式会社ミクニ
インテークマニホールド
1日前
株式会社ミクニ
インテークマニホールド
1日前
株式会社ミクニ
予混合装置および給湯装置
16日前
株式会社ミクニ
エンジンのスロットル装置
29日前
株式会社ミクニ
メッシュフェンス及びメッシュフェンスの製造方法
29日前
株式会社ミクニ
クローズドインペラ、電動ポンプおよびクローズドインペラの製造方法
1か月前
個人
擬似オイル発電装置
22日前
個人
ガバナー
9日前
スズキ株式会社
車両の制御装置
1か月前
スズキ株式会社
車両の制御装置
1か月前
ダイハツ工業株式会社
発電装置
17日前
株式会社クボタ
作業車
1か月前
株式会社ミクニ
二次空気供給システム
2日前
トヨタ自動車株式会社
制御装置
1日前
株式会社クボタ
作業車両
1か月前
株式会社ミクニ
インテークマニホールド
1日前
株式会社ミクニ
インテークマニホールド
1日前
トヨタ自動車株式会社
車両制御装置
1か月前
トヨタ自動車株式会社
制御装置
16日前
トヨタ自動車株式会社
燃料噴射制御装置
10日前
トヨタ自動車株式会社
エンジン制御装置
1か月前
国立大学法人 名古屋工業大学
小型化無振動機構機器
8日前
トヨタ自動車株式会社
内燃機関の制御装置
29日前
Astemo株式会社
内燃機関の制御装置
16日前
トヨタ自動車株式会社
内燃機関の制御装置
16日前
川崎重工業株式会社
ガスタービンエンジン
1か月前
日産自動車株式会社
吸気装置
10日前
トヨタ自動車株式会社
フレックス燃料車両
29日前
ダイハツ工業株式会社
副燃焼室付きエンジン
8日前
続きを見る
他の特許を見る