TOP
|
特許
|
意匠
|
商標
特許ウォッチ
Twitter
他の特許を見る
10個以上の画像は省略されています。
公開番号
2025177598
公報種別
公開特許公報(A)
公開日
2025-12-05
出願番号
2024084590
出願日
2024-05-24
発明の名称
インテークマニホールド
出願人
株式会社ミクニ
代理人
個人
主分類
F02M
35/104 20060101AFI20251128BHJP(燃焼機関;熱ガスまたは燃焼生成物を利用する機関設備)
要約
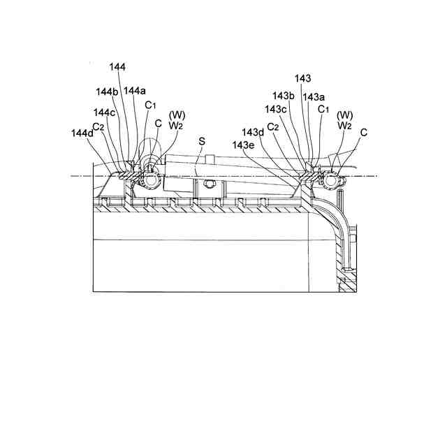
【課題】構造の簡素化、金型による成形の容易化等を図りつつ、ワイヤーハーネスや配管等の配線部材を保持するクリップの誤組付けを防止できるインテークマニホールドを提供する。
【解決手段】サージタンクSt及び複数の分岐管Bpを画定する壁部110と、壁部から平板状に突出すると共に挿入孔143cを有する突出片143を備え、挿入孔の周りにおいて突出片に着座する鍔部C
1
及び挿入孔に挿入される挿入部C
2
を有するクリップCを用いて壁部の外側に配線部材Wが保持されるべく、樹脂材料を用いて成型されたインテークマニホールドにおいて、突出片143は、一方側の第1面143aにおいてクリップの鍔部C
1
の着座を許容し、他方側の第2面143bにおいて鍔部C
1
の着座を阻止する阻止部143dを含む。
【選択図】図12
特許請求の範囲
【請求項1】
サージタンク及び複数の分岐管を画定する壁部と、前記壁部から平板状に突出すると共に挿入孔を有する突出片とを備え、前記挿入孔の周りにおいて前記突出片に着座する鍔部及び前記挿入孔に挿入される挿入部を有するクリップを用いて前記壁部の外側に配線部材が保持されるべく、樹脂材料を用いて成型されたインテークマニホールドであって、
前記突出片は、一方側の第1面において前記クリップの鍔部の着座を許容し、他方側の第2面において前記鍔部の着座を阻止する阻止部を含む、
ことを特徴とするインテークマニホールド。
続きを表示(約 1,000 文字)
【請求項2】
前記鍔部は、円形の外輪郭をなし、
前記阻止部は、少なくとも一部が前記外輪郭の外径よりも前記挿入孔に近づく位置に形成されている、
ことを特徴とする請求項1に記載のインテークマニホールド。
【請求項3】
前記阻止部は、前記突出片の突出方向に伸長する突条をなす、
ことを特徴とする請求項1に記載のインテークマニホールド。
【請求項4】
前記阻止部は、前記壁部から前記突出片の突出方向に伸長する補強リブをなす、
ことを特徴とする請求項1に記載のインテークマニホールド。
【請求項5】
前記阻止部は、前記壁部の外壁面から突出する格子状補強リブの一部を兼ねる、
ことを特徴とする請求項1に記載のインテークマニホールド。
【請求項6】
前記突出片は、両縁の少なくとも一方縁において、前記壁部から前記突出片の突出方向に先細り状に伸長する補強リブを含む、
ことを特徴とする請求項1に記載のインテークマニホールド。
【請求項7】
前記配線部材は、ワイヤーハーネスである、
ことを特徴とする請求項1に記載のインテークマニホールド。
【請求項8】
前記突出片の挿入孔は、その内径に対応する小径円柱部,前記小径円柱部よりの大径の大径円柱部,及び前記小径円柱部と前記大径円柱部の境界において円環状平坦面を有する抜きピンを用いて、金型により成形された成形孔である、
ことを特徴とする請求項1に記載のインテークマニホールド。
【請求項9】
前記突出片と対向して配置された対向壁部を含み、
前記突出片は、前記対向壁部と前記第2面が対向するように形成されている、
ことを特徴とする請求項1ないし7いずれか一つに記載のインテークマニホールド。
【請求項10】
前記対向壁部は、前記壁部から平板状に突出すると共に挿入孔を有する対向突出片を含み、
前記対向突出片は、前記突出片の前記第2面と対向する第3面において前記クリップの鍔部の着座を許容し、前記第3面と反対側の第4面の両縁の少なくとも一方縁において前記クリップに保持される配線部材が干渉して誤組付けを規制する規制部を含む、
ことを特徴とする請求項9に記載のインテークマニホールド。
(【請求項11】以降は省略されています)
発明の詳細な説明
【技術分野】
【0001】
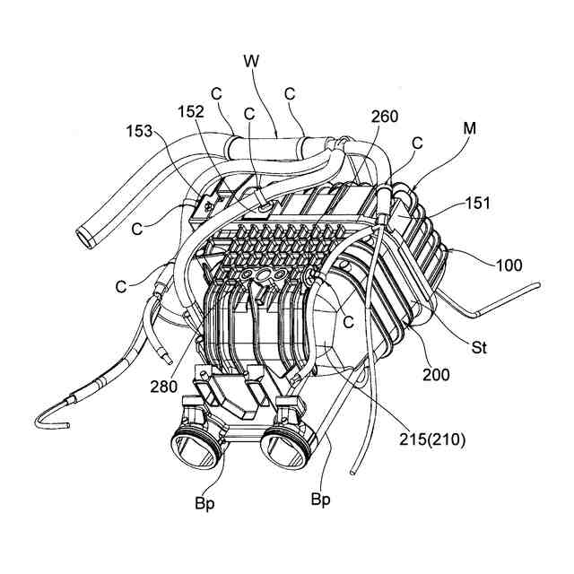
本発明は、エンジンの吸気系に適用される樹脂製のインテークマニホールドに関し、特に、ワイヤーハーネスやホース等の配線部材を保持するクリップを外壁に固定する突出片が一体成形されたインテークマニホールドに関する。
続きを表示(約 1,500 文字)
【背景技術】
【0002】
従来のインテークマニホールドとしては、略円筒状をなすと共に外壁から突出する二つの突出片が一体的に成形されたコレクタ部と、コレクタ部からエンジンのシリンダヘッドに吸気を導入するブランチ部を備えた樹脂材料からなる吸気装置が知られている(例えば、特許文献1を参照)。
【0003】
この吸気装置において、二つの突出片は、外壁から薄板状に突出して形成されると共に挿入孔を備えている。そこで、ワイヤーハーネスを外壁に沿うように配線して固定するべく、クリップ(ハーネスクリップ)を突出片の挿入孔に挿入して取り付ける場合、クリップの挿入部は突出片の一側面及び他側面のいずれからも突出片の挿入孔に嵌め込むことができる形態となっている。したがって、ワイヤーハーネスの配線レイアウトに基づいてクリップを取り付ける向きが予め設定されていても、クリップの誤組付けにより、ワイヤーハーネスを間違った位置に取り付ける虞がある。
【0004】
また、他のインテークマニホールドとしては、吸気導入口から湾曲して伸長する複数の吸気ブランチを備え、吸気ブランチの配列方向の二箇所において外壁から下方へ舌状に張り出す二つの突起部が一体的に成形され、突起部には、冷却水配管を保持するクリップが挿入される取付孔が設けられた樹脂材料からなるインテークマニホールドが知られている(例えば、特許文献2を参照)。
【0005】
このインテークマニホールドにおいて、突起部の両側には障害物等が無いため、クリップは、突起部の一側面及び他側面のいずれからも取付孔に挿入することができる形態となっている。したがって、冷却水配管のレイアウトに基づいてクリップを取り付ける向きが予め設定されていても、クリップの誤組付けにより、冷却水配管を間違った位置に配管して取り付ける虞がある。
【先行技術文献】
【特許文献】
【0006】
特開2003-120467号公報
国際公開第2013/190883号
【発明の概要】
【発明が解決しようとする課題】
【0007】
本発明は、上記の事情に鑑みて成されたものであり、その目的とするところは、構造の簡素化、金型による成形の容易化等を図りつつ、ワイヤーハーネスや配管等の配線部材を保持するクリップの誤組付けを防止できる、インテークマニホールドを提供することにある。
【課題を解決するための手段】
【0008】
本発明のインテークマニホールドは、サージタンク及び複数の分岐管を画定する壁部と、壁部から平板状に突出すると共に挿入孔を有する突出片とを備え、挿入孔の周りにおいて突出片に着座する鍔部及び挿入孔に挿入される挿入部を有するクリップを用いて壁部の外側に配線部材が保持されるべく、樹脂材料を用いて成型されたインテークマニホールドであって、突出片は、一方側の第1面においてクリップの鍔部の着座を許容し、他方側の第2面において鍔部の着座を阻止する阻止部を含む、構成となっている。
【0009】
上記インテークマニホールドにおいて、クリップの鍔部は、円形の外輪郭をなし、阻止部は、少なくとも一部が鍔部の外輪郭の外径よりも挿入孔に近づく位置に形成されている、構成を採用してもよい。
【0010】
上記インテークマニホールドにおいて、阻止部は、突出片の突出方向に伸長する突条をなす、構成を採用してもよい。
(【0011】以降は省略されています)
この特許をJ-PlatPat(特許庁公式サイト)で参照する
関連特許
株式会社ミクニ
電動ポンプ
1か月前
株式会社ミクニ
電動ポンプ
1か月前
株式会社ミクニ
制御回路ユニット
15日前
株式会社ミクニ
制御回路ユニット
15日前
株式会社ミクニ
制御回路ユニット
15日前
株式会社ミクニ
二次空気供給システム
1日前
株式会社ミクニ
二次空気供給システム
1日前
株式会社ミクニ
インテークマニホールド
今日
株式会社ミクニ
インテークマニホールド
今日
株式会社ミクニ
予混合装置および給湯装置
15日前
株式会社ミクニ
エンジンのスロットル装置
28日前
株式会社ミクニ
メッシュフェンス及びメッシュフェンスの製造方法
28日前
株式会社ミクニ
クローズドインペラ、電動ポンプおよびクローズドインペラの製造方法
1か月前
個人
擬似オイル発電装置
21日前
個人
ガバナー
8日前
ダイハツ工業株式会社
発電装置
16日前
株式会社ミクニ
二次空気供給システム
1日前
トヨタ自動車株式会社
制御装置
今日
株式会社ミクニ
インテークマニホールド
今日
株式会社ミクニ
インテークマニホールド
今日
トヨタ自動車株式会社
制御装置
15日前
国立大学法人 名古屋工業大学
小型化無振動機構機器
7日前
トヨタ自動車株式会社
エンジン制御装置
1か月前
トヨタ自動車株式会社
燃料噴射制御装置
9日前
Astemo株式会社
内燃機関の制御装置
15日前
日産自動車株式会社
吸気装置
9日前
トヨタ自動車株式会社
内燃機関の制御装置
15日前
トヨタ自動車株式会社
内燃機関の制御装置
28日前
トヨタ自動車株式会社
フレックス燃料車両
28日前
川崎重工業株式会社
ガスタービンエンジン
1か月前
ダイハツ工業株式会社
副燃焼室付きエンジン
7日前
トヨタ自動車株式会社
水素エンジンの制御装置
1か月前
富士電機株式会社
駆動回路
1か月前
トヨタ自動車株式会社
車両制御装置
2日前
ヤンマーホールディングス株式会社
エンジン装置
8日前
愛三工業株式会社
燃料ポンプ
今日
続きを見る
他の特許を見る