TOP
|
特許
|
意匠
|
商標
特許ウォッチ
Twitter
他の特許を見る
公開番号
2025163981
公報種別
公開特許公報(A)
公開日
2025-10-30
出願番号
2024067665
出願日
2024-04-18
発明の名称
水素エンジンの制御装置
出願人
トヨタ自動車株式会社
代理人
個人
,
個人
主分類
F02D
19/02 20060101AFI20251023BHJP(燃焼機関;熱ガスまたは燃焼生成物を利用する機関設備)
要約
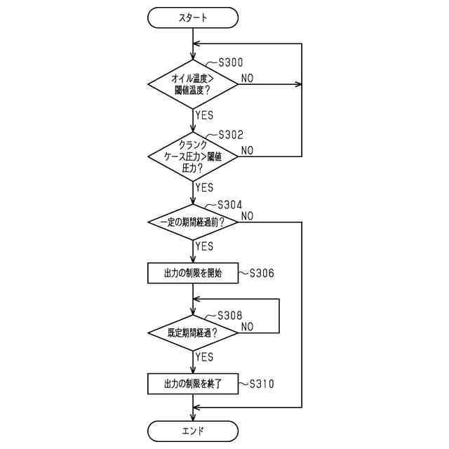
【課題】ブローバイガス通路を通じて吸気通路に向かってオイルが噴出してしまうことを抑制する。
【解決手段】水素エンジンは、燃焼室からクランクケースに漏出したブローバイガスをクランクケースから吸気通路に還流させるブローバイガス通路を備える。クランクケースに貯留しているオイルに含まれる水分がクランクケースにおいて蒸発を開始する温度に基づいて閾値温度が予め設定されている。制御装置は、オイルの温度であるオイル温度が閾値温度を上回ったときから既定期間にわたって、水素エンジンの出力を制限する(S306~S310)。
【選択図】図3
特許請求の範囲
【請求項1】
燃焼室からクランクケースに漏出したブローバイガスを前記クランクケースから吸気通路に還流させるブローバイガス通路を備えた水素エンジンの制御装置であって、
前記クランクケースに貯留しているオイルに含まれる水分が前記クランクケースにおいて蒸発を開始する温度に基づいて閾値温度が予め設定されており、
前記オイルの温度であるオイル温度が前記閾値温度を上回ったときから既定期間にわたって、前記水素エンジンの出力を制限する、
水素エンジンの制御装置。
続きを表示(約 1,000 文字)
【請求項2】
前記水素エンジンは、前記クランクケースにおける圧力であるクランクケース圧力を検知する圧力センサをさらに備え、
前記制御装置は、前記オイル温度が前記閾値温度を上回っている旨の条件と、前記圧力センサによって検知した前記クランクケース圧力が閾値圧力を上回っている旨の条件と、からなる論理積条件が成立した場合、前記水素エンジンの出力を前記既定期間にわたって制限し、
前記閾値圧力は、前記ブローバイガス通路から前記吸気通路に向かって前記オイルが噴出する圧力よりも低い値に設定されている、
請求項1に記載の水素エンジンの制御装置。
【請求項3】
前記水素エンジンは、前記クランクケースにおける圧力であるクランクケース圧力を検知する圧力センサをさらに備え、
前記制御装置は、前記オイル温度が前記閾値温度を上回ってから一定の期間の間に、前記クランクケース圧力が閾値圧力を上回った場合に、前記水素エンジンの出力を前記既定期間にわたって制限し、
前記閾値圧力は、前記ブローバイガス通路から前記吸気通路に向かって前記オイルが噴出する圧力よりも低い値に設定されている、
請求項1に記載の水素エンジンの制御装置。
【請求項4】
前記水素エンジンは、前記クランクケースにおける圧力であるクランクケース圧力を検知する圧力センサをさらに備え、
前記制御装置は、前記オイル温度が前記閾値温度を上回っている旨の条件と、前記圧力センサによって検知した前記クランクケース圧力が閾値圧力を上回っている旨の条件と、からなる論理積条件が、前記水素エンジンが始動してから停止するまでの期間である1トリップの間で初めて成立したことを条件に、前記水素エンジンの出力を前記既定期間にわたって制限し、
前記閾値圧力は、前記ブローバイガス通路から前記吸気通路に向かって前記オイルが噴出する圧力よりも低い値に設定されている、
請求項1に記載の水素エンジンの制御装置。
【請求項5】
前記制御装置は、前記オイル温度が前記閾値温度を上回ったときから前記既定期間にわたって、前記水素エンジンの出力に上限値を設定して前記水素エンジンの出力を前記上限値以下に制限する、
請求項1に記載の水素エンジンの制御装置。
発明の詳細な説明
【技術分野】
【0001】
本開示は水素エンジンの制御装置に関するものである。
続きを表示(約 1,800 文字)
【背景技術】
【0002】
特許文献1は、内燃機関の制御装置を開示している。当該内燃機関は、クランクケースの内部における圧力を検知する圧力センサを備えている。上記制御装置は、圧力センサによって検知した圧力が所定圧力以上の場合、内燃機関の出力を制限する制限処理を実行する。圧力センサによって検知した圧力が所定圧力以上の場合には、プレイグニッション等の異常燃焼が発生している可能性が高い。内燃機関の出力が小さいほど、異常燃焼が発生しにくくなる。このため、上記制御装置は制限処理を通じて異常燃焼の発生を抑制できる。
【先行技術文献】
【特許文献】
【0003】
特開2013-100730号公報
【発明の概要】
【発明が解決しようとする課題】
【0004】
水素エンジンの稼働中、ブローバイガスが燃焼室からクランクケースに漏出し得る。ガソリンエンジンと比較して、水素エンジンにおけるブローバイガスには水分が多く含まれている。水素エンジン起動後において冷間運転時間が長いことに起因して、クランクケース中のオイルに、ブローバイガスに由来する水分が蓄積する可能性がある。係る状態から、機関運転の継続に伴いオイル温度が上昇すると、ブローバイガスに由来してオイル中に蓄積した水分が、蒸発し始める。これによって、クランクケースの内部における圧力が急上昇する。係る場合、ブローバイガスを吸気通路に還流させるブローバイガス通路を通じて吸気通路に向かってブローバイガスとともにオイルが噴出してしまう可能性がある。
【課題を解決するための手段】
【0005】
以下、上記課題を解決するための手段及びその作用効果について記載する。
本開示の一態様によれば、燃焼室からクランクケースに漏出したブローバイガスを前記クランクケースから吸気通路に還流させるブローバイガス通路を備えた水素エンジンの制御装置であって、前記クランクケースに貯留しているオイルに含まれる水分が前記クランクケースにおいて蒸発を開始する温度に基づいて閾値温度が予め設定されており、前記オイルの温度であるオイル温度が前記閾値温度を上回ったときから既定期間にわたって、前記水素エンジンの出力を制限する、水素エンジンの制御装置が提供される。
【発明の効果】
【0006】
上記構成によれば、ブローバイガス通路を通じて吸気通路に向かってオイルが噴出してしまうことを抑制できる。
【図面の簡単な説明】
【0007】
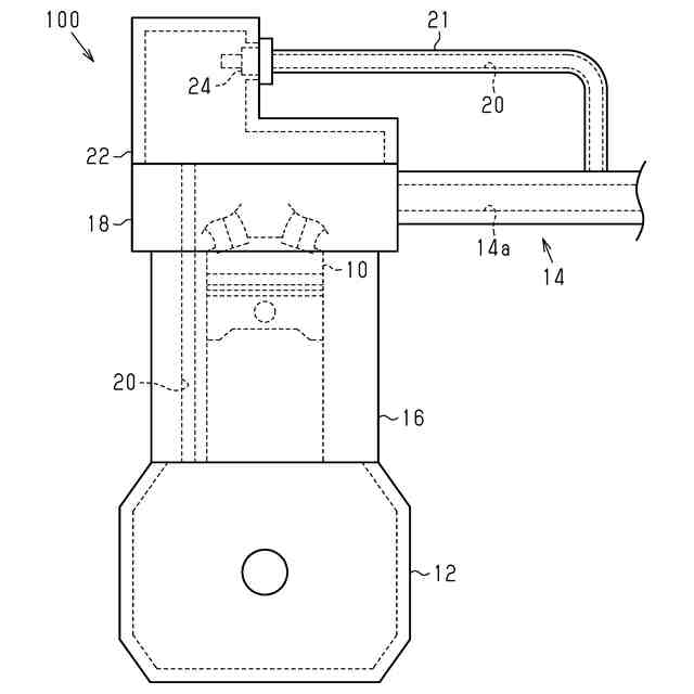
図1は、一実施形態に係る水素エンジンの構成を示す模式図である。
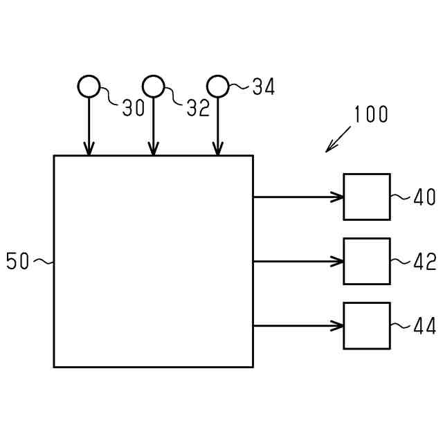
図2は、図1に示す水素エンジンを制御する制御装置を示す図である。
図3は、第1実施形態に係る処理を示すフローチャートである。
図4は、第1実施形態に係る作用を説明するためのタイムチャートである。
図5は、第2実施形態に係る処理を示すフローチャートである。
図6は、第2実施形態に係る作用を説明するためのタイムチャートである。
【発明を実施するための形態】
【0008】
(第1実施形態)
以下、第1実施形態に係る水素エンジンの制御装置について、図面を参照して説明する。
【0009】
<水素エンジン100の構成>
図1に示すように、水素エンジン100は、シリンダブロック16を有する。水素エンジン100は、シリンダブロック16の上端部に取り付けられたシリンダヘッド18を有する。水素エンジン100は、シリンダブロック16の下端部に取り付けられたクランクケース12を有する。また、シリンダヘッド18の上部は、ベンチレーションケース22によって覆われている。
【0010】
水素エンジン100の燃焼室10内での燃料の燃焼が行われるとき、水素エンジン100の燃焼室10からクランクケース12にブローバイガスが漏出する。水素エンジン100は、クランクケース12に漏出したブローバイガスを水素エンジン100の吸気系14に流すためのブローバイガス還元装置を備える。図1は、吸気系14の一部である吸気通路14aを示している。
(【0011】以降は省略されています)
この特許をJ-PlatPat(特許庁公式サイト)で参照する
関連特許
トヨタ自動車株式会社
車両
16日前
トヨタ自動車株式会社
車両
17日前
トヨタ自動車株式会社
車両
16日前
トヨタ自動車株式会社
電池
8日前
トヨタ自動車株式会社
電池
2日前
トヨタ自動車株式会社
車両
2日前
トヨタ自動車株式会社
電池
17日前
トヨタ自動車株式会社
配管
3日前
トヨタ自動車株式会社
車体
16日前
トヨタ自動車株式会社
車両
3日前
トヨタ自動車株式会社
方法
16日前
トヨタ自動車株式会社
モータ
15日前
トヨタ自動車株式会社
ロータ
3日前
トヨタ自動車株式会社
電動車
3日前
トヨタ自動車株式会社
蓄電池
16日前
トヨタ自動車株式会社
電動車
2日前
トヨタ自動車株式会社
路側装置
15日前
トヨタ自動車株式会社
濾過装置
17日前
トヨタ自動車株式会社
蓄電セル
10日前
トヨタ自動車株式会社
エンジン
3日前
トヨタ自動車株式会社
蓄電装置
15日前
トヨタ自動車株式会社
制御装置
15日前
トヨタ自動車株式会社
制御装置
3日前
トヨタ自動車株式会社
コネクタ
2日前
トヨタ自動車株式会社
路側装置
15日前
トヨタ自動車株式会社
電動車両
15日前
トヨタ自動車株式会社
監視装置
8日前
トヨタ自動車株式会社
路側装置
15日前
トヨタ自動車株式会社
製造設備
8日前
トヨタ自動車株式会社
路側装置
15日前
トヨタ自動車株式会社
制御装置
2日前
トヨタ自動車株式会社
推定装置
15日前
トヨタ自動車株式会社
蓄電装置
2日前
トヨタ自動車株式会社
判定装置
2日前
トヨタ自動車株式会社
制御装置
2日前
トヨタ自動車株式会社
学習装置
2日前
続きを見る
他の特許を見る