TOP
|
特許
|
意匠
|
商標
特許ウォッチ
Twitter
他の特許を見る
公開番号
2025165517
公報種別
公開特許公報(A)
公開日
2025-11-05
出願番号
2024069604
出願日
2024-04-23
発明の名称
濾過装置
出願人
トヨタ自動車株式会社
代理人
個人
主分類
B01D
24/46 20060101AFI20251028BHJP(物理的または化学的方法または装置一般)
要約
【課題】ケーク層の成長に伴って濾過抵抗が増大することを抑制しつつ、収容容器のシール性を向上する。
【解決手段】濾過装置1は、スラリーを収容すると共に、底板がフィルター6(濾材)で構成された、収容容器2と、収容容器2内で回転することによりスラリーを撹拌する撹拌翼と、収容容器2内で回転することによりフィルター6上に堆積するケーク層の成長を阻害するスクレーパーと、が一体的に形成された撹拌ユニット3と、を含む。撹拌翼とスクレーパーを構成する撹拌ユニット3は、収容容器2の外側に配置されたローター11(回転体)と磁気結合可能に構成されている。
【選択図】図1
特許請求の範囲
【請求項1】
スラリーを収容すると共に底板が濾材で構成された収容容器と、
前記収容容器内で回転することにより前記スラリーを撹拌する撹拌翼と、
前記収容容器内で回転することにより前記濾材上に堆積するケーク層の成長を阻害するスクレーパーと、
を含み、
前記撹拌翼と前記スクレーパーは、前記収容容器の外側に配置された回転体と磁気結合可能に構成されている、
濾過装置。
発明の詳細な説明
【技術分野】
【0001】
本発明は、濾過装置に関する。
続きを表示(約 1,200 文字)
【背景技術】
【0002】
特許文献1は、密閉容器内に撹拌翼を有する濾過装置を開示している。撹拌翼の撹拌用軸は、密閉容器から上方に突出し、モーターにより回転駆動される。
【先行技術文献】
【特許文献】
【0003】
特開2022-165367号公報
【発明の概要】
【発明が解決しようとする課題】
【0004】
特許文献1の構成では、スラリーを撹拌及び濾過するに際し、ケーク層の成長に伴って濾過抵抗が増大する。
【0005】
本開示の目的は、ケーク層の成長に伴って濾過抵抗が増大することを抑制しつつ、収容容器のシール性を向上する技術を提供することにある。
【課題を解決するための手段】
【0006】
スラリーを収容すると共に底板が濾材で構成された収容容器と、
前記収容容器内で回転することにより前記スラリーを撹拌する撹拌翼と、
前記収容容器内で回転することにより前記濾材上に堆積するケーク層の成長を阻害するスクレーパーと、
を含み、
前記撹拌翼と前記スクレーパーは、前記収容容器の外側に配置された回転体と磁気結合可能に構成されている、
濾過装置が提供される。
以上の構成によれば、ケーク層の成長に伴って濾過抵抗が増大することを抑制しつつ、収容容器のシール性を向上することができる。
【発明の効果】
【0007】
本開示によれば、ケーク層の成長に伴って濾過抵抗が増大することを抑制しつつ、収容容器のシール性を向上することができる。
【図面の簡単な説明】
【0008】
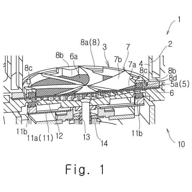
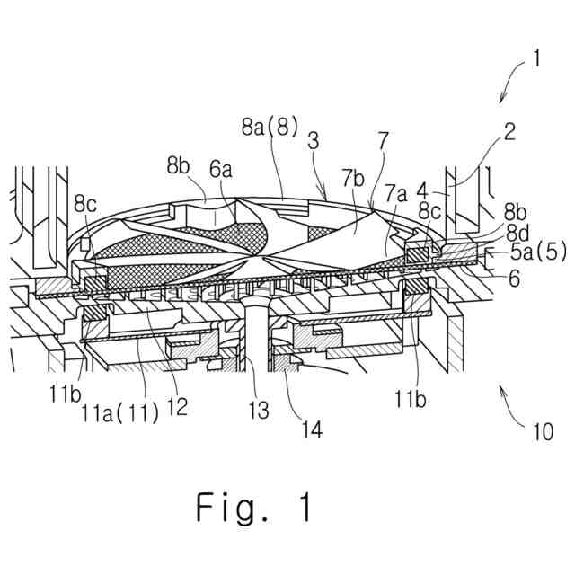
濾過装置の切り欠き斜視図である。(第1実施形態)
撹拌ユニットの切り欠き斜視図である。(第2実施形態)
濾過装置の断面正面図である。(第3実施形態)
【発明を実施するための形態】
【0009】
以下、発明の実施の形態を通じて本発明を説明するが、特許請求の範囲に係る発明を以下の実施形態に限定するものではない。また、実施形態で説明する構成の全てが課題を解決するための手段として必須であるとは限らない。説明の明確化のため、以下の記載及び図面は、適宜、省略、及び簡略化がなされている。各図面において、同一の要素には同一の符号が付されており、必要に応じて重複説明は省略されている。
【0010】
(第1実施形態)
以下、図1を参照して、本開示の第1実施形態を説明する。図1に示すように、濾過装置1は、収容容器2、撹拌ユニット3を含む。濾過装置1は、全量濾過方式を採用する。濾過装置1は、収容容器2に収容されたスラリーを濾過、濃縮、固液分離するために用いられる。
(【0011】以降は省略されています)
この特許をJ-PlatPat(特許庁公式サイト)で参照する
関連特許
プライミクス株式会社
攪拌装置
19日前
日本バイリーン株式会社
フィルタ
1か月前
東レ株式会社
遠心ポッティング方法
1か月前
トヨタ自動車株式会社
濾過装置
1か月前
株式会社切川物産
撹拌装置
20日前
株式会社高垣製作所
粉粒体加工装置
4日前
トヨタ紡織株式会社
フィルタ
13日前
栗田工業株式会社
ギ酸の回収方法
20日前
トヨタ紡織株式会社
水流帯電装置
13日前
個人
吸着材複合粒子
4日前
東芝ライテック株式会社
光照射装置
1か月前
日本化薬株式会社
直鎖ブテン製造用触媒及びその使用
1か月前
東芝ライテック株式会社
紫外線処理装置
19日前
株式会社HELIX
加熱装置
5日前
株式会社ダイセル
圧力容器
11日前
いであ株式会社
PFAS除去用バイオ炭の製造方法
1か月前
三菱重工業株式会社
石膏脱水システム
1か月前
栗田工業株式会社
有機物含有水の脱泡処理装置
27日前
株式会社ダルトン
空気清浄化装置のフィルタ保持装置
4日前
株式会社豊田中央研究所
二酸化炭素回収システム
13日前
セイコーエプソン株式会社
フィルター装置
11日前
愛三工業株式会社
水素分離膜
11日前
三菱化工機株式会社
粒子の分級装置及び粒子の分級方法
4日前
オルガノ株式会社
ろ過膜の洗浄方法及び洗浄装置
27日前
日本スピンドル製造株式会社
除去フィルタ及び除去装置
4日前
株式会社デンソー
電気化学セル
12日前
トヨタ自動車株式会社
予測モデル
4日前
株式会社ハイドロネクスト
金属材料
6日前
トヨタ自動車株式会社
予測モデル
今日
エヌ・イーケムキャット株式会社
貴金属吸着材料
5日前
栗田工業株式会社
方法、システム及びプログラム
11日前
株式会社HELIX
供給装置及び加熱装置
5日前
トヨタ車体株式会社
ガス処理装置
4日前
大陽日酸株式会社
ガス分離方法及びガス分離装置
19日前
大陽日酸株式会社
ガス分離方法及びガス分離装置
19日前
大陽日酸株式会社
ガス分離方法及びガス分離装置
19日前
続きを見る
他の特許を見る