TOP
|
特許
|
意匠
|
商標
特許ウォッチ
Twitter
他の特許を見る
公開番号
2025172554
公報種別
公開特許公報(A)
公開日
2025-11-26
出願番号
2024078125
出願日
2024-05-13
発明の名称
水流帯電装置
出願人
トヨタ紡織株式会社
代理人
個人
,
個人
主分類
B01D
39/14 20060101AFI20251118BHJP(物理的または化学的方法または装置一般)
要約
【課題】簡単な構成の変更によって、濾材の帯電性能を高めること。
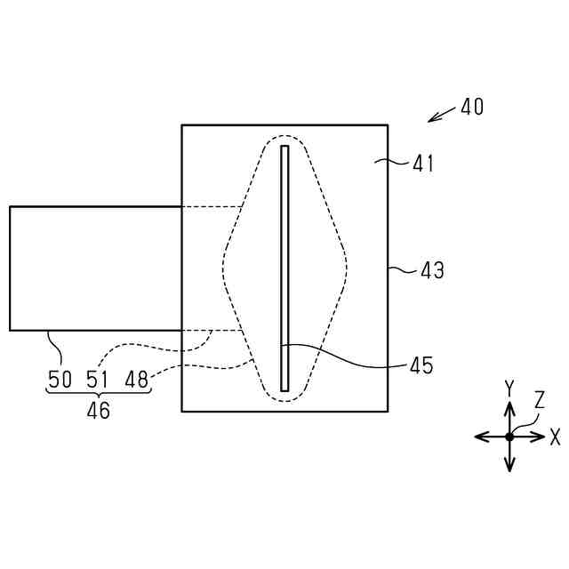
【解決手段】水流帯電装置10は、濾材11を下方から支持しながら搬送する通水性の搬送部20と、搬送部20の上方に位置し、搬送部20上の濾材11に対して水を噴射するノズル32を有する供給部30と、搬送部20の下方に位置し、上方に開口するとともに下方に延在する部分を含む吸引通路42を有する通路構成部41及び吸引通路42を通じて水を吸引する吸引装置60と、を有する吸引部40を備える。通路構成部41は、搬送部20の下面に対向する対向面44及び対向面44に開口するとともに上下方向に貫通するスリット孔45を有する頂部43と、スリット孔45に連通するとともに下方に延在する通路本体47を有する本体部46とを含む。吸引装置60の真空圧の絶対値の上限値は、50kPa以下である。スリット孔45の幅は、7mm以上であり、15mm以下である。
【選択図】図1
特許請求の範囲
【請求項1】
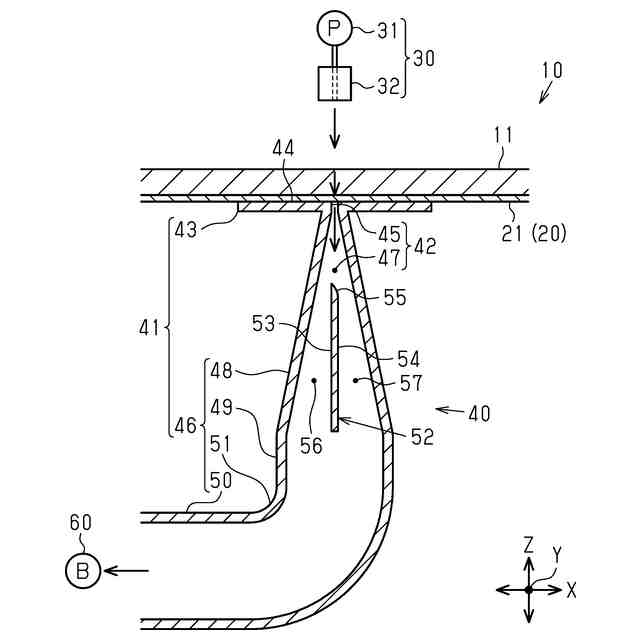
濾材を帯電させる水流帯電装置であって、
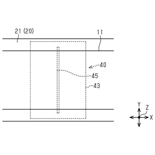
前記濾材を下方から支持しながら搬送する通水性の搬送部と、
前記搬送部の上方に位置し、前記搬送部上の前記濾材に対して水を噴射するノズルを有する供給部と、
前記搬送部の下方に位置し、上方に開口するとともに下方に延在する部分を含む吸引通路を有する通路構成部及び前記吸引通路を通じて前記水を吸引する吸引装置を有する吸引部を備え、
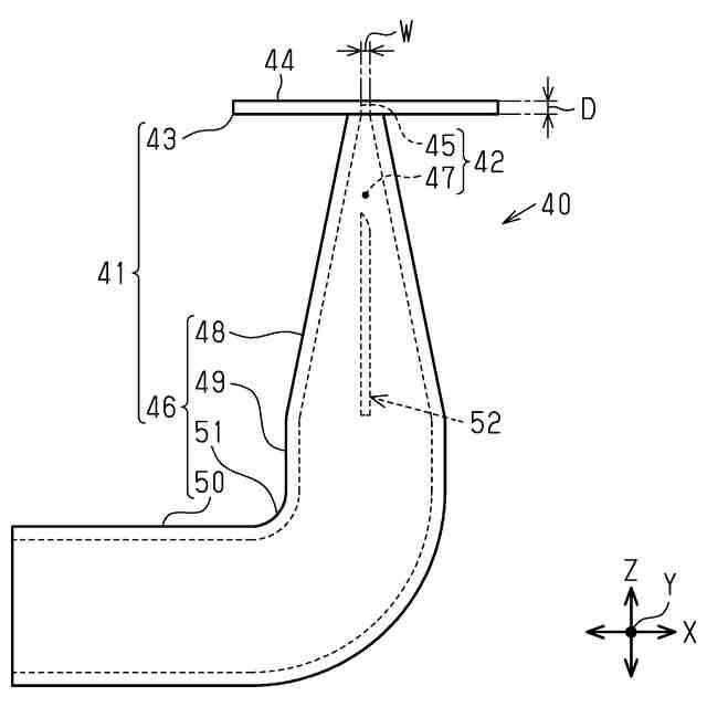
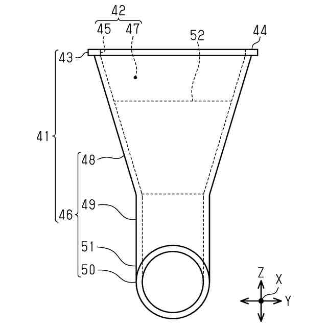
前記通路構成部は、
前記搬送部の下面に対向する対向面及び前記対向面に開口するとともに上下方向に貫通するスリット孔を有する頂部と、
前記スリット孔に連通するとともに下方に延在する通路本体を有する本体部と、を含み、
前記吸引装置の真空圧の絶対値の上限値は、50kPa以下であり、
前記スリット孔の幅は、7mm以上であり、15mm以下である、
水流帯電装置。
続きを表示(約 63 文字)
【請求項2】
前記スリット孔の深さは、5mm以上、7mm以下である、
請求項1に記載の水流帯電装置。
発明の詳細な説明
【技術分野】
【0001】
本発明は、水流帯電装置に関する。
続きを表示(約 1,600 文字)
【背景技術】
【0002】
従来、大気に含まれる塵埃を捕集する濾材として、極細繊維からなる不織布が用いられている。また、微粒子の捕集効率の高い濾材として、不織布に電荷を付与したエレクトレット化不織布が用いられている。
【0003】
不織布からなる濾材に電荷を付与する方法としては、水流帯電法が知られている(例えば特許文献1参照)。
水流帯電法を用いて濾材に電荷を付与する装置(以下、水流帯電装置)は、ノズルから噴射された水が濾材の内部を通過する際に発生する静電気を利用して濾材を帯電させる。
【先行技術文献】
【特許文献】
【0004】
特開2005-131485号公報
【発明の概要】
【発明が解決しようとする課題】
【0005】
濾材の帯電度合を高めるためには、濾材の内部を通過する水の流速を高めることが好ましい。しかしながら、水の流速を高めるために吸引装置の真空度の絶対値を大きくすることには限界がある。また、真空度の絶対値の大きい吸引装置を採用すると、吸引装置の大型化などの新たな問題が生じる。
【課題を解決するための手段】
【0006】
上記課題を解決するための水流帯電装置は、濾材を帯電させる水流帯電装置であって、前記濾材を下方から支持しながら搬送する通水性の搬送部と、前記搬送部の上方に位置し、前記搬送部上の前記濾材に対して水を噴射するノズルを有する供給部と、前記搬送部の下方に位置し、上方に開口するとともに下方に延在する部分を含む吸引通路を有する通路構成部及び前記吸引通路を通じて前記水を吸引する吸引装置を有する吸引部を備え、前記通路構成部は、前記搬送部の下面に対向する対向面及び前記対向面に開口するとともに上下方向に貫通するスリット孔を有する頂部と、前記スリット孔に連通するとともに下方に延在する通路本体を有する本体部と、を含み、前記吸引装置の真空圧の絶対値の上限値は、50kPa以下であり、前記スリット孔の幅は、7mm以上であり、15mm以下である。
【0007】
吸引通路のスリット孔に吸引される空気の流速(以下、吸引風速)が30m/s未満においては、吸引風速の増大に伴って、吸引風速の増大に伴って帯電後の濾材が大気中の塵埃を捕集する効率(以下、捕集効率)が大きくなる。また、吸引風速が30m/s以上においては、吸引風速が増大しても大気塵効率はほとんど大きくならない。
【0008】
上記構成によれば、スリット孔の幅が7mm未満である場合には、当該幅が小さくなるほどスリット孔における圧力損失が増大する。このため、吸引装置の真空度の絶対値の上限値が50kPa以下においては、吸引風速を30m/s以上にすること、ひいては濾材の帯電度合、すなわち捕集効率を高めることが難しい。また、スリット孔の幅が15mmよりも大きい場合には、吸引装置の真空度の絶対値の上限値を50kPaよりも大きくしなければ、すなわち吸引性能を高めなければ、吸引風速を30m/s以上にすることができない。
【0009】
この点、上記構成によれば、スリット孔の幅が7mm以上であるため、スリット孔における圧力損失を低減できるので、吸引装置の真空度の絶対値の上限値が50kPa以下において、吸引風速を30m/s以上にすることができる。また、スリット孔の幅が15mm以下であるため、吸引装置の真空圧の絶対値の上限値が50kPa以下であっても、吸引風速を30m/s以上にすること、ひいては濾材の帯電性能を高めることができる。
【0010】
したがって、簡単な構成の変更によって、濾材の帯電性能を高めることができる。
【図面の簡単な説明】
(【0011】以降は省略されています)
この特許をJ-PlatPat(特許庁公式サイト)で参照する
関連特許
トヨタ紡織株式会社
フィルタ
今日
トヨタ紡織株式会社
乗物用シート
19日前
トヨタ紡織株式会社
水流帯電装置
今日
トヨタ紡織株式会社
搬送システム
1か月前
トヨタ紡織株式会社
乗物用シート
6日前
トヨタ紡織株式会社
シートバック
19日前
トヨタ紡織株式会社
振動刺激装置
6日前
トヨタ紡織株式会社
シートバック
19日前
トヨタ紡織株式会社
ロックシステム
27日前
トヨタ紡織株式会社
乗り物用シート
20日前
トヨタ紡織株式会社
乗り物用シート
20日前
トヨタ紡織株式会社
乗物用シート装置
19日前
トヨタ紡織株式会社
乗物用シート装置
21日前
トヨタ紡織株式会社
燃料電池システム
1か月前
トヨタ紡織株式会社
ロータの製造装置
28日前
トヨタ紡織株式会社
燃料電池システム
今日
トヨタ紡織株式会社
燃料電池スタック
1か月前
トヨタ紡織株式会社
パーソナルブース装置
6日前
トヨタ紡織株式会社
コネクタ及び二次電池
27日前
トヨタ紡織株式会社
パーソナルブース装置
6日前
トヨタ紡織株式会社
配車装置およびプログラム
1か月前
トヨタ紡織株式会社
乗物用シートのアームレスト
29日前
豊田合成株式会社
車両用投影装置
1か月前
豊田合成株式会社
車両用照明装置
1か月前
トヨタ紡織株式会社
車両用ヘッドレスト及び車両用シート
21日前
トヨタ紡織株式会社
シートパッド及びシートパッドの成形型
28日前
トヨタ紡織株式会社
乗物用内装材及び乗物用内装材の製造方法
今日
トヨタ紡織株式会社
乗り物酔い防止装置、及び乗り物酔い防止方法
6日前
トヨタ紡織株式会社
情報処理装置、情報処理方法、及び情報処理プログラム
6日前
株式会社ハイレックスコーポレーション
ケーブル連結機構
22日前
トヨタ紡織株式会社
パーティション装置、パーティションシステム、及び制御装置
1か月前
株式会社西部技研
除湿装置
1か月前
株式会社日本触媒
ドロー溶質
1か月前
プライミクス株式会社
攪拌装置
6日前
サンノプコ株式会社
消泡剤
1か月前
日本バイリーン株式会社
フィルタ
20日前
続きを見る
他の特許を見る