TOP
|
特許
|
意匠
|
商標
特許ウォッチ
Twitter
他の特許を見る
公開番号
2025158742
公報種別
公開特許公報(A)
公開日
2025-10-17
出願番号
2024061593
出願日
2024-04-05
発明の名称
パーティション装置、パーティションシステム、及び制御装置
出願人
トヨタ紡織株式会社
代理人
弁理士法人 HARAKENZO WORLD PATENT & TRADEMARK
主分類
B60N
3/00 20060101AFI20251009BHJP(車両一般)
要約
【課題】フロントシートのシートポジションを調整可能にする。
【解決手段】パーティション装置(10)は、車両(1)の車室空間(30)に配置されたフロントシート(5)よりも後方にて、車室空間(30)を仕切るパーティション(11)と、車両ボディ(2)の天井部(2A)、又は、車室空間(30)の一部を構成する天井部材(3)に設置された、パーティション(11)を巻き取る第1巻取軸(12)と、を備え、パーティション(11)により仕切る仕切位置は、車両(1)の前後方向に調整可能である。
【選択図】図1
特許請求の範囲
【請求項1】
車両の車室空間に配置されたフロントシートよりも後方にて、前記車室空間を仕切るパーティションと、
車両ボディの天井部、又は、前記車室空間の一部を構成する天井部材に設置された、前記パーティションを巻き取る第1巻取軸と、を備え、
前記パーティションにより仕切る仕切位置は、前記車両の前後方向に調整可能である、
パーティション装置。
続きを表示(約 1,300 文字)
【請求項2】
前記天井部、又は、前記天井部材に固定され、前記第1巻取軸を前記車両の前後方向に移動可能にする移動機構を更に備え、
前記第1巻取軸が前記車両の前後方向に移動することにより、前記パーティションの前記仕切位置を前記車両の前後方向に調整可能である、請求項1に記載のパーティション装置。
【請求項3】
前記車両の前後方向に移動可能であり、前記パーティションが挿通されるスリット孔が形成された可動部材を更に備え、
前記第1巻取軸は、前記天井部、又は前記天井部材に固定され、
前記スリット孔が前記車両の前後方向に移動することにより、前記パーティションの前記仕切位置を前記車両の前後方向に調整可能である、請求項1に記載のパーティション装置。
【請求項4】
前記可動部材は、前記天井部材に対して移動可能な板状の部材である、請求項3に記載のパーティション装置。
【請求項5】
前記可動部材を巻き取る第2巻取軸と、
前記第2巻取軸よりも前記車両の後方に位置し、前記可動部材を巻き取る第3巻取軸と、を更に備え、
前記可動部材が前記第2巻取軸、又は前記第3巻取軸に巻き取られることにより、前記スリット孔が前記車両の前後方向に移動する、請求項3に記載のパーティション装置。
【請求項6】
請求項1~5のいずれか1項に記載のパーティション装置と、前記フロントシートと、制御装置と、を備えるパーティションシステムであって、
前記パーティション装置は、前記パーティションの仕切位置を調整するための駆動部を駆動する電動モータを更に備え、
前記フロントシートは、前記車両の前後方向に移動可能にするシートスライド装置、又は、シートクッションに対するシートバックの角度を調整可能なリクライニング装置を備え、
前記制御装置は、前記フロントシートの前記車両の前後方向の移動量、又は、前記フロントシートのシートクッションに対するシートバックの角度に応じて、前記電動モータを制御することにより前記パーティションの仕切位置を調整する、パーティションシステム。
【請求項7】
車両の車室空間に配置されたフロントシートよりも後方にて、前記車室空間を仕切るパーティションと、車両ボディの天井部又は前記車室空間の一部を構成する天井部材に固定された、前記パーティションを巻き取る第1巻取軸と、前記パーティションの仕切位置を調整するための駆動部を駆動する電動モータとを備えるパーティション装置と、前記車両の前後方向に移動可能にするシートスライド装置、又は、シートクッションに対するシートバックの角度を調整可能なリクライニング装置を備える前記フロントシートと、を含むパーティションシステムを制御する制御装置であって、
前記フロントシートの前記車両の前後方向の移動量、又は、前記フロントシートのシートクッションに対するシートバックの角度に応じて、前記電動モータを制御することにより前記パーティションの仕切位置を調整する、制御装置。
発明の詳細な説明
【技術分野】
【0001】
本開示は、パーティション装置、パーティションシステム、及び制御装置に関する。
続きを表示(約 1,500 文字)
【背景技術】
【0002】
従来、例えば、シェード、パーティション、又はスクリーン等を車室空間内で展開可能な車両がある。特許文献1には、日光を遮るサンシェードを展開可能なロールスクリーン式の車両用サンシェード構造について記載されている。
【先行技術文献】
【特許文献】
【0003】
特開2001-341526号公報
【発明の概要】
【発明が解決しようとする課題】
【0004】
ところで、車室空間をフロントシートが存在する空間とフロントシートが存在しない空間とに仕切るパーティションを備えた車両がある。しかしながら、このようなパーティションは仕切位置が固定されているため、フロントシートの前後方向の移動、及びフロントシートのリクライニングに制限があった。
【0005】
本開示の一態様は、フロントシートのシートポジションを調整可能にすることを目的とする。
【課題を解決するための手段】
【0006】
上記の課題を解決するために、本開示に係るパーティション装置は、車両の車室空間に配置されたフロントシートよりも後方にて、前記車室空間を仕切るパーティションと、車両ボディの天井部、又は、前記車室空間の一部を構成する天井部材に設置された、前記パーティションを巻き取る第1巻取軸と、を備え、前記パーティションにより仕切る仕切位置は、前記車両の前後方向に調整可能である。
【0007】
上記の課題を解決するために、本開示に係る制御装置は、車両の車室空間に配置されたフロントシートよりも後方にて、前記車室空間を仕切るパーティションと、車両ボディの天井部又は前記車室空間の一部を構成する天井部材に固定された、前記パーティションを巻き取る第1巻取軸と、前記パーティションの仕切位置を調整するための駆動部を駆動する電動モータとを備えるパーティション装置と、前記車両の前後方向に移動可能にするシートスライド装置、又は、シートクッションに対するシートバックの角度を調整可能なリクライニング装置を備える前記フロントシートと、を備えるパーティションシステムを制御する制御装置であって、前記フロントシートの前記車両の前後方向の移動量、又は、前記フロントシートのシートクッションに対するシートバックの角度に応じて、前記電動モータを制御することにより前記パーティションの仕切位置を調整する。
【発明の効果】
【0008】
本開示の一態様によれば、フロントシートのシートポジションを調整可能にすることができる。
【図面の簡単な説明】
【0009】
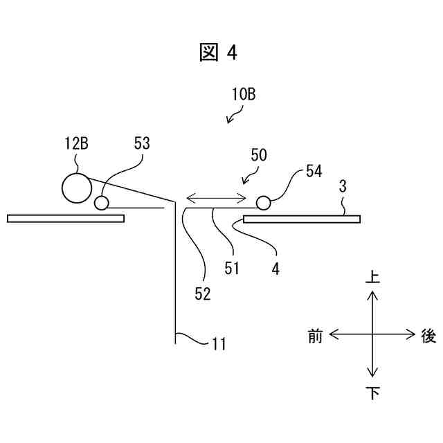
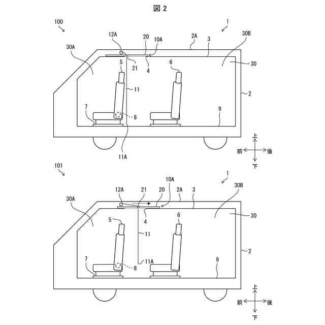
本開示の実施形態1に係るパーティション装置の構成を示す概略図である。
本開示の実施形態2に係るパーティション装置の構成を示す概略図である。
天井部材及び可動部材を平面視した図である。
実施形態2の変形例に係るパーティション装置の構成を示す概略図である。
実施形態3に係るパーティションシステムの構成を示す概略図である
【発明を実施するための形態】
【0010】
〔実施形態1〕
以下、本開示の一実施形態について、図1を参照して詳細に説明する。図1は、実施形態1に係るパーティション装置10の構成を示す概略図である。なお、説明の便宜上、図1等に矢印にて示すように、車両1の前後方向、左右方向、及び上下方向を定義する。左右方向は車両1の車幅方向である。
(【0011】以降は省略されています)
この特許をJ-PlatPat(特許庁公式サイト)で参照する
関連特許
トヨタ紡織株式会社
乗物用シート
4日前
トヨタ紡織株式会社
乗物用シート
4日前
トヨタ紡織株式会社
乗物用照明装置
3日前
トヨタ紡織株式会社
燃料電池スタック
3日前
トヨタ紡織株式会社
燃料電池の単セル
4日前
トヨタ紡織株式会社
シート制御システム
6日前
トヨタ紡織株式会社
繊維状物質及びその製造方法並びに粉体
11日前
トヨタ紡織株式会社
繊維状複合体及びその製造方法並びに粉体
11日前
トヨタ紡織株式会社
熱可塑性樹脂組成物及びその製造方法並びに成形体
11日前
トヨタ紡織株式会社
パーティション装置、パーティションシステム、及び制御装置
3日前
トヨタ紡織株式会社
燃料電池用セパレータの製造装置及び燃料電池用セパレータの製造方法
4日前
個人
カーテント
4か月前
個人
タイヤレバー
2か月前
個人
前輪キャスター
1か月前
個人
上部一体型自動車
17日前
個人
車輪清掃装置
4か月前
個人
タイヤ脱落防止構造
1か月前
個人
ホイルのボルト締結
3か月前
個人
ルーフ付きトライク
2か月前
個人
マスタシリンダ
24日前
個人
キャンピングトライク
4か月前
個人
車両通過構造物
2か月前
日本精機株式会社
表示装置
2か月前
日本精機株式会社
表示装置
2か月前
日本精機株式会社
表示装置
2か月前
井関農機株式会社
作業車両
4か月前
井関農機株式会社
作業車両
4か月前
日本精機株式会社
表示装置
2か月前
個人
アクセルのソフトウェア
3か月前
個人
車両用スリップ防止装置
3か月前
個人
ワイパーゴム性能保持具
5か月前
個人
乗合路線バスの客室装置
3か月前
個人
キャンピングトレーラー
4か月前
個人
車載小物入れ兼雨傘収納具
3か月前
株式会社ニフコ
照明装置
2か月前
株式会社ニフコ
保持装置
3か月前
続きを見る
他の特許を見る