TOP
|
特許
|
意匠
|
商標
特許ウォッチ
Twitter
他の特許を見る
公開番号
2025158557
公報種別
公開特許公報(A)
公開日
2025-10-17
出願番号
2024061213
出願日
2024-04-05
発明の名称
車高調製装置
出願人
株式会社ジェイテクト
代理人
個人
主分類
B60G
17/02 20060101AFI20251009BHJP(車両一般)
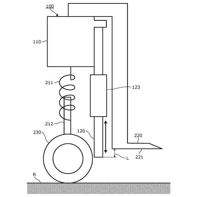
要約
【課題】車高を所定の高さにする。
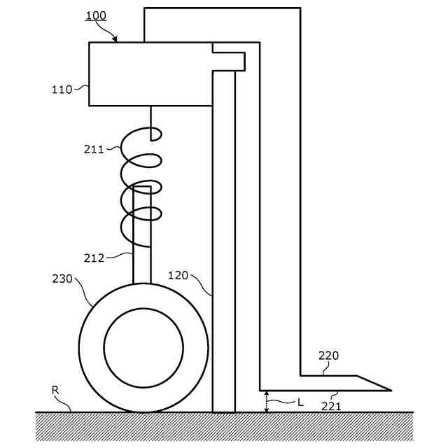
【解決手段】車高調整装置100は、車輪230を懸架する懸架装置210と、懸架装置210が取り付けられる基本構造部材220と、を備える車両に取り付けられる車高調整装置100であって、車輪230と基本構造部材220との距離を変化させることで、車両の車高を変化させる昇降装置110と、昇降装置110の近傍に配置され、車高の変化に応じて基本構造部材220と一体に変位する車高制限部材120と、を備え、車高制限部材120は、基本構造部材220から下方に向かって所定の長さである規制長L分突出している。
【選択図】図1
特許請求の範囲
【請求項1】
車輪を懸架する懸架装置と、前記懸架装置が取り付けられる基本構造部材と、を備える車両に取り付けられる車高調整装置であって、
前記車輪と前記基本構造部材との距離を変化させることで、前記車両の車高を変化させる昇降装置と、
前記昇降装置の近傍に配置され、車高の変化に応じて前記基本構造部材と一体に変位する車高制限部材と、を備え、
前記車高制限部材は、
前記基本構造部材よりも下方に向かって所定の長さである規制長の分突出している
車高調整装置。
続きを表示(約 530 文字)
【請求項2】
前記車高制限部材は、
車高の変化方向に伸縮可能な弾性部材を備える
請求項1に記載の車高調整装置。
【請求項3】
前記弾性部材の弾性率は、前記懸架装置が備える懸架弾性部材の弾性率よりも大きい
請求項2に記載の車高調整装置。
【請求項4】
前記弾性部材のばね定数は、前記車両の最大積載量を前記規制長で除した商よりも大きい
請求項2に記載の車高調整装置。
【請求項5】
前記車高制限部材は、
前記懸架装置を介して前記基本構造部材に取り付けられる
請求項1に記載の車高調整装置。
【請求項6】
前記車高制限部材の前記規制長を変化させる変化機構を備え、
前記変化機構は、
前記懸架装置が備えるアクチュエーターにより前記規制長を変化させる
請求項1に記載の車高調整装置。
【請求項7】
前記アクチュエーターは、駆動用の電動モーターを有し、
前記昇降装置は、
前記車両の車高を下降させている際に前記電動モーターの電流値が変化した場合に下降動作を停止する
請求項6に記載の車高調整装置。
発明の詳細な説明
【技術分野】
【0001】
本発明は、路面に対する車体の高さを変更することができる車高調整装置に関する。
続きを表示(約 1,400 文字)
【背景技術】
【0002】
特許文献1には、路面に対する車体の高さである車高を変更することができる車高調整装置において、調整された車高を維持するためのロック機構が記載されている。
【0003】
特許文献2には、車高調節装置を備えたバスであって、停留所において乗客が乗り降りしやすい高さに車高を自動的に低くするバスが記載されている。
【先行技術文献】
【特許文献】
【0004】
特開2022-123468号公報
特開2004-352043号公報
【発明の概要】
【発明が解決しようとする課題】
【0005】
従来の車高調整装置は、乗客の数や積荷の重量によっては、車高にばらつきが生じ、所望の高さまで正確に車高を制御することは難しい。
【0006】
本発明は、上記課題に鑑みなされたものであり、乗客の数や積荷の重量に関わらず車高を所定の高さにすることができる車高調整装置を提供する。
【課題を解決するための手段】
【0007】
本発明の1つである車高調整装置は、車輪を懸架する懸架装置と、前記懸架装置が取り付けられる基本構造部材と、を備える車両に取り付けられる車高調整装置であって、前記車輪と前記基本構造部材との距離を変化させることで、前記車両の車高を変化させる昇降装置と、前記昇降装置の近傍に配置され、車高の変化に応じて前記基本構造部材と一体に変位する車高制限部材と、を備え、前記車高制限部材は、前記基本構造部材よりも下方に向かって所定の長さである規制長の分突出している。
【発明の効果】
【0008】
本発明によれば、乗客の数や積荷の重量に関わらず車高制限部材に基づき車高を定められる高さにすることができる。
【図面の簡単な説明】
【0009】
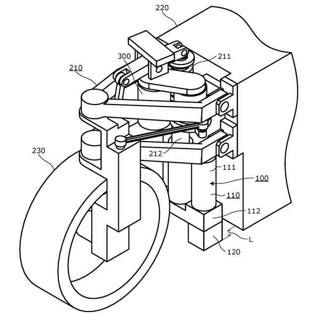
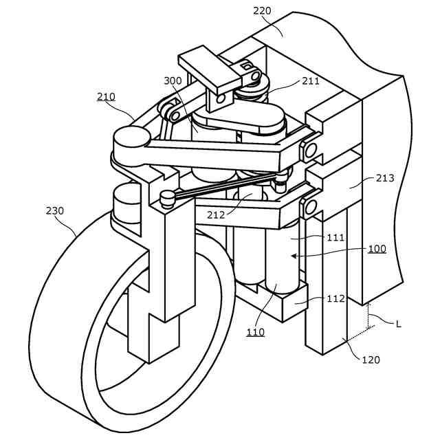
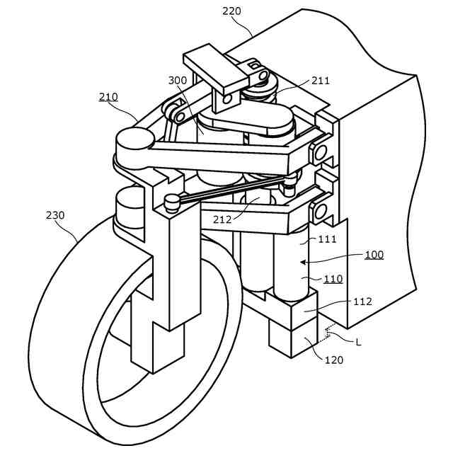
車高調整装置を懸架装置、基本構造部材と共に示す斜視図である。
車高制限部材の一例を示す斜視図である。
車高調整装置により、車高が高くなった状態を模式的に示す図である。
車高調整装置により、車高が低くなった状態を模式的に示す図である。
変化機構を備えた車高調整装置を模式的に示す図である。
車高制限部材の取り付け位置の別例1を示す斜視図である。
車高制限部材の取り付け位置の別例2を示す斜視図である。
【発明を実施するための形態】
【0010】
以下、本発明に係る車高調整装置の実施の形態について、図面を参照しつつ説明する。なお、以下の実施の形態は、本発明を説明するために一例を挙示するものであり、本発明を限定する主旨ではない。例えば、以下の実施の形態において示される形状、構造、材料、構成要素、相対的位置関係、接続状態、数値、数式、方法における各段階の内容、各段階の順序などは、一例であり、以下に記載されていない内容を含む場合がある。また、平行、直交などの幾何学的な表現を用いる場合があるが、これらの表現は、数学的な厳密さを示すものではなく、実質的に許容される誤差、ずれなどが含まれる。また、同時、同一などの表現も、実質的に許容される範囲を含んでいる。
(【0011】以降は省略されています)
特許ウォッチbot のツイートを見る
この特許をJ-PlatPat(特許庁公式サイト)で参照する
関連特許
個人
カーテント
5か月前
個人
タイヤレバー
3か月前
個人
前輪キャスター
2か月前
個人
上部一体型自動車
1か月前
個人
タイヤ脱落防止構造
2か月前
個人
車輪清掃装置
5か月前
個人
ホイルのボルト締結
4か月前
個人
空間形成装置
15日前
個人
ルーフ付きトライク
3か月前
日本精機株式会社
表示装置
3か月前
日本精機株式会社
表示装置
2か月前
井関農機株式会社
作業車両
5か月前
個人
マスタシリンダ
1か月前
個人
キャンピングトライク
5か月前
井関農機株式会社
作業車両
5か月前
日本精機株式会社
表示装置
3か月前
日本精機株式会社
照明装置
10日前
日本精機株式会社
表示装置
3か月前
個人
車両通過構造物
3か月前
個人
ワイパーゴム性能保持具
5か月前
個人
常設収納型サンバイザー
21日前
個人
キャンピングトレーラー
5か月前
個人
車両用スリップ防止装置
4か月前
個人
乗合路線バスの客室装置
4か月前
個人
アクセルのソフトウェア
4か月前
日本精機株式会社
車載表示装置
23日前
株式会社ニフコ
収納装置
2か月前
株式会社豊田自動織機
産業車両
3か月前
日本精機株式会社
画像投映装置
1か月前
株式会社豊田自動織機
産業車両
10日前
株式会社ニフコ
保持装置
4か月前
個人
円湾曲ホイール及び球体輪
4か月前
個人
音声ガイド、音声サービス
3か月前
日本精機株式会社
車室演出装置
2か月前
個人
回転窓ワイパー装置
15日前
日本精機株式会社
車載表示装置
4か月前
続きを見る
他の特許を見る