TOP
|
特許
|
意匠
|
商標
特許ウォッチ
Twitter
他の特許を見る
公開番号
2025079280
公報種別
公開特許公報(A)
公開日
2025-05-21
出願番号
2023201131
出願日
2023-11-09
発明の名称
ワイパーゴム性能保持具
出願人
個人
代理人
主分類
B60S
1/34 20060101AFI20250514BHJP(車両一般)
要約
【課題】埃にまみれ易い車両のワイパーには砂塵が溜まり易く、それら砂塵の点検や清掃は忘れ易く叉面倒であった。そうした車両に関わるドライバーの負担を軽減すると共に、降雨毎にクリアな視界を長期間得られるワイパーゴム性能保持具を提供すること。
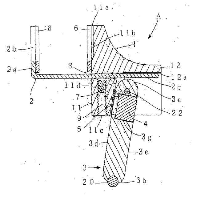
【解決手段】前面壁11、上面壁12、両側面壁13,13を有し、下部及び後部に開口部13a,13bを設けた本体1と、本体1の前面壁11に設けたスリット8に挿入してブレードBを挟持するL字金具2と、要所箇所に軸通孔3f、磁石4、滑り止め20を設けて本体1内に軸着するリフト脚3と、内面11dに密着させたプレート5と、挟持部2a,11aに向き合わせて貼着する両面テープ6と、前面壁11のねじ孔9に螺入してL字金具2を固定する止めネジ7と、を備えワイパーゴム性能保持具を構成する。
【選択図】図1
特許請求の範囲
【請求項1】
前面壁、上面壁、両側面壁を有し、前記前面壁の上半部分に挟持部を設けて中央部から内部へ一文字状のスリットを貫設し、且つ前記前面壁の内面にプレートを密着させると共に、前記前面壁の低部から前記スリット間にねじ孔を設けてなる平面視矩形の本体と、
L字状に屈曲させた帯状鉄板の短手方向を挟持部とし、長手方向をストレートの挿入部として前記スリットに挿入するL字金具と、
長方形厚板の先端部及び後端部を側面視半円形に形成し、前記先端部の半円形中心部に軸通孔を横貫し、前記軸通孔に近接し貫設した段差穴に磁石を嵌入し、且つ前記後端部に設けたU字溝に滑り止めを嵌着して、前記本体内に回動自在に軸着するリフト脚と、
前記L字金具の挟持部及び前記前面壁の挟持部に対向して貼着する両面テープと、
前記ねじ孔に螺入して前記L字金具を固定する止めネジと、
を備え構成されていることを特徴とするワイパーゴム性能保持具。
続きを表示(約 220 文字)
【請求項2】
前記L字金具及び前記磁石との係合によるリフト脚の跳ね上げ手段と、前記磁石及び前記プレートとの係合によるリフト脚のロック手段と、を備えていることを特徴とする請求項1記載のワイパーゴム性能保持具。
【請求項3】
前記本体を前記ブレードに固定する手段として、前記L字金具の挟持部及び前記前面壁の挟持部に前記両面テープを介して、前記ブレードを挟持していることを特徴とする請求項2記載のワイパーゴム性能保持具。
発明の詳細な説明
【技術分野】
【0001】
本発明は、自動車のワイパーをフロントガラス面から浮上させて、常時圧接状態にあるワイパーゴムの払拭性能を保持するワイパーゴム性能保持具に関するものである。
続きを表示(約 2,100 文字)
【背景技術】
【0002】
埃舞う工事現場や地方部で農林業に携わる車両等には、ワイパーとフロントガラス間に砂塵が溜まり易く、その砂塵の点検や清掃を怠るとワイパーゴムの早期交換を余儀なくされ、叉、摩耗したワイパーゴムの交換を先送りしていると、降雨時運転の安全性が危惧されるなどの問題点があった。そうした状況下にあって、降雨時に鮮明な視界を確保したいドライバーは、払拭性能の低下したワイパーゴムを早めに交換したり、降車する際にワイパーを立てるなどの対策をしている。
【0003】
そこで、このような問題を解決すべく、ワイパーのアームとフロントガラス面の下部に装置を分散装着し、相互を係合させてワイパーをフロントガラス面から浮上させ、ワイパーゴムの劣化を防止するワイパー休止装置が特許文献1に開示されている。また、同じくワイパーのアームに装着して非使用時のワイパーを持ち上げ、そのワイパーを磁石の反発力を利用してフロントガラス面に戻す機構を設け、ワイパーの払拭寿命を延ばすとしたワイパー持ち上げ器が特許文献2に開示されている。現在、僅かではあるがワイパーの持ち上げ装置として、通販のワイパースタンド(商品名)が知られている。
【先行技術文献】
【特許文献】
【0004】
特開2010-64659号
実登第3128823号
【発明の概要】
【発明が解決しようとする課題】
【0005】
しかしながら、特許文献1又は文献2に開示されているワイパーを持ち上げる装置は、何れもワイパーのアームに装着する方式で、そのアームの形状がメーカーや車種によって異なるため、アームへの装着が限定されるなどの問題点があった。他方、電動方式でワイパーを持ち上げる考案等も提案されてはいるが、電動式は配線を要し取付の手間やコスト高となるため、例えば、実用可能となっても既製車両のワイパーに後付けするにはコスパが悪く非現実的とされ、現存するワイパースタンドにおいても普及に至っていない。
【0006】
現在、国内の既製車両に装備されているワイパーの凡そ7割程がトーナメント式ブレードと推定され、主にトラックや作業車又は商用車や軽トラック等にこのトーナメント式ブレードが多く装備されている。ところがトーナメント式ブレードは、ジョイント部分が多く持ち上げ装置を装着するのは困難とされ、アームへの装着が選択されていた。
【0007】
本発明は、前述したトーナメント式ブレードに直に装着して、非使用時のブレードを1~2秒の手動操作でフロントガラス面から浮上させ、運転開始時の煩わしい砂塵の点検や清掃などからドライバーを解放するとともに、ワイパーゴムの払拭性能を保持することにより、降雨毎にクリアな視界を長期間得られるワイパーゴム性能保持具の提供を目的としたものである。
【課題を解決するための手段】
【0008】
前面壁、上面壁、両側面壁を有し、前記前面壁の上半部分に挟持部を設けて中央部から内部へ一文字状のスリットを貫設し、且つ前記前面壁の内面にプレートを密着させるとともに、前記前面壁の低部から前記スリット間にねじ孔を設けてなる平面視矩形の本体と、L字状に屈曲させた帯状鉄板の短手方向を挟持部とし、長手方向をストレートの挿入部として前記スリットに挿入するL字金具と、長方形厚板の先端部及び後端部を側面視半円形に形成し、前記先端部の半円形中心部に軸通孔を横貫し、前記軸通孔に近接し貫設した段差穴に磁石を嵌入し、且つ前記後端部に設けたU字溝に滑り止めを嵌着して、前記本体内に回動自在に軸着するリフト脚と、前記L字金具の挟持部及び前記前面壁の挟持部に対向して貼着する両面テープと、前記ねじ孔に螺入して前記L字金具を固定する止めネジと、を備えてワイパーゴム性能保持具を構成しワイパーのブレードに装着する。
【発明の効果】
【0009】
本発明は、自動車のワイパーブレードに装着してブレードを浮上させることにより、フロントガラスとワイパーゴム間に溜まる砂塵をスルーさせ、面倒な砂塵の点検や清掃等の負担からドライバーを解放できる。また、ワイパーゴムの払拭性能が保持され、降雨毎にフロントガラス面がクリアに払拭されることにより、降雨時の鮮明な視界確保とメンテナンスの一部が軽減されて従来よりも快適に運転することができる。
【図面の簡単な説明】
【0010】
本発明の全体を示す拡大斜視図である。
本発明を装着するトーナメント式ブレードの全体を示す斜視図である。
本発明のリフト脚を起立させた状態を示す拡大断面図である。
挟持したトーナメント式ブレードのH-H断面図及びトーナメント式ブレードを浮上させた状態を示す本発明の側面図である。
本発明のリフト脚の跳ね上げ手段及びリフト脚のロック手段を示す要部拡大断面図である。
本発明の本体を示す拡大背面図である。
本発明のリフト脚を示す拡大背面図である。
【発明を実施するための形態】
(【0011】以降は省略されています)
この特許をJ-PlatPat(特許庁公式サイト)で参照する
関連特許
個人
タイヤレバー
3か月前
個人
前輪キャスター
2か月前
個人
上部一体型自動車
1か月前
個人
タイヤ脱落防止構造
2か月前
個人
空間形成装置
4日前
個人
ルーフ付きトライク
2か月前
日本精機株式会社
表示装置
3か月前
個人
マスタシリンダ
1か月前
日本精機株式会社
表示装置
3か月前
日本精機株式会社
表示装置
2か月前
日本精機株式会社
表示装置
3か月前
個人
常設収納型サンバイザー
10日前
株式会社ニフコ
照明装置
2か月前
日本精機株式会社
車載表示装置
12日前
日本精機株式会社
車室演出装置
2か月前
日本精機株式会社
車載表示装置
7日前
株式会社豊田自動織機
産業車両
3か月前
日本精機株式会社
車載表示装置
1か月前
日本精機株式会社
画像投映装置
27日前
日本精機株式会社
車載表示装置
5日前
個人
回転窓ワイパー装置
4日前
株式会社ニフコ
収納装置
1か月前
日本精機株式会社
車両用報知装置
11日前
極東開発工業株式会社
車両
3か月前
井関農機株式会社
作業車両
1か月前
日本精機株式会社
車両用表示装置
27日前
株式会社SUBARU
車両
25日前
日本精機株式会社
車両用表示装置
2か月前
日本精機株式会社
車両用投射装置
1か月前
日本精機株式会社
車両用投影装置
1か月前
個人
音による速度計とプログラム
10日前
スズキ株式会社
運転支援装置
2か月前
個人
自動車の非常ブレーキアシスト
2か月前
日本化薬株式会社
ガス発生器
1か月前
帝人株式会社
衝撃吸収構造体
2か月前
日産自動車株式会社
伝動部材
1か月前
続きを見る
他の特許を見る