TOP
|
特許
|
意匠
|
商標
特許ウォッチ
Twitter
他の特許を見る
公開番号
2025160838
公報種別
公開特許公報(A)
公開日
2025-10-23
出願番号
2024063665
出願日
2024-04-10
発明の名称
車体前部構造
出願人
株式会社SUBARU
代理人
個人
主分類
B60R
21/38 20110101AFI20251016BHJP(車両一般)
要約
【課題】車両前側から歩行者等との衝突が発生したときに、歩行者等への負担を軽減させる。
【解決手段】車両前側を持ち上げることによって開閉可能とさせるとともに車両上下方向に向かって昇降可能とさせるフロントフード開閉部20が設けられているフロントフード部10と、車両前後方向を向いている回転軸ORを有する収納蓋部220を有し、車幅方向内側は開口されているフロントエアバッグ収納部200と、フロントエアバッグ収納部200に収納され、車両前側から衝突が発生したときに、フロントフード部10の車両下側に膨張展開するフロントエアバッグ300と、車両前側から衝突が発生したときに、フロントエアバッグ300にガスを供給するインフレータIFと、を備え、フロントエアバッグ300は、少なくとも、インフレータIFからガスが供給される球形状を有する第1気室310と、第1気室310の車両後側に気室を連通させて結合している円柱形状を有する第2気室320と、を備えている。
【選択図】図2
特許請求の範囲
【請求項1】
車両におけるキャビンの車両前側に設けられ、車両前側を持ち上げることによって開閉可能とさせるとともに車両上下方向に向かって昇降可能とさせる開閉部が設けられているフロントフード部と、
前記開閉部の車両下側に設けられ、車両上側には車両前後方向を向いている回転軸を有する収納蓋を有し、車幅方向内側が開口されているフロントエアバッグ収納部と、
前記フロントエアバッグ収納部に収納され、車両前側から衝突が発生したときに、前記フロントフード部の車両下側に膨張展開するフロントエアバッグと、
車両前側から衝突が発生したときに、前記フロントエアバッグにガスを供給するインフレータと、
を備え、
前記フロントエアバッグは、少なくとも、
前記インフレータからガスが供給される球形状を有する第1の気室と、
前記第1の気室の車両後側に気室を連通させて結合している円柱形状を有する第2の気室と、
を備えていることを特徴とする車体前部構造。
続きを表示(約 130 文字)
【請求項2】
前記フロントエアバッグにおける前記第1の気室と前記第2の気室とを連通させている接合部は、前記フロントエアバッグ収納部に収納されているときには、前記フロントエアバッグ収納部の車幅方向外側面と当接していることを特徴とする請求項1に記載の車体前部構造。
発明の詳細な説明
【技術分野】
【0001】
本発明は、車体前部構造に関する。
続きを表示(約 1,900 文字)
【背景技術】
【0002】
車両前側において歩行者あるいは自転車乗員(以下、歩行者等と記載)と衝突が発生したときに、歩行者等は、フロントフードの車両上側に倒れ込む場合がある。
そのため、車体前部構造においては、フロントフードに歩行者等が倒れ込んだときにフロントフードから歩行者等へ与える衝撃を緩和させる必要がある。
【0003】
上記に記載の課題に対応する技術として、フロントフードにおける後部移動機構は、車体前部に設けられたフロントフードの後端部がヒンジで車体側に開閉可能に支持され、フロントフードがアクチュエータによって持ち上げられる。ヒンジに備えるアッパーヒンジに回転可能にポップアップリンクの後端部が連結され、ポップアップリンクの前端部に回転可能にフードが連結され、アクチュエータは、アッパーヒンジとフードとに渡されているフードポップアップ構造に関する技術が開示されている(例えば、特許文献1参照)。
【先行技術文献】
【特許文献】
【0004】
特開2020-147074号公報
【発明の概要】
【発明が解決しようとする課題】
【0005】
特許文献1に記載の技術におけるフードポップアップ構造は、車両が歩行者等と衝突した際にフードの後端側を持ち上げて衝突体をフードで受け止めることによって、歩行者等への衝撃を緩和させている。
【0006】
しかしながら、上記技術においては、持ち上げられたフロントフードの上に歩行者等が乗り上げたときに、歩行者等がフロントフードの上を移動することによって車両のAピラーに干渉する虞があるという課題があった。
【0007】
そこで、本発明は上述の課題に鑑みてなされたものであり、車両前側から歩行者等との衝突が発生したときに、歩行者等への負担を軽減させる車体前部構造を提供することを目的とする。
【課題を解決するための手段】
【0008】
本発明の1またはそれ以上の実施形態は、車両におけるキャビンの車両前側に設けられ、車両前側を持ち上げることによって開閉可能とさせるとともに車両上下方向に向かって昇降可能とさせる開閉部が設けられているフロントフード部と、前記開閉部の車両下側に設けられ、車両上側には車両前後方向を向いている回転軸を有する収納蓋を有し、車幅方向内側は開口されているフロントエアバッグ収納部と、前記フロントエアバッグ収納部に収納され、車両前側から衝突が発生したときに、前記フロントフード部の車両下側に膨張展開するフロントエアバッグと、車両前側から衝突が発生したときに、前記フロントエアバッグにガスを供給するインフレータと、を備え、前記フロントエアバッグは、少なくとも、前記インフレータからガスが供給される球形状を有する第1の気室と、前記第1の気室の車両後側に気室を連通させて結合している円柱形状を有する第2の気室と、を備えている車体前部構造を提案している。
【発明の効果】
【0009】
本発明の1またはそれ以上の実施形態によれば、車両前側から歩行者等との衝突が発生したときに、歩行者等への負担を軽減させることができる。
【図面の簡単な説明】
【0010】
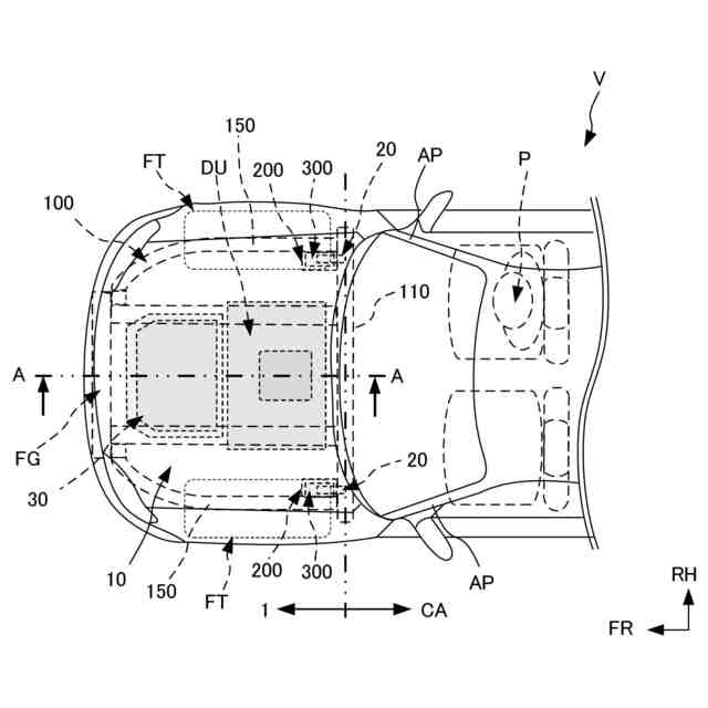
本発明の実施形態に係る車体前部構造を車両上側から見た概要図である。
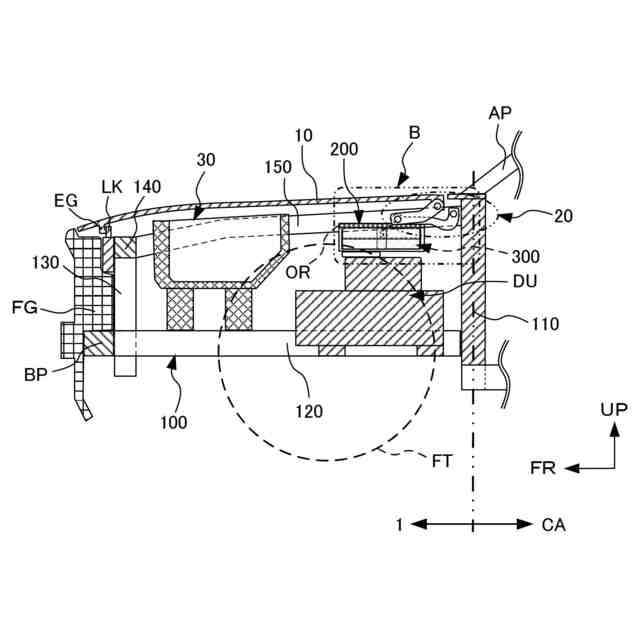
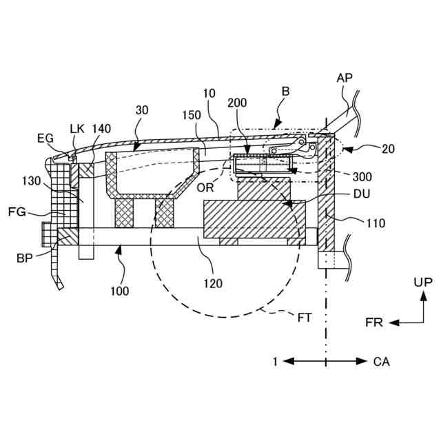
本発明の実施形態に係る車体前部構造におけるフロントフードが閉じられた状態を、図1に示す矢印方向から見たA-A線に沿う断面図である。
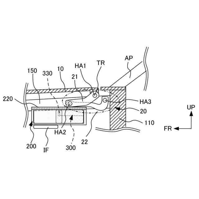
本発明の実施形態に係る車体前部構造のフロントフード開閉部において図2に示すB部を拡大した断面図である。
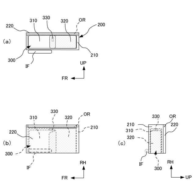
本発明の実施形態に係る車体前部構造のフロントエアバッグ収納部を示す図であり、(a)は車幅方向内側から見た側面図であり、(b)は車両上側から見た平面図であり、(c)は車両進行方向側から見た正面図である。
本発明の実施形態に係る車体前部構造のフロントエアバッグ部を示した図であり、(a)はフロントエアバッグ収納部に収納された状態を示す断面図であり、(b)はフロントエアバッグ部が膨張展開した状態を示す断面図である。
本発明の実施形態に係る車体前部構造において、車両進行方向側から歩行者等が衝突したときの車体前部構造の動きを(a)~(b)の順に時系列で示した断面図である。
本発明の実施形態に係る車体前部構造において、車両進行方向側から歩行者等が衝突したときのフロントエアバッグ部が膨張展開した状態を示す車両上側から見た概要図である。
【発明を実施するための形態】
(【0011】以降は省略されています)
この特許をJ-PlatPat(特許庁公式サイト)で参照する
関連特許
株式会社SUBARU
車両
18日前
株式会社SUBARU
車両
1か月前
株式会社SUBARU
運転支援装置
18日前
株式会社SUBARU
車体前部構造
25日前
株式会社SUBARU
整流システム
21日前
株式会社SUBARU
車体前部構造
25日前
株式会社SUBARU
車両前部構造
12日前
株式会社SUBARU
車両前部構造
12日前
株式会社SUBARU
車両前部構造
12日前
株式会社SUBARU
車両前部構造
12日前
株式会社SUBARU
車体前部構造
11日前
株式会社SUBARU
車体前部構造
11日前
株式会社SUBARU
操作システム
10日前
株式会社SUBARU
車体前部構造
25日前
株式会社SUBARU
電動式全輪駆動車
1か月前
株式会社SUBARU
エンジン制御装置
10日前
株式会社SUBARU
ドアロック制御装置
11日前
株式会社SUBARU
車両の降車補助装置
1か月前
株式会社SUBARU
車両用周辺監視装置
25日前
株式会社SUBARU
電波吸収体の製造方法
3日前
株式会社SUBARU
車両の車高自動調整装置
27日前
株式会社SUBARU
運転補助装置および車両
18日前
株式会社SUBARU
運転支援装置および車両
1か月前
株式会社SUBARU
カーテンエアバッグ装置
13日前
株式会社SUBARU
車体構造部材の結合構造
1か月前
株式会社SUBARU
乗物用遮音構造体、及び車両
1か月前
株式会社SUBARU
フロントピラートリムの取付構造
3日前
株式会社SUBARU
車両および車両用忘れ物防止システム
18日前
テイ・エス テック株式会社
乗物用シート
10日前
個人
タイヤレバー
3か月前
個人
前輪キャスター
2か月前
個人
上部一体型自動車
1か月前
個人
ホイルのボルト締結
4か月前
個人
ルーフ付きトライク
3か月前
個人
空間形成装置
18日前
個人
タイヤ脱落防止構造
2か月前
続きを見る
他の特許を見る