TOP
|
特許
|
意匠
|
商標
特許ウォッチ
Twitter
他の特許を見る
公開番号
2025177439
公報種別
公開特許公報(A)
公開日
2025-12-05
出願番号
2024084281
出願日
2024-05-23
発明の名称
インシュレータ
出願人
株式会社SUBARU
代理人
個人
主分類
F16L
58/00 20060101AFI20251128BHJP(機械要素または単位;機械または装置の効果的機能を生じ維持するための一般的手段)
要約
【課題】吸音性能及び防振性能を担保しながら、配管に錆が発生することを抑制することができるインシュレータを提供する。
【解決手段】連続気泡構造を有する発泡樹脂で形成され、配管20の外周面20aを覆う様に前記配管20に装着されるカバー部12と、該カバー部12の前記配管20の外周面20aと対向する表面から突出し、前記配管20への装着状態で前記配管20の外周面20aに接触する先端部17が非吸水性を有し、水が下方へ流れることを許容する配置及び形状を有する複数の突起部16と、前記配管20への装着状態で前記カバー部12の下方側となる領域に設けられた排水用の開口部14と、を備えたインシュレータ10。
【選択図】図1
特許請求の範囲
【請求項1】
連続気泡構造を有する発泡樹脂で形成され、配管の外周面を覆う様に前記配管に装着されるカバー部と、
該カバー部の前記配管の外周面と対向する表面から突出し、前記配管への装着状態で前記配管の外周面に接触する先端部が非吸水性を有し、水が下方へ流れることを許容する配置及び形状を有する複数の突起部と、
前記配管への装着状態で前記カバー部の下方側となる領域に設けられた排水用の開口部と、
を備えたことを特徴とするインシュレータ。
続きを表示(約 380 文字)
【請求項2】
前記複数の突起部は、前記カバー部の前記配管の外周面と対向する表面に点在することを特徴とする請求項1に記載のインシュレータ。
【請求項3】
前記カバー部は、略水平方向に延びる前記配管に装着され、
前記複数の突起部は、前記配管の周方向に延びる線状に形成されており、前記配管の長さ方向に間隔をおいて配置されることを特徴とする請求項1に記載のインシュレータ。
【請求項4】
前記突起部の前記非吸水性を有する前記先端部は、独立気泡構造を有する発泡樹脂又は圧縮加工された発泡樹脂で形成されていることを特徴とする請求項1又は2に記載のインシュレータ。
【請求項5】
前記開口部は、前記配管への装着状態で、前記配管の長さ方向に延びる開口として形成されたことを特徴とする請求項1又は2に記載のインシュレータ。
発明の詳細な説明
【技術分野】
【0001】
本発明は、インシュレータに関し、特に、防音及び防振のために配管に用いられるインシュレータに関する。
続きを表示(約 1,600 文字)
【背景技術】
【0002】
自動車等の車両において、燃料配管や排気配管等の配管は、防音や防振のためにインシュレータによって覆われている。インシュレータとしては、特許文献1に記載されているように、一般に連続気泡構造を有するウレタン樹脂が多用されており、連続気泡内で音のエネルギーが吸収されることにより、配管から生じる音を吸収している。また、車両の揺れに伴って配管に振動が発生した際には、配管の外周面に接触するインシュレータが、振動エネルギーを吸収することによって配管の振動を抑制している。
【先行技術文献】
【特許文献】
【0003】
特開第2016-188586号公報
【発明の概要】
【発明が解決しようとする課題】
【0004】
車両のエンジン房内に配置される配管等、雨水に晒されるおそれのある配管に使用されるインシュレータは、配管の表面が、長い時間の間、水に晒されて配管に錆が発生することを防止するために、インシュレータの表面に撥水加工が施されている。
【0005】
しかしながら、長時間の使用によりインシュレータの表面に施された撥水層が劣化すると、インシュレータの内部に水が浸入してしまう。撥水層が劣化したインシュレータは、内部の連続気泡内に水が保持された状態となり、この状態が長時間持続されると、配管の表面が水に長時間晒された状態となって、配管の腐食が促進されてしまうという問題がある。
【0006】
本発明は、上記課題に鑑みてなされたものであり、吸音性能及び防振性能を担保しながら、配管に錆が発生することを抑制することができるインシュレータを提供することを目的とする。
【課題を解決するための手段】
【0007】
上記目的を達成するために、本発明の一実施形態のインシュレータは、連続気泡構造を有する発泡樹脂で形成され、配管の外周面を覆う様に前記配管に装着されるカバー部と、該カバー部の前記配管の外周面と対向する表面から突出し、前記配管への装着状態で前記配管の外周面に接触する先端部が非吸水性を有し、水が下方へ流れることを許容する配置及び形状を有する複数の突起部と、前記配管への装着状態で前記カバー部の下方側となる領域に設けられた排水用の開口部と、を備えたことを特徴とする。
【発明の効果】
【0008】
本発明に係るインシュレータによれば、吸音性能及び防振性能を担保しながら、配管に錆が発生することを抑制することができる。
【図面の簡単な説明】
【0009】
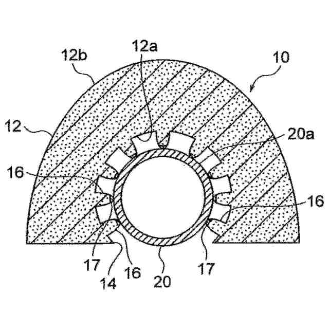
本発明の一実施形態であるインシュレータ10を配管に装着した状態を示す説明図である。
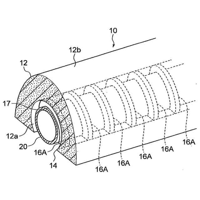
配管に装着されたインシュレータを説明するための模式的斜視図である。
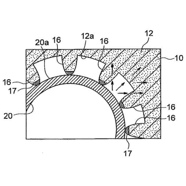
配管に装着されたインシュレータを説明するための模式的断面図である。
配管に付着した水が流れる様子を説明する模式的斜視図である。
配管から生じた音が減衰する様子を説明する模式的断面図である。
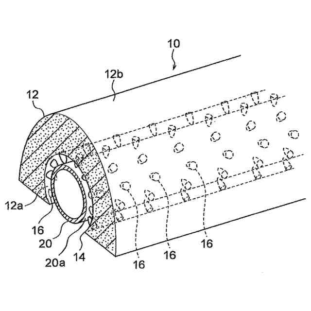
インシュレータの他の実施形態を示す模式的斜視図である。
【発明を実施するための形態】
【0010】
図1は、本発明の一実施形態であるインシュレータ10を配管20に装着した状態を示す説明図である。図1では、インシュレータ10及び配管20の状態を理解しやすいように、設置状態で、鉛直方向の下方側となる面を上方に向けた状態を示している。図2及び図3に示すように、配管20及びインシュレータ10を設置した状態では、インシュレータ10に設けられた後述する開口部14が、略鉛直方向下方側を向いて開口している。
(【0011】以降は省略されています)
この特許をJ-PlatPat(特許庁公式サイト)で参照する
関連特許
株式会社SUBARU
車両
1か月前
株式会社SUBARU
車両
10日前
株式会社SUBARU
車両
9日前
株式会社SUBARU
車両
9日前
株式会社SUBARU
弁装置
2日前
株式会社SUBARU
車両前部構造
1か月前
株式会社SUBARU
車両前部構造
1か月前
株式会社SUBARU
車両前部構造
1か月前
株式会社SUBARU
車両前部構造
1か月前
株式会社SUBARU
車体前部構造
1か月前
株式会社SUBARU
車体前部構造
1か月前
株式会社SUBARU
運転支援装置
1か月前
株式会社SUBARU
操作システム
1か月前
株式会社SUBARU
車体前部構造
1か月前
株式会社SUBARU
車体前部構造
1か月前
株式会社SUBARU
車両用シート
17日前
株式会社SUBARU
車両用シート
17日前
株式会社SUBARU
車両用シート
17日前
株式会社SUBARU
整流システム
1か月前
株式会社SUBARU
車体前部構造
1か月前
株式会社SUBARU
操舵支援装置
10日前
株式会社SUBARU
車両前部構造
2日前
株式会社SUBARU
車両前部構造
2日前
株式会社SUBARU
加湿システム
9日前
株式会社SUBARU
排気浄化装置
9日前
株式会社SUBARU
情報処理装置
2日前
株式会社SUBARU
インシュレータ
2日前
株式会社SUBARU
シフト制御装置
17日前
株式会社SUBARU
エンジン制御装置
1か月前
株式会社SUBARU
電動式全輪駆動車
1か月前
株式会社SUBARU
車両用電池パック
17日前
株式会社SUBARU
ドアロック制御装置
1か月前
株式会社SUBARU
車両用空力制御装置
10日前
株式会社SUBARU
液体封入式マウント
3日前
株式会社SUBARU
車両の降車補助装置
1か月前
株式会社SUBARU
ドアロックシステム
9日前
続きを見る
他の特許を見る